GM Service Manual Online
For 1990-2009 cars only

SIR Diagnostic System Check Table

Perform the SIR Diagnostic System Check

  1. The "SIR Diagnostic System Check" must be the starting point of any SIR Diagnostics. The "SIR Diagnostic System Check" checks for the proper AIR Bag telltale lamp operation, the ability of the SDM to communicate through the serial data line, and whether any SIR DTCs exist.
  2. Refer to the proper diagnostic chart as directed by the "SIR Diagnostic System Check" will lead you to the correct chart to diagnose any SIR faults.
  3. Repeat the "SIR Diagnostic System Check" after any repair or diagnostic procedures have been performed. Performing the "SIR Diagnostic System Check" after all repair or diagnostic procedures will ensure that the repair has been made correctly and that no other malfunctions exist.

Circuit Description

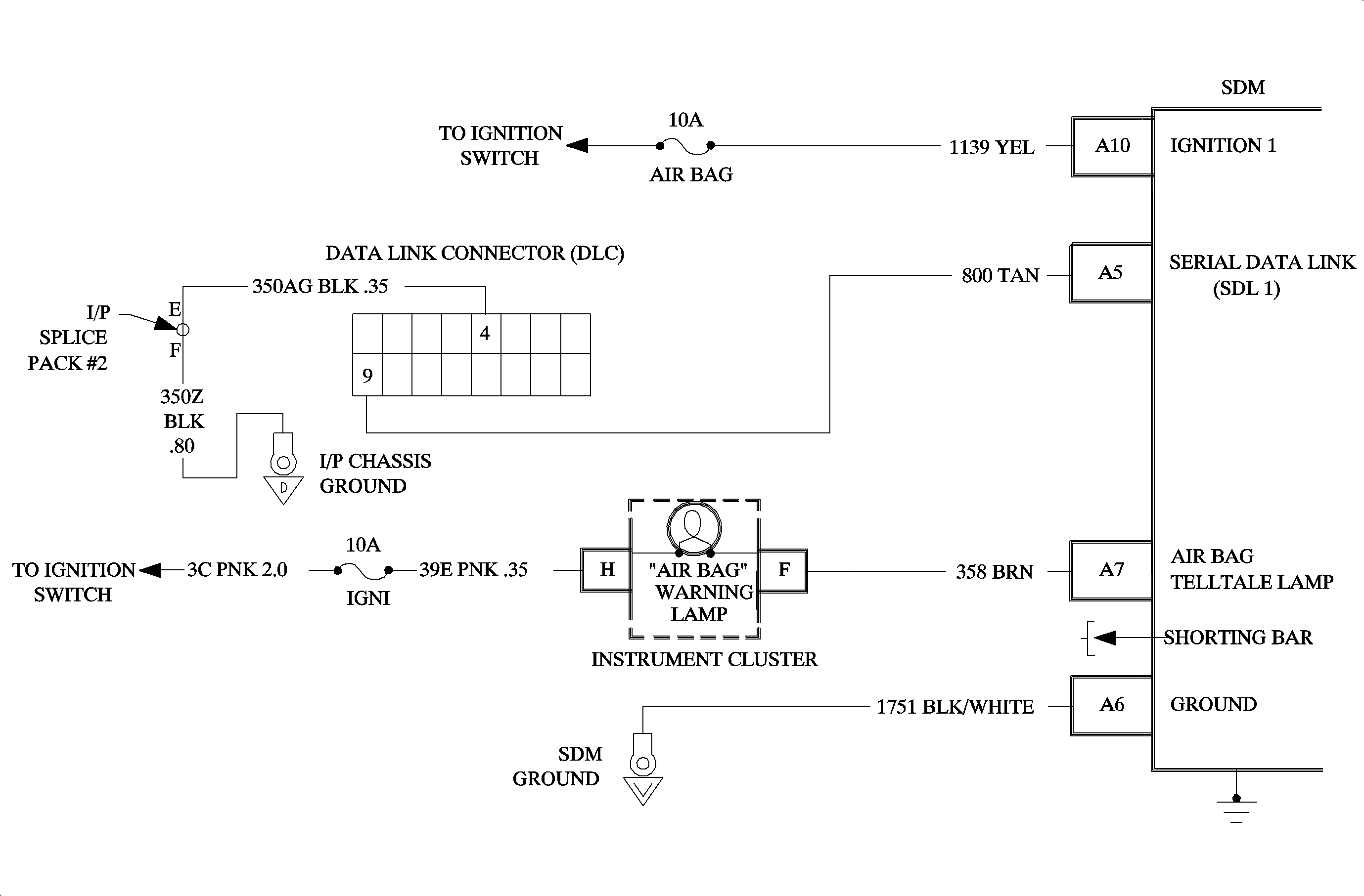
When the ignition switch is first turned "On," system voltage is applied from the AIR BAG fuse to the SDM at the "IGN 1" terminal "A1." The SDM responds by flashing the AIR BAG telltale lamp seven times while performing tests on the SIR system. System voltage is also applied from the "IGN 1" fuse through the cluster at the "IGN 1" terminals "H" and "F" to the SDM at the AIRBAG input at terminal "A9." The SDM responds by grounding the AIRBAG output and flashes the AIR BAG telltale lamp.

Diagnostic Aids

The order in which diagnostic trouble codes (DTCs) are diagnosed is very important. Failure to diagnose the DTCs in the order specified may result in extended diagnostic time, incorrect diagnosis, and incorrect parts replacement.

Current Codes

Current DTCs indicate faults that were present since the last ignition cycle. Current codes can be viewed on the Scan tool.

History Codes

History DTCs indicate faults that may not be currently detected, but have been present in past ignition cycles. History codes can be viewed on the Scan tool in the history DTC table. History Codes B0051, B0053, or B1000, cannot be cleared from the SDM.

Intermittent Codes

If a fault occurs intermittently, the first occurrence will result in a stored history DTC. If the same fault occurs twice within 125 ignition cycles, the AIR BAG telltale will be turned On and will remain On until the vehicle is serviced. The second occurrence fault will be stored as a current DTC.

SIR Diagnostic System Check

Step

Action

Yes

No

1

Note AIR BAG telltale lamp as ignition switch is turned On.

Does the AIR BAG telltale lamp flash seven times?

Go to Step 3

Go to Step 2

2

Does AIR BAG telltale lamp come on steady?

Go to Chart B

Go to Chart C

3

Note AIR BAG telltale lamp after it flashes seven times.

Does AIR BAG telltale lamp go Off?

Go to Step 7

Go to Step 4

4

  1. Connect scan tool to DLC.
  2. Ignition On.
  3. Request SIR current DTCs.

Does the Scan tool power up and communicate with the SDM?

Go to Step 5

Go to Chart D

5

Request SIR history DTC

Record DTCs on repair order, note as current or history.

Is DTC B0051 set?

Go to B0051 Chart

Go to Step 6

6

Were other current DTC set?

Go to that DTC chart

Go to Step 7

7

  1. Connect scan tool to DLC.
  2. Ignition On.
  3. Request SIR current DTCs.

Is a history DTC displayed?

Go to Diagnostic Aids in DTC Chart

Go to Step 8

8

Does the Scan tool indicate no data received?

Go to Chart D

System OK

SIR Diagnostic System Check Chart A

SDM Integrity Check


Object Number: 1207173  Size: MF

Caution: Be careful when you handle a sensing and diagnostic module (SDM). Do not strike or jolt the SDM. Before applying power to the SDM:

   • Remove any dirt, grease, etc. From the mounting surface.
   • Position the SDM horizontally on the mounting surface.
   • Tighten all of the SDM fasteners and SDM bracket fasteners to the specified torque value.
Failure to follow the correct procedures could cause air bag deployment, personal injury, or unnecessary SIR system repairs.

This chart assumes that the "SIR Diagnostic System Check" and either a symptom chart or a diagnostic trouble code chart diagnosis have been performed. When all circuitry outside the SDM has been found to operate properly, as indicated by the appropriate diagnostic chart, and the symptom or DTC remains current, the following diagnostic procedures must be performed to verify the need for SDM replacement.

Circuit Description

When the SDM recognizes Ignition 1 voltage, applied to terminal A10 is greater than approximately 9 volts, the AIR BAG telltale lamp is flashed seven times to verify operation. During this time the SDM performs "turn-on" tests (including current source diagnostics) followed by "continuous monitoring" tests. When a malfunction is detected the SDM sets an active diagnostic trouble code and illuminates the AIR BAG telltale lamp. At power-up with the existing current DTC code, the AIR BAG telltale lamp will flash more than seven times and then remain on steady. The SDM will clear active diagnostic trouble codes and move them to a history file when a malfunction is no longer detected and/or the ignition switch is cycled, except for DTC B1018, B1024, B1051, B1053, and B1071. If any of these DTCs are set, the SDM must be replaced.

Test Description

The numbers below refer to the step numbers on the diagnostic table.

  1. This step verifies that the fault is still occurring.

  2. This step verifies that the trouble codes have not changed.

  3. This step checks if codes reset after being cleared.

Step

Action

Yes

No

1

Did you perform the SIR diagnostic system check?

Go to Step 2

Go to SIR Diagnostic System Check

2

  1. Turn the ignition switch OFF.
  2. Reconnect all the SIR system components. Ensure all components are properly mounted.
  3. Ensure the ignition switch has been OFF for at least 30 seconds.
  4. Note the AIR BAG telltale lamp as the ignition switch is turned ON.

Does the AIR BAG telltale lamp flash seven times then go off?

Go to Step 4

Go to Step 3

3

Using a scan tool, request the diagnostic trouble code display.

Is the same symptom or DTC occurring as when the SIR diagnostic system check was first performed?

Go to Step 5

Go to Step 6

4

    • The symptom or DTC is no longer occurring.
    • Clear the SIR diagnostic trouble codes.
    • Repeat the SIR diagnostic system check.

--

--

5

  1. Clear the SIR diagnostic trouble codes.
  2. Turn the ignition switch OFF for at least 30 seconds.
  3. Note the AIR BAG telltale lamp as the ignition switch is turned ON.

Does the AIR BAG telltale lamp flash seven times and then go OFF?

Go to Step 7

Go to Step 8

6

    • Turn the ignition switch OFF.
    • Go to the appropriate chart for the indicated malfunction.

--

--

7

The SIR system is functional and free of malfunctions. No further diagnosis is required.

--

--

8

  1. Turn the ignition switch OFF.
  2. Replace the SDM. Refer to Inflatable Restraint Sensing and Diagnostic Module Replacement .
  3. Reconnect all SIR system components. Ensure all components are properly mounted.
  4. Repeat the SIR Diagnostic System Check.

--

--

SIR Diagnostic System Check Chart B


Object Number: 1207173  Size: MF

Circuit Description

When the ignition switch is first turned On, "Ignition 1" voltage is applied to the AIR BAG telltale lamp which is connected to the "AIR BAG" terminal A7 of the SDM. The AIR BAG fuse applies system voltage to the "Ignition 1" input terminal A10 of the SDM. The SDM responds by flashing the AIR BAG telltale lamp seven times by providing a ground. If "Ignition 1" is outside the normal operating voltage range (approximately 9 VDC to 16 VDC), the AIR BAG telltale lamp will come On solid with no diagnostic trouble code set.

Diagnostic AIDS

A shorting bar in the harness at the SDM ensures that the AIR BAG telltale lamp will come On steady if the connector is not fully seated.

If the SDM harness connector, strain relief or the CPA are installed incorrectly or not installed the "AIR BAG" telltale lamp will be on steady.

Test Description

The numbers below refer to the step numbers on the diagnostic table.

  1. This step verifies the AIR BAG fuse.

  2. This step verifies that the shorting bar at terminals A7 and A6 is open when the connector and CPA are fully engaged at the SDM.

  3. This step checks to see if the AIR BAG fuse will open again.

  4. This step checks to see if the malfunction is due to the starting and charging system or the SIR system.

  5. This step checks for terminal tightness and continuity to ground from the SDM.

  6. This step check to see if the air bag fuse will open again.

  7. This step verifies that the ignition voltage is present at the SDM.

  8. This step verifies that the AIR BAG warning lamp does not turn On with the shorting bar at the SDM harness connector.

Step

Action

Yes

No

1

Did you perform the Diagnostic System Check - SIR?

Go to Step 2

Go to SIR Diagnostic System Check

2

  1. Turn OFF the ignition.
  2. Remove and inspect AIR BAG fuse.

Is fuse good?

Go to Step 3

Go to Step 4

3

Inspect the SDM harness connector.

Is the connector and yellow strain relief securely connected to the SDM?

Go to Step 5

Go to Step 6

4

  1. Replace AIR BAG fuse.
  2. Turn ON the ignition, wait 10 seconds, turn OFF the ignition.
  3. Remove and inspect AIR BAG fuse.

Is fuse good?

Go to Step 9

Go to Step 8

5

  1. Turn ON the ignition.
  2. Disconnect the SDM.
  3. Measure voltage at terminal A10 and a known good ground.

Is voltage greater than 16 volts or less than 9 volts?

Go to "Starting and Charging" section in Engine Electrical

Go to Step 6

6

  1. Turn Off the ignition.
  2. Check for proper connection to SDM at terminal A10 and A6.
  3. If ok, then measure resistance from SDM harness connector from terminal A6 to ground.

Is resistance one ohm or less?

Go to Step 10

Go to Step 11

7

  1. Properly connect SDM harness connector to SDM.
  2. Install AIR BAG fuse.
  3. Go to Step 16

--

--

8

  1. Disconnect SDM.
  2. Replace AIR BAG fuse.
  3. Turn ON ignition, wait 10 seconds, then turn Off ignition.
  4. Remove and inspect AIR BAG fuse.

Is fuse good?

Go to Step 13

Go to Step 12

9

  1. Install AIR BAG fuse.
  2. Go to Step 16

--

--

10

  1. Install AIR BAG fuse.
  2. Disconnect driver and passenger inflator modules, yellow two-way connectors located at the base of steering column and under the instrument panel top cover.
  3. Turn On ignition.
  4. Measure voltage on SDM harness connector from terminal A10 to terminal A6 (ground).

Is voltage one volt or less?

Go to Step 14

Go to Step 15

11

  1. Repair open in circuit 1751.
  2. Reconnect SDM.
  3. Install AIR BAG fuse.
  4. Go to step 18

--

--

12

  1. Repair short to ground in circuit 1139.
  2. Reconnect SDM.
  3. Replace AIR BAG fuse.
  4. Go to Step 18

--

--

13

  1. Replace SDM
  2. Install AIR BAG fuse.
  3. Go to Step 18

--

--

14

  1. Turn Off ignition.
  2. Repair open in circuit 1139.
  3. Go to step 18

--

--

15

  1. Turn OFF ignition.
  2. Connect SIR driver/passenger load tool using SDM dummy connector to SDM harness connector.
  3. Turn On ignition.

Does AIR BAG telltale lamp come on?

Go to Step 17

Go to Step 16

16

  1. Replace SDM. Refer to Sensing and Diagnostic Module (SDM).
  2. Go to Step 17

--

--

17

  1. Repair short from circuit 358 to ground.
  2. Go to Step 17

--

--

18

  1. Reconnect all SIR system components.
  2. Ensure all components are properly mounted.
  3. Repeat SIR Diagnostic System Check.

--

--

SIR Diagnostic System Check Chart C


Object Number: 1207173  Size: MF

Circuit Description

When the ignition switch is first turned On, "Ignition 1" voltage is applied to the AIR BAG telltale lamp which is connected to the "AIR BAG" terminal A7 of the SDM. The AIR BAG fuse applies system voltage to the "Ignition 1" input terminal A10 of the SDM. The SDM responds by flashing the AIR BAG telltale lamp seven times by providing a ground. If "Ignition 1" is outside the normal operating voltage range (approximately 9 VDC to 16 VDC), the AIR BAG telltale lamp will come On solid with no diagnostic trouble code set.

Test Description

The numbers below refer to the step numbers on the diagnostic table.

  1. This step verifies the bulb check for the MIL (SERVICE ENGINE SOON telltale lamp).

  2. This step verifies that the AIR BAG telltale lamp will turn On with the shorting bar at the SDM connector engaged.

  3. This step checks verifies the IGN 1 fuse.

  4. This step verifies circuit 39E, the AIR BAG telltale bulb and circuit 358.

  5. This step checks for a short to ignition from circuit 358 or an internal SDM failure.

  6. This step checks the instrument cluster connector and the AIR BAG telltale lamp bulb.

  7. This step verifies the continuity of circuit 358.

  8. This step verifies IGN 1 fuse.

  9. This step verifies the continuity of circuit 39E.

  10. This step verifies the continuity of circuit 39E.

Step

Action

Yes

No

1

Did you perform the Diagnostic System Check - SIR?

Go to Step 2

Go to SIR Diagnostic System Check

2

  1. Turn ON the ignition.
  2. Does the MIL (SERVICE ENGINE SOON telltale lamp) indicator come On?

Go to Chart A

Go to Step 5

3

  1. Turn OFF the ignition.
  2. Disconnect SDM.
  3. Check for proper connection and terminal tightness from harness to SDM at terminal A7.
  4. If ok, turn ON the ignition.

Is AIR BAG telltale lamp ON?

Go to Chart A

Go to Step 5

4

  1. Turn OFF the ignition.
  2. Remove and inspect Ignition 1 fuse.

Is fuse good?

Go to Step 5

Go to Step 12

5

  1. Turn OFF the ignition.
  2. Remove Ignition 1 fuse.
  3. Measure resistance on SDM harness connector from terminal A7 to each terminal of the Ignition 1 fuse holder.

Is either resistance measurement less than 25 ohms?

Go to Step 7

Go to Step 8

6

  1. Remove upper trim I/P panel to access instrument cluster connector.
  2. Disconnect instrument cluster.
  3. Reconnect SDM.
  4. Ignition switch On for 20 seconds.
  5. Measure voltage on instrument cluster harness connector terminal F to ground.

Is voltage one volt or less?

Go to Chart A

Go to Step 13

7

  1. Remove upper trim I/P panel to access instrument cluster connector.
  2. Check for proper connection to instrument cluster at connector terminal F.
  3. If not ok, repair and go to Step 19
  4. If ok, then remove instrument cluster and inspect AIR BAG telltale bulb.

Is bulb good?

Go to Step 8

Go to Step 9

8

  1. Install AIR BAG telltale bulb.
  2. Measure resistance from instrument cluster harness connector terminal F to SDM harness connector terminal A7.

Is resistance five ohms or less?

Go to Step 11

Go to Step 10

9

  1. Replace AIR BAG telltale lamp.
  2. Install instrument cluster.

Go to Step 19

--

--

10

  1. Repair open in circuit 358
  2. Install instrument cluster.

Go to Step 19

--

--

11

  1. Service instrument cluster.
  2. Install instrument cluster.

Go to Step 19

--

--

12

  1. Replace Ignition 1 fuse.
  2. Turn ON ignition, wait 10 seconds, turn OFF ignition.
  3. Remove and inspect Ignition 1 fuse.

Is fuse good?

Go to Step 15

Go to Step 14

13

  1. Disconnect instrument cluster.
  2. Check for proper connection at instrument cluster harness connector terminal H.
  3. If ok, then remove Ignition 1 fuse.
  4. Measure resistance from the instrument cluster harness connector terminal H to each terminal of the Ignition 1 fuse holder.

Is either measurement five ohms or less?

Go to Step 16

Go to Step 17

14

  1. Disconnect driver and passenger inflator modules, yellow two-way connectors located at the base of the steering column under the I/P top cover.
  2. Disconnect SDM.
  3. Replace ignition 1 fuse.
  4. Turn ON ignition, wait 10 seconds.
  5. Turn OFF ignition.
  6. Remove and inspect Ignition 1 fuse.

Is fuse good?

Go to Step 19

Go to Step 18

15

  1. Install Ignition 1 fuse.
  2. Go to step 20

--

--

16

  1. Repair open in power feed to Ignition 1 fuse circuit 3C.
  2. Install Ignition 1 fuse.
  3. Go to step 20

--

--

17

  1. Repair open in circuit 39E.
  2. Install Ignition 1 fuse.
  3. Go to step 20

--

--

18

  1. Repair short-to-ground in circuit 39.
  2. Replace Ignition 1 fuse.
  3. Go to step 20

--

--

19

Install Ignition 1 fuse.

Go to Chart A

--

--

20

  1. Reconnect all SIR system components. Ensure all components are properly mounted.
  2. Repeat SIR Diagnostic System Check.

--

--

SIR Diagnostic System Check Chart D


Object Number: 1207174  Size: MF

Circuit Description

When the ignition switch is first turned ON, "Ignition 1" voltage is applied to the AIR BAG telltale lamp which is connected to the "AIR BAG" terminal A7 of the SDM. The AIR BAG fuse applies system voltage to the "Ignition 1" input terminal A10 of the SDM. The SDM responds by flashing the AIR BAG telltale lamp seven times by providing a ground. If "Ignition 1" is outside the normal operating voltage range (approximately 9 VDC to 16 VDC), the AIR BAG telltale lamp will come ON solid with no diagnostic trouble code set.

Test Description

The numbers below refer to the step numbers on the diagnostic table.

  1. This step checks to make sure the Scan tool is properly connected to the DLC.

  2. This step verifies the proper software package.

  3. This step checks for a short to ground on the Serial Data circuit.

  4. This step checks for an open in the "Serial Data" circuit.

  5. This step checks for a short to the battery, B+, on the "Serial Data" circuit.

Diagnostic Aids:

When measurements are requested in this chart, use SA 91114NEDVM with correct terminal adapter from SA 9206Z. When a check for proper connection is requested, refer to Intermittent and Poor Connections. When a wire connector or terminal repair is requested, use the proper repair parts and refer to Wiring Repairs .

Step

Action

Yes

No

1

Did you perform the Diagnostic System Check - SIR?

Go to Step 2

Go to SIR Diagnostic System Check

2

Check for proper connection of scan tool to DLC.

Is the connection good.

Go to Step 3

Go to Step 4

3

Disconnect scan tool.

Is the correct software installed in the Scan Tool?

Go to Step 5

Go to Step 6

4

Properly connect scan tool to DLC.

Repeat SIR Diagnostic System Check.

--

--

5

  1. Turn OFF the ignition.
  2. Disconnect driver and passenger inflator modules, yellow two-way connectors located at the base of the steering column and under the instrument panel top cover.
  3. Disconnect SDM.
  4. Measure resistance on SDM harness connector from terminal A6 (ground) to terminal A5.

Is resistance five ohms or less?

Go to Step 7

Go to Step 8

6

Download correct software from SSS (Service Stall System).

Repeat SIR Diagnostic System Check.

--

--

7

Repair short to ground in circuit 800.

Go to Step 12

--

--

8

Measure resistance from DLC terminal 9 to SDM harness connector terminal A 5.

Go to Step 9

Go to Step 10

9

  1. Turn ON ignition.
  2. Measure voltage on DLC from terminal 9 to terminal 4 (ground).

Is voltage six volts or less?

Go to Step 11

Go to Step 12

10

Repair open in circuit 800.

Go to Step 13

--

--

11

  1. Turn OFF ignition.
  2. Check for proper connection at DLC terminal 9 and SDM harness connector terminal A5.
  3. Repair terminals if necessary.
  4. If all connections are good, replace SDM.

Go to Step 13

--

--

12

  1. Turn OFF ignition.
  2. Repair short to battery, B+, in circuit 800.

Go to Step 13

--

--

13

  1. Make sure all components are properly mounted.
  2. Reconnect all SIR system components.
  3. Clear SIR codes.

Repeat SIR Diagnostic System Check.

--

--