GM Service Manual Online
For 1990-2009 cars only

Object Number: 1200147  Size: LF
Master Electrical Component List
Automatic Transmission Controls Schematics
OBD II Symbol Description Notice

Circuit Description

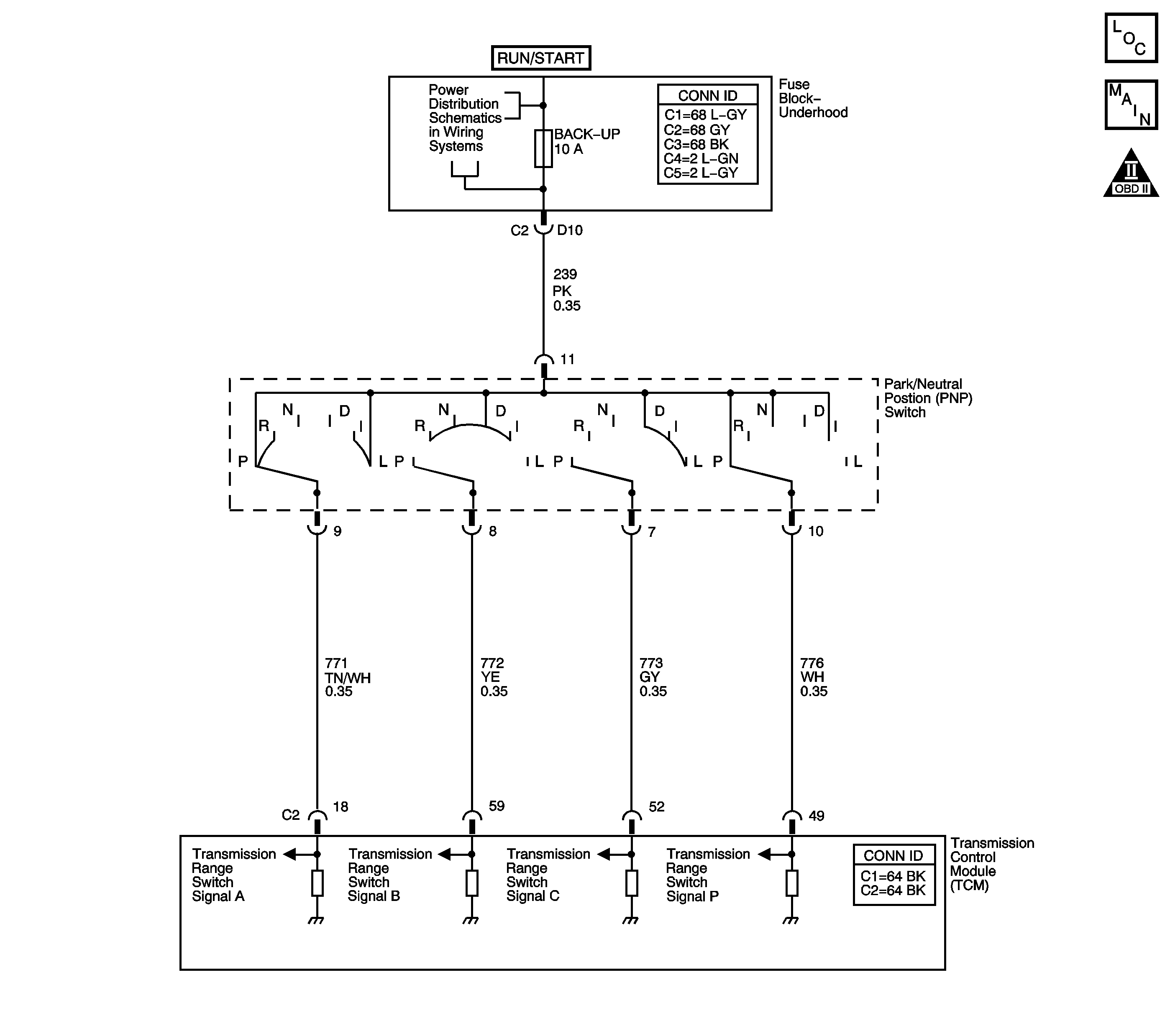
The transmission range (TR) switch is part of the park/neutral position and back-up lamp switch assembly and is mounted on the transmission manual shaft. The TR switch is a multi-signal switch. The fuse block - underhood supplies ignition voltage to the TR switch on four signal circuits, A, B, C, and P. Each gear selector lever position powers two or more of the signal circuits in a unique pattern. In order to determine the gear range selected by the driver, the TCM compares the voltage combination on the signal circuits to a TR switch combination table stored in memory. Refer to Transmission Range Switch Logic .

When the TCM detects an invalid combination of TR switch signals, DTC P0705 sets. DTC P0705 is a type B DTC.

Conditions for Running the DTC

The ignition voltage is 8-18 volts.

Conditions for Setting the DTC

The combination of TR switch signals is invalid for 5 seconds. Refer to the Transmission Range Switch Logic table.

Action Taken When the DTC Sets

    • The TCM requests the ECM to illuminate the malfunction indicator lamp (MIL) during the second consecutive trip in which the Conditions for Setting the DTC are met.
    • The TCM turns power off to the torque converter clutch pressure control solenoid valve.
    • The TCM discontinues abuse torque management.
    • The TCM defaults the selected gear range to DRIVE.
    • The ECM records the operating conditions when the Conditions for Setting the DTC are met. The ECM stores this information as Freeze Frame and Failure Records.
    • The TCM records the operating conditions when the Conditions for Setting the DTC are met. The TCM stores this information as Failure Records.
    • The TCM stores DTC P0705 in TCM history during the second consecutive trip in which the Conditions for Setting the DTC are met.

Conditions for Clearing the MIL/DTC

    • The ECM turns OFF the MIL after the third consecutive drive trip in which the TCM does not sent a MIL illumination request.
    • A scan tool can clear the MIL/DTC.
    • The TCM clears the DTC from TCM history if the vehicle completes 40 warm-up cycles without an emission related diagnostic fault occurring.
    • The TCM cancels the DTC default actions when the ignition switch is OFF long enough in order to power down the TCM.

Diagnostic Aids

    • Inspect the connectors at the TCM, the park/neutral position switch, and all other circuit connecting points for an intermittent condition. Refer to Testing for Intermittent Conditions and Poor Connections in Wiring Systems.
    • Inspect the circuit wiring for an intermittent condition. Refer to Testing for Electrical Intermittents in Wiring Systems.

Test Description

The numbers below refer to the step numbers on the diagnostic table.

  1. By disconnecting the TR switch, the voltage supply for all TR switch circuits would be removed and the TCM should recognize all circuits as open. The scan tool should display LOW for all range signals.

  2. This step tests the TR switch wiring for an open or lack of a ground path from the TCM.

  3. This step tests the TR switch wiring and the TCM by providing a voltage supply through a fused jumper wire. When voltage is applied, the scan tool range signal A should change to HI.

  4. This step tests the TR switch wiring and the TCM by providing a voltage supply through a fused jumper wire. When voltage is supplied, the scan tool range signal B should change to HI.

  5. This step tests the TR switch wiring and the TCM by providing a voltage supply through a fused jumper wire. When voltage is applied, the scan tool range signal C should change to HI.

Step

Action

Values

Yes

No

1

Did you perform the Diagnostic System Check - Engine Controls?

--

Go to Step 2

Go to Diagnostic System Check - Engine Controls in Engine Controls - 2.2L (L61)

2

  1. Install a scan tool.
  2. Turn ON the ignition, with the engine OFF.
  3. Select TR Sw. on the scan tool.
  4. With the scan tool, observe the TR Sw. display while selecting each transmission range: P, R, N, D, I, and L.

Does each selected transmission range match the scan tool TR Sw. display?

--

Go to Intermittent Conditions in Engine Controls - 2.2L (L61)

Go to Step 3

3

  1. Inspect the PNP switch assembly for the following:
  2. • Damage
    • Loose or missing mounting hardware
    • Proper adjustment
  3. Inspect the shift cable for the following:
  4. • Damaged or stretched cable
    • Proper adjustment
    • Refer to Shift Cable Replacement .

Did you find and correct a condition?

--

Go to Step 18

Go to Step 4

4

With the scan tool, observe the TR Sw. A/B/C/P display.

Does the scan tool TR Sw. A/B/C/P parameter indicate LOW for all range signal states?

--

Go to Step 13

Go to Step 5

5

  1. Turn OFF the ignition.
  2. Disconnect the park/neutral position switch 12-way connector.
  3. Turn ON the ignition, with the engine OFF.

Does the scan tool TR Sw. A/B/C/P parameter indicate LOW for all range signal states?

--

Go to Step 6

Go to Step 10

6

  1. Using the DMM and the J-35616 Connector Test Adapter Kit, measure the voltage from terminal 7 of the park/neutral position switch 12-way connector to battery positive.
  2. Measure the voltage from terminal 8 of the park/neutral position switch 12-way connector to battery positive.
  3. Measure the voltage from terminal 9 of the park/neutral position switch 12-way connector to battery positive.
  4. Measure the voltage from terminal 10 of the park/neutral position switch 12-way connector to battery positive.

Does the voltage measure within the specified value at all four terminals?

10-14 V

Go to Step 7

Go to Step 11

7

Connect a fused jumper wire from terminal 9 of the park/neutral position switch 12-way connector, signal A circuit, to battery positive while monitoring the scan tool TR Sw. A/B/C/P parameter.

When the TR switch signal A circuit (CKT 771) is shorted to voltage, do any other signal circuits indicate HI?

--

Go to Step 12

Go to Step 8

8

Connect a fused jumper wire from terminal 8 of the park/neutral position switch 12-way connector, signal B circuit, to battery positive while monitoring the scan tool TR Sw. A/B/C/P parameter.

When the TR switch signal B circuit (CKT 772) is shorted to voltage, do any other signal circuits indicate HI?

--

Go to Step 12

Go to Step 9

9

Connect a fused jumper wire from terminal 7 of the park/neutral position switch 12-way connector, signal C circuit, to battery positive while monitoring the scan tool TR Sw. A/B/C/P parameter.

When the TR switch signal C circuit (CKT 773) is shorted to voltage, do any other signal circuits indicate HI?

--

Go to Step 12

Go to Step 16

10

Test the signal circuit or circuits (CKTs 771, 772, 773 and 776) of the TR switch that did not indicate LOW for a short to voltage.

Refer to Testing for a Short to Voltage and Wiring Repairs in Wiring Systems.

Did you find and correct the condition?

--

Go to Step 18

Go to Step 17

11

Test the signal circuit or circuits (CKTs 771, 772, 773 and 776) of the TR switch that did not indicate proper voltage for an open.

Refer to Testing for Continuity and Wiring Repairs in Wiring Systems.

Did you find and correct the condition?

--

Go to Step 18

Go to Step 17

12

Test the affected signal circuits of the TR switch for a shorted together condition.

Refer to Testing for Continuity and Wiring Repairs in Wiring Systems.

Did you find and correct the condition?

--

Go to Step 18

Go to Step 17

13

  1. Remove the BACKUP fuse.
  2. Test the fuse for an open.

Refer to Circuit Protection - Fuses and Wiring Repairs in Wiring Systems.

Is the fuse open?

--

Go to Step 14

Go to Step 15

14

  1. Test the Ignition 1 Voltage circuit (CKT 239) for a short to ground.
  2. Test the Transmission Range Signal A circuit (CKT 771) for a short to ground.
  3. Test the Transmission Range Signal B circuit (CKT 772) for a short to ground.
  4. Test the Transmission Range Signal C circuit (CKT 773) for a short to ground.
  5. Test the Transmission Range Signal P circuit (CKT 776) for a short to ground.

Refer to Testing for Short to Ground and Wiring Repairs in Wiring Systems.

Did you complete the repair?

--

Go to Step 18

--

15

Test the Ignition 1 voltage circuit (CKT 239) of the TR switch for an open.

Refer to Testing for Continuity and Wiring Repairs in Wiring Systems.

Did you find and correct the condition?

--

Go to Step 18

Go to Step 16

16

Replace the TR switch. The TR switch is part of the park/neutral position switch.

Refer to Park/Neutral Position Switch Replacement .

Did you complete the replacement?

--

Go to Step 18

--

17

Replace the TCM.

Refer to Transmission Control Module Replacement .

Did you complete the replacement?

--

Go to Step 18

--

18

Perform the following procedure in order to verify the repair:

  1. Select DTC.
  2. Select Clear Info.
  3. Operate the vehicle within the conditions for running the DTC as specified in the supporting text.
  4. Select specific DTC.
  5. Enter DTC P0705.

Has the test run and passed?

--

Go to Step 19

Go to Step 2

19

With the scan tool, observe the stored information, capture info and DTC info.

Does the scan tool display any DTCs that you have not diagnosed?

--

Go to Diagnostic Trouble Code (DTC) List in Engine Controls - 2.2L (L61)

System OK