GM Service Manual Online
For 1990-2009 cars only

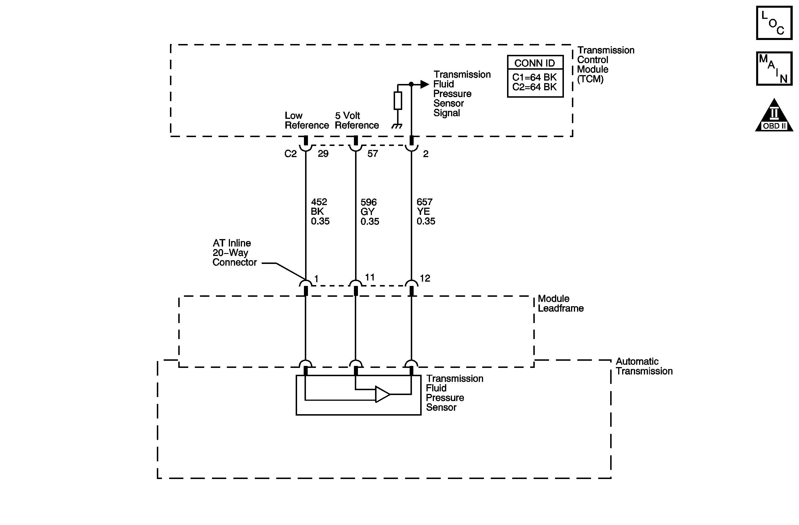
Object Number: 893153  Size: MF
Master Electrical Component List
Automatic Transmission Controls Schematics
OBD II Symbol Description Notice

Circuit Description

The transmission fluid pressure (TFP) sensor is used to monitor the line pressure and feedback to the transmission control module (TCM) with an analog signal of 0-5 volts. The pressure sensor is fed with tier 2 feed fluid pressure and nominally ranges from 483-5861 kPa (70-850 psi). This diagnostic monitors the TFP circuit.

When the TCM detects a voltage signal that is excessively low, DTC P0842 sets. DTC P0842 is a type A code.

Conditions for Running the DTC

    • No Line PC Solenoid DTCs P0960, P0961, or P0962.
    • The ignition voltage is 8-18 volts.
    • The engine speed is greater than 500 RPM for 5 seconds.
    • The commanded line pressure is 2200 kPa (319 psi) or greater.

Conditions for Setting the DTC

The TCM detects a measured line pressure value of 50 kPa (7 psi) or less for 20 seconds.

Action Taken When the DTC Sets

    • The TCM requests the ECM to illuminate the malfunction indicator lamp (MIL).
    • The TCM commands a line pressure increase for all operating conditions
    • The TCM freezes main line pressure transmission adaptive functions.
    • The ECM records the operating conditions when the Conditions for Setting the DTC are met. The ECM stores this information as Freeze Frame and Failure Records.
    • The TCM records the operating conditions when the Conditions for Setting the DTC are met. The TCM stores this information as Failure Records.
    • The TCM stores DTC P0842 in TCM history.

Conditions for Clearing the MIL/DTC

    • The ECM turns OFF the MIL after the third consecutive drive trip in which the TCM does not send a MIL illumination request.
    • A scan tool can clear the MIL/DTC.
    • The TCM clears the DTC from TCM history if the vehicle completes 40 warm-up cycles without an emission related diagnostic fault occurring.
    • The TCM cancels the DTC default actions when the ignition switch is OFF long enough in order to power down the TCM.

Diagnostic Aids

    • To locate an intermittent problem, use the scan tool to monitor Line Pressure Actual with the engine running. Wiggle the wiring harness from the TCM to the transmission while watching for a change in the parameter. This may help locate the area where the fault in the wiring may lie. Also, check for poor terminal connections.
    • Inspect the connectors at the TCM, the transmission, and all other circuit connecting points for an intermittent condition. Refer to Testing for Intermittent Conditions and Poor Connections in Wiring Systems.
    • Inspect the circuit wiring for an intermittent condition. Refer to Testing for Electrical Intermittents in Wiring Systems.
    • A damaged module leadframe, damaged or missing differential thrust washer or excessive customer abuse can cause DTC P0842 to set.

Step

Action

Values

Yes

No

1

Did you perform the Diagnostic System Check-Engine Controls?

--

Go to Step 2

Go to Diagnostic System Check - Engine Controls in Engine Controls - 2.2L (L61)

2

  1. Install a scan tool.
  2. Turn the ignition ON with the engine OFF.
  3. Important: 

       • Before clearing the DTC, use the scan tool in order to record the Failure Records. Using the Clear DTC Info function erases the Failures Records from the TCM.
       • Using the Clear DTC Info function erases stored DTCs in both the ECM and TCM.

  4. Record the DTC Failure Records.
  5. Clear the DTC.
  6. Select Line Pressure Actual on the scan tool.

Does the scan tool display a Line Pressure Actual reading less than the specified value?

50 kPa (7 psi)

Go to Step 3

Go to Intermittent Conditions in Engine Controls - 2.2L (L61)

3

  1. Turn OFF the ignition.
  2. Disconnect the AT inline 20-way connector.
  3. Additional DTCs may set.

  4. Turn ON the ignition, with the engine OFF.
  5. Using the DMM and the J-35616 Connector Test Adapter Kit, measure the voltage between the 5 volt reference circuit (CKT 596) and a good ground.

Does the voltage measure near the specified value?

5 V

Go to Step 4

Go to Step 5

4

Connect a test light between the 5-volt reference circuit (CKT 596) and the signal circuit (CKT 657) of the TFP sensor.

Does the scan tool display a Line Pressure Actual reading equal to or greater than the specified value?

4500 kPa (653 psi)

Go to Step 7

Go to Step 6

5

Test the 5-volt reference circuit (CKT 596) of the TFP sensor for a short to ground, a short to the low reference circuit (CKT 452), or an open. Refer to Circuit Testing and Wiring Repairs in Wiring Systems.

Did you find and correct the condition?

--

Go to Step 11

Go to Step 8

6

Test the signal circuit (CKT 657) of the TFP sensor for a short to ground, a short to the low reference circuit (CKT 452), or an open. Refer to Circuit Testing and Wiring Repairs in Wiring Systems.

Did you find and correct the condition?

--

Go to Step 11

Go to Step 8

7

Inspect for faulty connections at the transmission. Refer to Circuit Testing and Connector Repairs in Wiring Systems.

Did you find and correct the condition?

--

Go to Step 11

Go to Step 9

8

Inspect for faulty connections at the TCM. Refer to Circuit Testing and Connector Repairs in Wiring Systems.

Did you find and correct the condition?

--

Go to Step 11

Go to Step 10

9

Replace the TFP. The TFP is part of the control solenoid valve assembly.

Refer to Control Valve Body Assembly Disassemble .

Did you complete the replacement?

--

Go to Step 11

--

10

Replace the TCM. Refer to Transmission Control Module Replacement .

Did you complete the replacement?

--

Go to Step 11

--

11

Perform the following procedure in order to verify the repair.

  1. Select the DTC.
  2. Select Clear Info.
  3. Operate the vehicle within the Conditions for Running the DTC as specified in the supporting text.
  4. Select Specific DTC.
  5. Enter DTC P0842.

Has the test run and passed?

--

Go to Step 12

Go to Step 2

12

With a scan tool, observe the stored information, capture info and DTC info.

Does the scan tool display any DTCs that you have not diagnosed?

--

Go to Diagnostic Trouble Code (DTC) List in Engine Controls - 2.2L (L61)

System OK