GM Service Manual Online
For 1990-2009 cars only

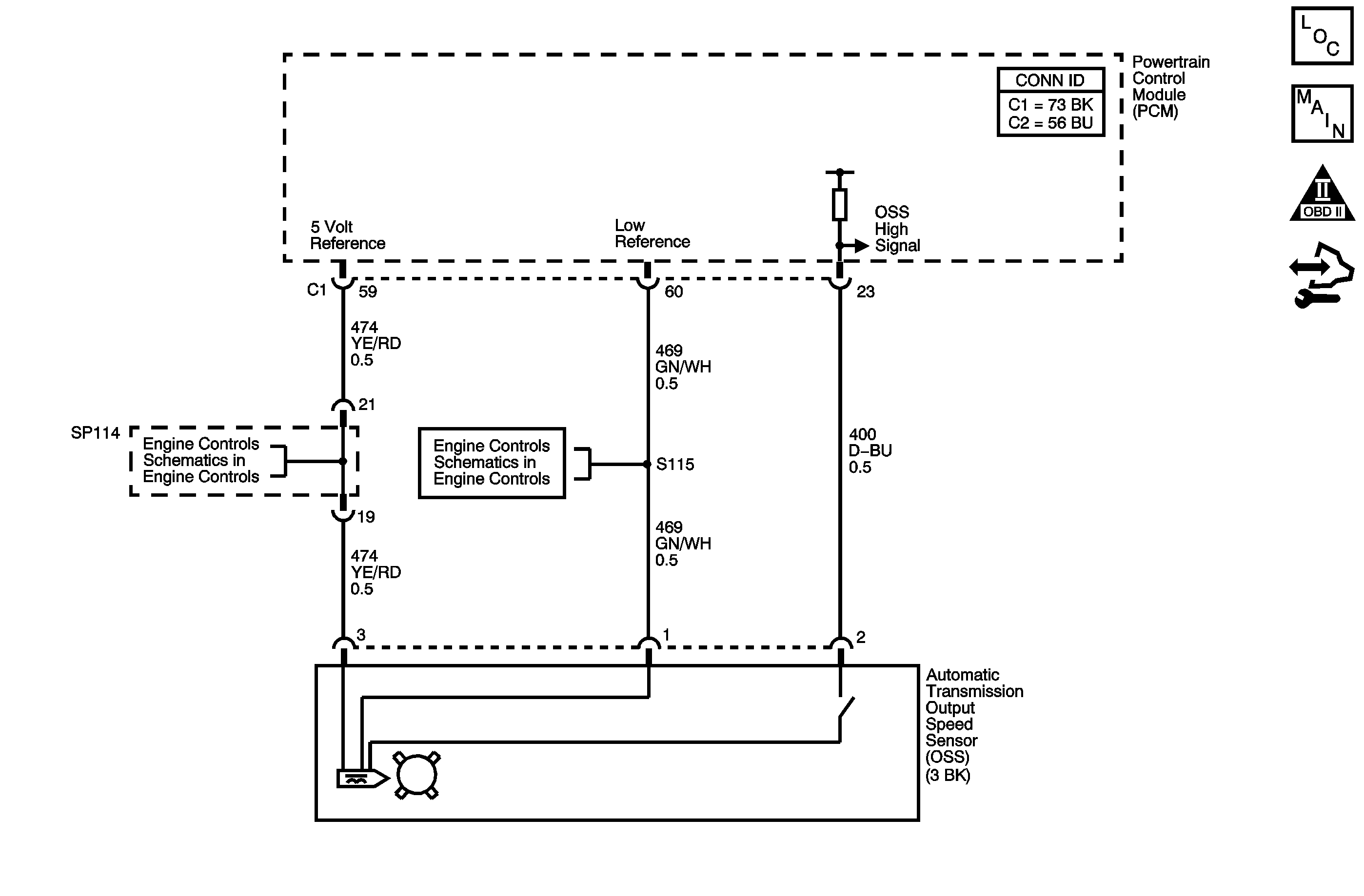
Object Number: 1466924  Size: MF
Master Electrical Component List
Automatic Transmission Controls Schematics
OBD II Symbol Description Notice
Control Module References

Circuit Description

The automatic transmission output shaft speed (AT OSS) sensor is a three-wire magnetic pick-up sensor that is mounted externally to the transmission. The OSS utilizes the gear teeth, located on the output shaft, to generate a voltage signal of varying frequency that corresponds to the rotational speed of the output shaft. The OSS signal is sent to the PCM and is used to calculate the vehicle speed. Simultaneously, the automatic transmission input shaft speed sensor (AT ISS) signal is used to calculate the vehicle speed. The PCM compares the vehicle speed calculated from both speed sensors and uses this comparison for diagnosis of the speed sensors.

If the PCM detects a low OSS calculated vehicle speed and a high ISS calculated vehicle speed for 10 seconds, DTC P0502 sets. DTC P0502 is a type A DTC.

DTC Descriptor

This diagnostic procedure supports the following DTC:

DTC P0502 Vehicle Speed Sensor (VSS) Circuit Low Voltage

Conditions for Running the DTC

    • No TR Switch DTCs P0705 or P0706.
    • No AT ISS DTCs P0716 or P0717.
    • No Clutch PC Solenoid 1 DTCs P0962 or P0963.
    • No Clutch PC Solenoid 2 DTCs P0966 or P0967.
    • No SS 1 DTCs P0973 or P0974.
    • No SS 2 DTCs P0976 or P0977.
    • No SS 3 DTCs P0979 or P0980.
    • No TCC PC Solenoid DTCs P2763 or P2764.
    • No TCC enable solenoid DTCs P2769 or P2770.
    • The ignition voltage is greater than 11 volts.
    • The engine speed is 500 RPM or greater.
    • The vehicle speed is greater than 20 km/h (13 mph).
    • The commanded gear is greater than 1st.
    • The selected range is D, I, or L.

Conditions for Setting the DTC

The AT ISS calculated vehicle speed is 20 km/h (12 mph) or greater while the AT OSS calculated vehicle speed is 2 km/h (1 mph) or less for 10 seconds or greater.

Action Taken When the DTC Sets

    • The PCM illuminates the malfunction indicator lamp (MIL).
    • The PCM limits the commanded gears to 2nd and 3rd gears.
    • The PCM records the operating conditions when the Conditions for Setting the DTC are met. The PCM stores this information as Freeze Frame and Failure Records.
    • The PCM stores DTC P0502 in PCM history.

Conditions for Clearing the MIL/DTC

    • The PCM turns OFF the MIL during the third consecutive trip in which the diagnostic test runs and passes.
    • A scan tool can clear the MIL/DTC.
    • The PCM clears the DTC from PCM history if the vehicle completes 40 warm-up cycles without an emission related diagnostic fault occurring.
    • The PCM cancels the DTC default actions when the ignition switch is OFF long enough in order to power down the PCM.

Diagnostic Aids

    • Inspect the connectors at the PCM, the AT OSS, and all other circuit connecting points for an intermittent condition. Refer to Testing for Intermittent Conditions and Poor Connections in Wiring Systems.
    • Inspect the circuit wiring for an intermittent condition. Refer to Testing for Electrical Intermittents in Wiring Systems.
    • Inspect for a disconnected AT OSS connector.
    • Inspect for an open or shorted AT OSS wire.
    • Inspect for a faulty AT OSS.
    • Inspect for an internal fault of the PCM.

Step

Action

Values

Yes

No

1

Did you perform the Diagnostic System Check - Vehicle?

--

Go to Step 2

Go to Diagnostic System Check - Vehicle in Vehicle DTC Information

2

  1. Install a scan tool.
  2. Turn ON the ignition with the engine OFF.
  3. Important: Before clearing the DTCs, use the scan tool in order to record the Freeze Frame and Failure Records for reference. The Clear Info function will erase the data.

  4. Record the DTC Freeze Frame and Failure Records.
  5. Clear the DTCs.
  6. Notice: Support the lower control arms in the normal horizontal position in order to avoid damage to the drive axles. Do not operate the vehicle in gear with the wheels hanging down at full travel.

  7. Raise the drive wheels.
  8. Start and idle the engine.
  9. Place the transmission in 1st gear.
  10. Monitor the Transmission OSS parameter on the scan tool.
  11. With the drive wheels rotating, increase and decrease the throttle position.

Does the scan tool indicate Transmission OSS parameter increasing when wheel speed increases?

--

Go to Diagnostic System Check - Vehicle in Vehicle DTC Information

Go to Step 3

3

  1. Turn OFF the ignition.
  2. Disconnect the OSS.
  3. Turn ON the ignition with the engine OFF.
  4. Using the DMM, measure the voltage of the OSS 5 volt reference circuit to ground.

Does the voltage measure near the specified value?

5 V

Go to Step 4

Go to Step 7

4

Measure the voltage from the OSS 5 volt reference circuit to the OSS low reference circuit.

Does the voltage measure near the specified value?

5 V

Go to Step 5

Go to Step 8

5

Measure the voltage from the OSS high signal circuit to the OSS low reference circuit.

Does the voltage measure near the specified value?

5 V

Go to Step 9

Go to Step 6

6

Test the OSS high signal circuit for the following conditions:

    • An open
    • A short to ground
    • A short to voltage

Refer to Circuit Testing and Wiring Repairs in Wiring Systems.

Did you find and correct the condition?

--

Go to Step 12

Go to Step 11

7

Important: The condition that affects this circuit may exist in other connecting branches of the circuit. Refer to Power Distribution Schematics in Wiring Systems for complete circuit distribution.

Test the OSS 5 volt reference circuit for the following conditions:

    • An open
    • A short to ground
    • A short to voltage

Refer to Circuit Testing and Wiring Repairs in Wiring Systems.

Did you find and correct the condition?

--

Go to Step 12

Go to Step 11

8

Test the OSS low reference circuit for an open or short to voltage. Refer to Circuit Testing and Wiring Repairs in Wiring Systems.

Did you find and correct the condition?

--

Go to Step 12

Go to Step 11

9

  1. Remove the OSS sensor. Refer to Output Speed Sensor Replacement .
  2. Inspect the OSS and the transmission for the following conditions:
  3. • An incorrect OSS
    • A damaged OSS
    • Incorrect OSS installation
    • OSS rotor damage
  4. Repair any of the above conditions.

Did you find and correct the condition?

--

Go to Step 12

Go to Step 10

10

Replace the OSS. Refer to Output Speed Sensor Replacement .

Did you complete the repair?

--

Go to Step 12

--

11

Replace the PCM. Refer to Control Module References in Computer/Integrating Systems for replacement, setup, and programming.

Did you complete the repair?

--

Go to Step 12

--

12

In order to verify your repair, perform the following procedure:

  1. Select DTC.
  2. Select Clear Info.
  3. Drive the vehicle.
  4. Ensure the vehicle speed is greater than 20 km/h (12 mph) for at least 10 seconds.
  5. Select specific DTC.
  6. Enter DTC P0502.

Has the test run and passed?

--

Go to Step 13

Go to Step 2

13

With the scan tool, observe the stored information, capture info and DTC info.

Does the scan tool display any DTCs that you have not diagnosed?

--

Go to Diagnostic Trouble Code (DTC) List - Vehicle in Vehicle DTC Information

System OK