GM Service Manual Online
For 1990-2009 cars only
Makes
🢒
Saturn
🢒
2006
🢒
VUE - FWD
🢒
Accessories
🢒
Keyless Entry
🢒 Keyless Entry Schematics
Master Electrical Component List
Keyless Entry System Description and Operation
Control Module References
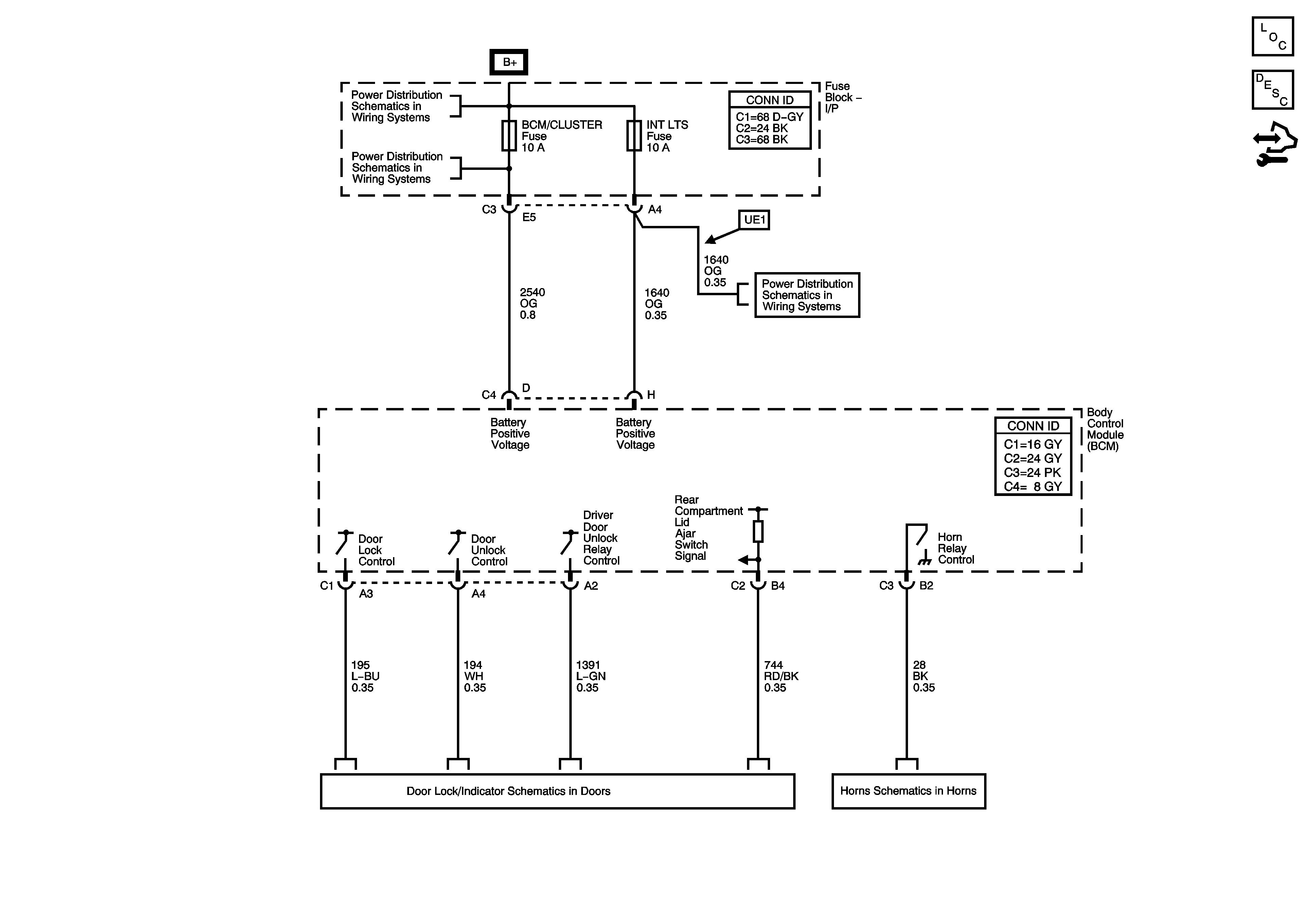
PWR SEAT Circuit Breaker, LH HDLP Fuse, RH HDLP Fuse, BRAKE Fuse, PREM AUD Fuse, BATT FEED Fuse and the HTD SEATS Fuse
RADIO Fuse, LOCK/MIRROR Fuse, BCM/CLUSTER Fuse, INT LTS Fuse, PARK Fuse and the HZRD Fuse
RADIO Fuse, LOCK/MIRROR Fuse, BCM/CLUSTER Fuse, INT LTS Fuse, PARK Fuse and the HZRD Fuse
Door Lock Controls
Lock Switches and Ajar Signals
Horn Schematic