GM Service Manual Online
For 1990-2009 cars only

DTC P0961 Hybrid


Object Number: 1553684  Size: MF
Master Electrical Component List
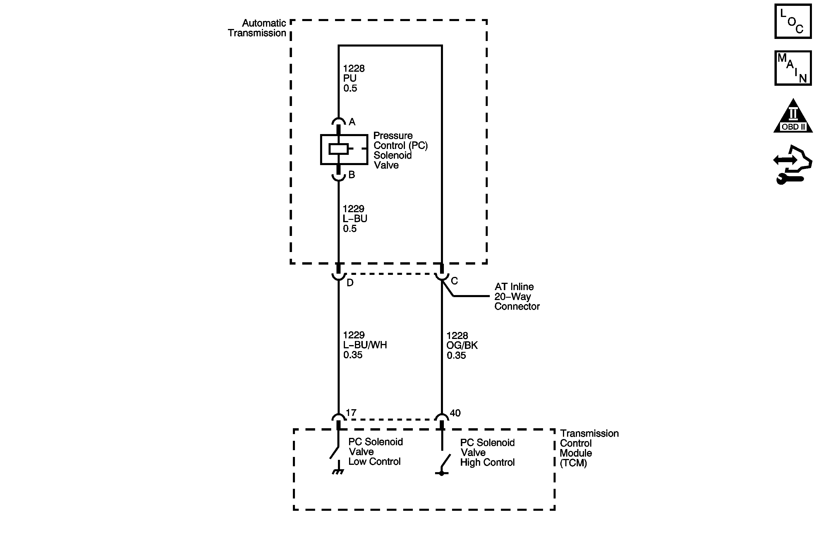
Automatic Transmission Controls Schematics
OBD II Symbol Description Notice
Control Module References

Circuit Description

The transmission control module (TCM) uses the pressure control (PC) solenoid valve in order to regulate the transmission line pressure. The PC solenoid valve consists of an electrical connector, a coil, an armature, a regulating spring, and a poppet valve. The PC solenoid valve is attached to the control valve body. The TCM compares TP voltage, fluid temperature, gear states, and other inputs in order to determine the line pressure appropriate for a given load. The TCM regulates the pressure by applying a varying amperage to the PC solenoid valve. The applied amperage varies from 0.1 amps for maximum line pressure to 1.1 amps for minimum line pressure. The TCM then monitors the amperage at the return line.

When the TCM detects a continuous open, short to ground or short to voltage in the PC solenoid valve circuit, then DTC P0961 sets. DTC P0961 is a type C DTC.

DTC Descriptor

This diagnostic procedure supports the following DTC:

DTC P0961 Line Pressure Control (PC) Solenoid System Performance

Conditions for Running the DTC

The engine is running.

Conditions for Setting the DTC

The TCM detects a continuous short to ground, open, or short to voltage in the PC solenoid or the PC solenoid circuits for 2 seconds.

Action Taken When the DTC Sets

    • The TCM does not illuminate the malfunction indicator lamp (MIL).
    • The TCM commands maximum line pressure.
    • The TCM freezes transmission adaptive functions.
    • The TCM records the operating conditions when the Conditions for Setting the DTC are met. The TCM stores this information as Failure Records.
    • The TCM stores DTC P0961 in TCM history.

Conditions for Clearing the DTC

    • A scan tool can clear the DTC.
    • The TCM clears the DTC from TCM history if the vehicle completes 40 warm-up cycles without a non-emission related diagnostic fault occurring.
    • The TCM cancels the DTC default actions when the fault no longer exists and the DTC passes.

Test Description

The numbers below refer to the step numbers on the diagnostic table.

  1. This step verifies the ability of the TCM to command the PC solenoid valve.

  2. This step verifies that the automatic transmission wiring harness and the PC solenoid valve have correct resistance.

Step

Action

Value(s)

Yes

No

1

Did you perform the Diagnostic System Check - Vehicle?

--

Go to Step 2

Go to Diagnostic System Check - Vehicle

2

  1. Install a scan tool.
  2. Turn ON the ignition, with the engine OFF.
  3. Important: Before clearing the DTC, use the scan tool in order to record the Failure Records. Using the Clear Info function erases the Failure Records from the TCM.

  4. Record the DTC Failure Records.
  5. Clear the DTC.
  6. Start the engine.
  7. Using the scan tool, apply 0.1 amps through 1.0 amps.
  8. Observe the scan tool display.

Does the PC Sol. Actual Current differ from the PC Sol. Ref. Current by more than the specified amount?

0.16 amps

Go to Step 3

Go to Testing for Intermittent Conditions and Poor Connections

3

  1. Turn OFF the ignition.
  2. Disconnect the AT inline 20-way connector. Additional DTCs may set.
  3. Install the J 44152 jumper harness (20 pins) on the transmission side of the AT inline 20-way connector.
  4. Using the DMM and the J 35616 GM-approved terminal test kit, measure the resistance between the PC solenoid valve high control and low control circuits of the J 44152 .
  5. Refer to Automatic Transmission Inline 20-Way Connector End View.

Is the resistance within the specified range?

3-7 Ω

Go to Step 7

Go to Step 4

4

Is the resistance greater than the specified value?

7 Ω

Go to Step 5

Go to Step 6

5

  1. Test the high control circuit of the PC solenoid valve for an open between the AT inline 20-way connector and the PC solenoid valve.
  2. Test the low control circuit of the PC solenoid valve for an open between the AT inline 20-way connector and the PC solenoid valve.

Refer to Testing for Continuity.

Did you find a condition?

--

Go to Step 19

Go to Step 20

6

Test the high control circuit and the low control circuit of the PC solenoid valve for being shorted together between the AT inline 20-way connector and the PC solenoid valve.

Refer to Circuit Testing.

Did you find a condition?

--

Go to Step 19

Go to Step 20

7

Measure the resistance from the PC solenoid valve high control circuit of the J 44152 to ground.

Refer to Automatic Transmission Inline 20-Way Connector End View.

Is the resistance less than the specified value?

1,000 Ω

Go to Step 8

Go to Step 9

8

  1. Test the high control circuit of the PC solenoid valve for a short to ground between the AT inline 20-way connector and the PC solenoid valve.
  2. Test the low control circuit of the PC solenoid valve for a short to ground between the AT inline 20-way connector and the PC solenoid valve.

Refer to Testing for Short to Ground.

Did you find a condition?

--

Go to Step 19

Go to Step 20

9

Measure the resistance between the PC solenoid valve high control circuit and all other terminals except the PC solenoid valve low control circuit of the J 44152 .

Refer to Automatic Transmission Inline 20-Way Connector End View.

Is the resistance between less than the specified value?

10 Ω

Go to Step 19

Go to Step 10

10

  1. Disconnect the J 44152 from the transmission side of the AT inline 20-way connector.
  2. Install the J 44152 on the engine side of the AT inline 20-way connector.
  3. Disconnect the TCM connector. Additional DTCs may set.
  4. Using the DMM and the J 35616 GM-approved terminal test kit, measure the resistance from the PC solenoid valve low control circuit of the J 44152 to ground.

Refer to Automatic Transmission Inline 20-Way Connector End View.

Is the resistance less than the specified value?

10 Ω

Go to Step 11

Go to Step 12

11

Test the low control circuit of the PC solenoid valve for a short to ground between the TCM connector and the AT inline 20-way connector.

Refer to Testing for Short to Ground and Wiring Repairs.

Did you find and correct the condition?

--

Go to Step 22

--

12

Using the DMM and the J 35616 GM-approved terminal test kit, measure the resistance of the PC solenoid valve low control circuit between the J 44152 and the TCM connector.

Refer to Automatic Transmission Inline 20-Way Connector End View.

Is the resistance less than the specified value?

10 Ω

Go to Step 14

Go to Step 13

13

Test the low control circuit of the PC solenoid valve for an open between the TCM connector and the AT inline 20-way connector.

Refer to Testing for Continuity and Wiring Repairs.

Did you find and correct the condition?

--

Go to Step 22

--

14

Using the DMM and the J 35616 GM-approved terminal test kit, measure the resistance from the PC solenoid valve high control circuit of the J 44152 to a good ground.

Refer to Automatic Transmission Inline 20-Way Connector End View.

Is the resistance less than the specified value?

10 Ω

Go to Step 15

Go to Step 16

15

Test the high control circuit of the PC solenoid valve for a short to ground between the TCM connector and the AT inline 20-way connector.

Refer to Testing for Short to Ground and Wiring Repairs.

Did you find and correct the condition?

--

Go to Step 22

--

16

Using the DMM and the J 35616 GM-approved terminal test kit, measure the resistance of the PC solenoid valve high control circuit between the J 44152 and the TCM connector.

Refer to Automatic Transmission Inline 20-Way Connector End View.

Is the resistance less than the specified value?

10 Ω

Go to Step 17

Go to Step 18

17

Test the high control circuit and the low control circuit of the PC solenoid for a short to voltage.

Refer to Testing for a Short to Voltage and Wiring Repairs.

Did you find and correct the condition?

--

Go to Step 22

Go to Step 21

18

Test the high control circuit of the PC solenoid valve for an open between the TCM connector and the AT inline 20-way connector.

Refer to Testing for Continuity and Wiring Repairs.

Did you find and correct the condition?

--

Go to Step 22

--

19

Replace the automatic transmission wiring harness.

Refer to Wiring Harness Replacement.

Did you complete the replacement?

--

Go to Step 22

--

20

Replace the PC solenoid valve.

Refer to Pressure Control Solenoid Valve Replacement.

Did you complete the replacement?

--

Go to Step 22

--

21

Replace the TCM.

Refer to Control Module References for replacement, setup, and programming.

Did you complete the replacement?

--

Go to Step 22

--

22

Perform the following procedure in order to verify the repair:

  1. Select DTC.
  2. Select Clear Info.
  3. Turn ON the ignition, with the engine OFF.
  4. Select Specific DTC.
  5. Enter DTC P0961.

Has the test run and passed?

--

Go to Step 23

Go to Step 2

23

With the scan tool, observe the stored information, capture info and DTC info.

Does the scan tool display any DTCs that you have not diagnosed?

--

Go to Diagnostic Trouble Code (DTC) List - Vehicle

System OK