GM Service Manual Online
For 1990-2009 cars only
Figure 1:

Power, Ground, Solenoid Controls, and VSS


Object Number: 1796513  Size: FS
Master Electrical Component List
Transmission General Description
Control Module References
ISS, TFT, TFP Switches and Indicators
B+ Bus and EPS Fuse
IGN Fuse and Ignition Switch Circuits
SUNROOF, PWR WDW, ABS 10A, ABS 20A, ABS PWR, HVAC BLOWER, AUX1 OUTLET, CIGAR/AUX2, and ECM/PCM Fuses
BACKUP, PWR TRAIN, 10A ABS, and INJECTOR Fuses (Except HP7)
Automatic Transmission Schematic Icons
Automatic Transmission Schematic Icons
G103, G105, G107, G108, and G207 (HP7)
G301 2 of 2
HP7
L61 with 4T45-E
Stop Lamps
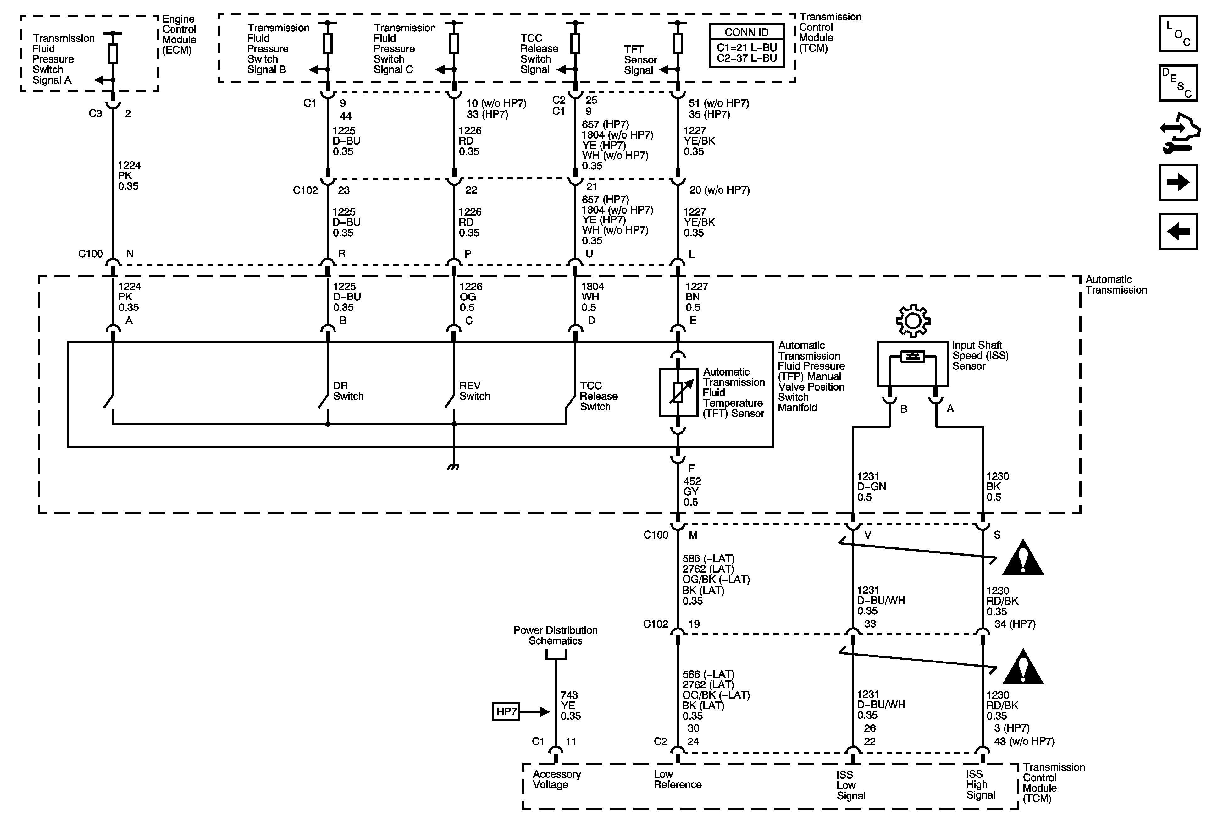
Figure 2:

ISS, TFT, TFP Switches and Indicators


Object Number: 1796532  Size: FS
Master Electrical Component List
Transmission General Description
Control Module References
PNP Switch - 2.2L
Power, Ground, Solenoid Controls, and VSS
TURN, BCM, RADIO (IGN), HVAC, and HTD SEATS Fuse
Automatic Transmission Schematic Icons
Automatic Transmission Schematic Icons
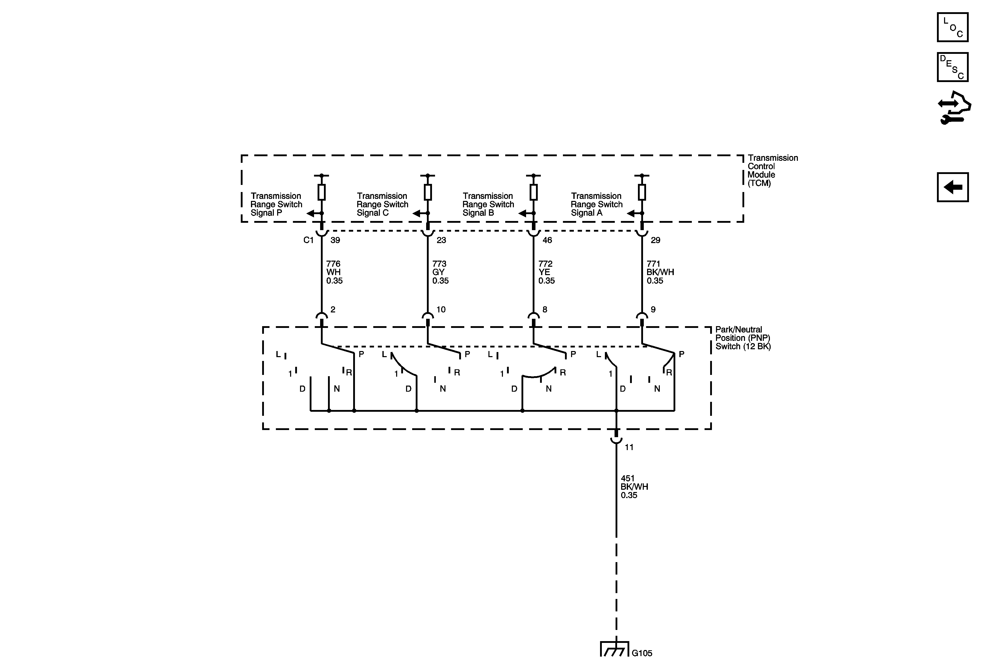
Figure 3:

PNP Switch (2.2L)


Object Number: 1796537  Size: FS
Master Electrical Component List
Transmission General Description
Control Module References
PNP Switch (LAT)
ISS, TFT, TFP Switches and Indicators
IGN Fuse and Ignition Switch Circuits
BACKUP, PWR TRAIN, 10A ABS, and INJECTOR Fuses (Except HP7)
Figure 4:

PNP Switch (LAT)


Object Number: 1848562  Size: FS
Master Electrical Component List
Transmission General Description
Control Module References
PNP Switch - 2.2L
G103, G105, G107, G108, and G207 (HP7)