GM Service Manual Online
For 1990-2009 cars only

DTC P2761 Non-Hybrid


Object Number: 1715065  Size: MF
Master Electrical Component List
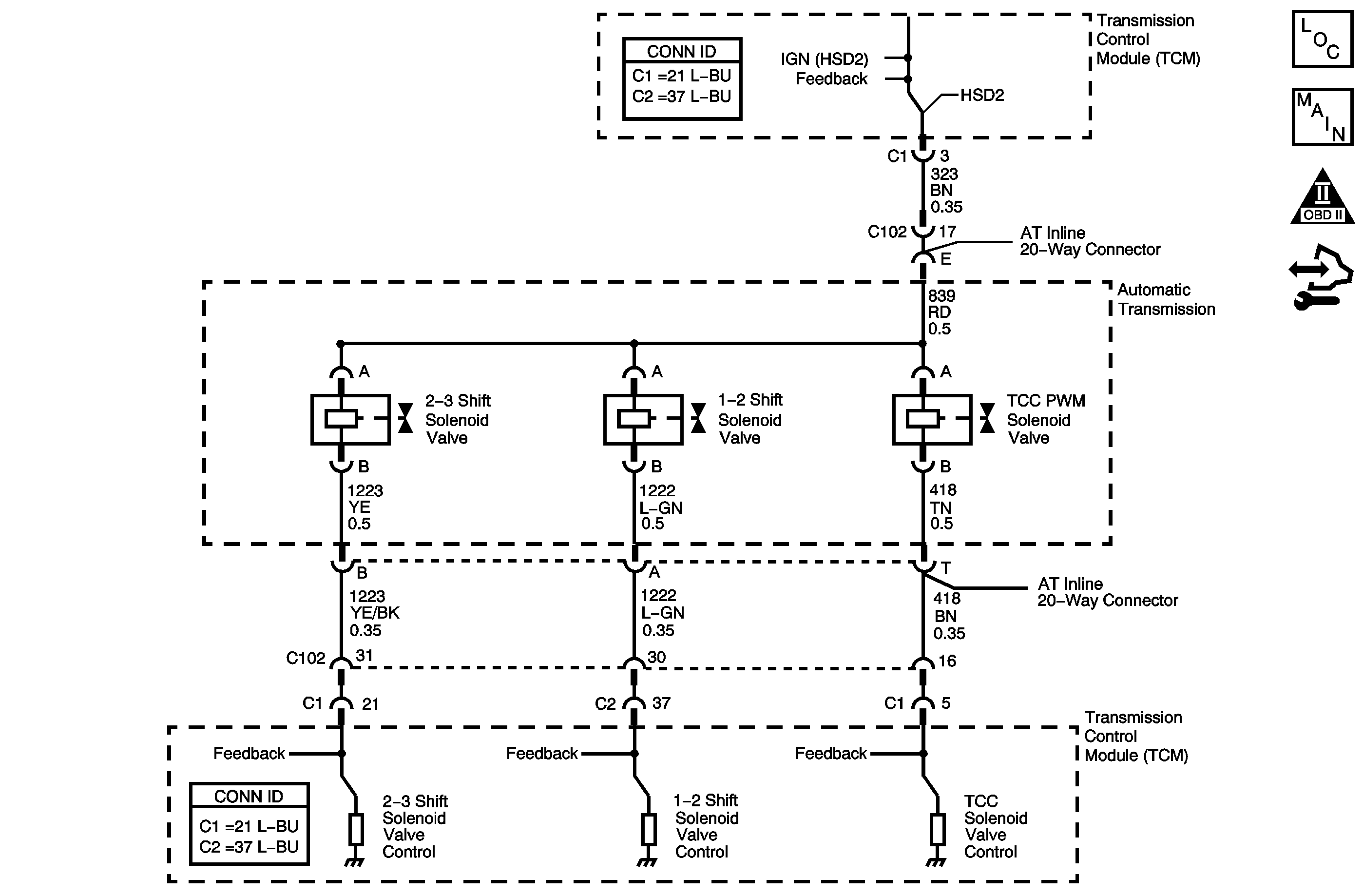
Automatic Transmission Controls Schematics
OBD II Symbol Description Notice
Control Module References

Circuit Description

The torque converter clutch pulse width modulated (TCC PWM) solenoid valve is a normally-closed solenoid used to control the apply and release of the converter clutch. The transmission control module (TCM) operates the solenoid with a negative duty cycle. When vehicle operating conditions are appropriate to apply the TCC, the TCM immediately increases the duty cycle to approximately 42 percent. The TCM then ramps the duty cycle to approximately 90 percent to achieve full TCC apply pressure. When the solenoid is commanded OFF, the TCM senses high voltage. When the solenoid is commanded ON, the TCM senses low voltage.

When the TCM detects a continuous open, short to ground or short to voltage in the TCC PWM solenoid valve circuit, DTC P2761 sets. DTC P2761 is a type B DTC.

DTC Descriptor

This diagnostic procedure supports the following DTC:

DTC P2761 Torque Converter Clutch (TCC) Pressure Control (PC) Solenoid Control Circuit

Conditions for Running the DTC

    • No TCC performance DTCs P0741 or P0742.
    • The engine is running for 5 seconds and not in fuel cut-off.
    • The TCC PWM solenoid valve duty cycle is less than 10 percent or greater than 80 percent.

Conditions for Setting the DTC

The TCM detects an open, short to ground or a short to voltage on the TCC PWM solenoid valve circuit for 4.4 seconds.

Action Taken When the DTC Sets

    • The TCM requests the engine control module (ECM) to illuminate the malfunction indicator lamp (MIL) during the second consecutive trip in which the Conditions for Setting the DTC are met.
    • The TCM commands maximum line pressure.
    • The TCM forces the TCC OFF.
    • The TCM inhibits TCC engagement.
    • The TCM freezes transmission adaptive functions.
    • The TCM inhibits 4th gear when in HOT mode.
    • The ECM records the operating conditions when the Conditions for Setting the DTC are met. The ECM stores this information as Freeze Frame and Failure Records.
    • The TCM records the operating conditions when the Conditions for Setting the DTC are met. The TCM stores this information as Failure Records.
    • The TCM stores DTC P2761 in TCM history.

Conditions for Clearing the MIL/DTC

    • The ECM turns OFF the MIL after the third consecutive drive trip in which the TCM does not send a MIL illumination request.
    • A scan tool can clear the MIL/DTC.
    • The TCM clears the DTC from TCM history if the vehicle completes 40 warm-up cycles without an emission-related diagnostic fault occurring.
    • The TCM cancels the DTC default actions when the ignition switch is OFF long enough in order to power down the TCM.

Diagnostic Aids

Ensure the wiring harness is not stretched too tightly or other components are pressing on the connector body. Also, inspect for proper clearance to any other components and wiring. Refer to Testing for Intermittent Conditions and Poor Connections.

Test Description

The numbers below refer to the step numbers on the diagnostic table.

  1. This step tests the TCM and the wiring to the AT inline 20-way connector.

  2. This step tests the control circuit for a short to voltage.

  3. This step tests the circuit for correct resistance.

Step

Action

Value(s)

Yes

No

1

Did you perform the Diagnostic System Check - Vehicle?

--

Go to Step 2

Go to Diagnostic System Check - Vehicle

2

  1. Install a scan tool.
  2. Turn ON the ignition, with the engine OFF.
  3. Important: Before clearing the DTC, use the scan tool in order to record the Freeze Frame and Failure Records. Using the Clear Info function erases the Freeze Frame and Failure Records from both the ECM and the TCM.

  4. Record the DTC Failure Records.
  5. Clear the DTC.

Is DTC P0973 or P0976 also set?

--

Go to Step 3

Go to Step 5

3

Test the ignition 1 voltage circuit of the TCC PWM solenoid valve for an open or a short to ground between the TCM C1 connector and the AT inline 20-way connector. Refer to Circuit Testing.

Did you find and correct the condition?

--

Go to Step 21

Go to Step 4

4

Test the ignition 1 voltage circuit of the TCC PWM solenoid valve for an open or a short to ground between the AT inline 20-way connector and the TCC PWM solenoid valve. Refer to Circuit Testing.

Did you find the condition?

--

Go to Step 18

--

5

  1. Turn OFF the ignition.
  2. Disconnect the AT inline 20-way connector. Additional DTCs may set.
  3. Install the J 44152 jumper harness (20 pins) on the engine side of the AT inline 20-way connector.
  4. Using the J-35616 connector test adapter kit, connect a test lamp between the ignition 1 voltage circuit and the TCC PWM solenoid valve control circuit of the J 44152 . Refer to Automatic Transmission Inline 20-Way Connector End View.
  5. Turn ON the ignition, with the engine OFF.

Is the test lamp ON?

--

Go to Step 6

Go to Step 7

6

Test the control circuit of the TCC PWM solenoid valve for a short to ground between the TCM connector C1 and the AT inline 20-way connector. Refer to Testing for Short to Ground and Wiring Repairs.

Did you find and correct the condition?

--

Go to Step 21

Go to Step 20

7

Using the scan tool, cycle the TCC PWM solenoid valve ON and OFF three times.

Does the test lamp cycle ON and OFF as commanded?

--

Go to Step 12

Go to Step 8

8

Is the test lamp always OFF?

--

Go to Step 9

--

9

Test the control circuit of the TCC PWM solenoid valve for an open between the TCM connector C1 and the AT inline 20-way connector. Refer to Testing for Continuity and Wiring Repairs.

Did you find and correct the condition?

--

Go to Step 21

Go to Step 10

10

Connect a test lamp from the TCC PWM solenoid valve control circuit of the J 44152 to ground. Refer to Automatic Transmission Inline 20-Way Connector End View.

Is the test lamp ON?

--

Go to Step 11

Go to Step 20

11

Test the control circuit of the TCC PWM solenoid valve for a short to voltage between the TCM connector C1 and the AT inline 20-way connector. Refer to Testing for a Short to Voltage and Wiring Repairs.

Did you find and correct the condition?

--

Go to Step 21

--

12

  1. Turn OFF the ignition.
  2. Disconnect the J 44152 from the engine side of the AT inline 20-way connector.
  3. Install the J 44152 on the transmission side of the AT inline 20-way connector.
  4. Using the DMM and the J-35616 connector test adapter kit, measure the resistance between the ignition 1 voltage circuit and the TCC PWM solenoid valve control circuit of the J 44152 . Refer to Automatic Transmission Inline 20-Way Connector End View.

Is the resistance within the specified range?

10-15 Ω

Go to Step 15

Go to Step 13

13

Is the resistance greater than the specified value?

15 Ω

Go to Step 14

Go to Step 15

14

  1. Test the control circuit of the TCC PWM solenoid valve for an open between the AT inline 20-way connector and the TCC PWM solenoid valve.
  2. Test the ignition 1 voltage circuit of the TCC PWM solenoid valve for an open between the AT inline 20-way connector and the TCC PWM solenoid valve. Refer to Testing for Continuity.

Did you find a condition?

--

Go to Step 18

Go to Step 19

15

Measure the resistance from the TCC PWM solenoid valve control circuit of the J 44152 to ground. Refer to Automatic Transmission Inline 20-Way Connector End View.

Is the resistance less than the specified value?

1,000 Ω

Go to Step 16

Go to Step 17

16

Test the control circuit of the TCC PWM solenoid valve for a short to ground between the AT inline 20-way connector and the TCC PWM solenoid valve. Refer to Testing for Short to Ground.

Did you find a condition?

--

Go to Step 18

--

17

Measure the resistance between the TCC PWM solenoid valve control circuit and all other terminals, except the 1-2 SS valve control circuit, the 2-3 SS valve control circuit, and the ignition 1 voltage circuit, of the J 44152 . Refer to Automatic Transmission Inline 20-Way Connector End View.

Is the resistance less than the specified value?

1,000 Ω

Go to Step 18

Go to Step 19

18

Replace the automatic transmission wiring harness. Refer to Wiring Harness Replacement.

Did you complete the replacement?

--

Go to Step 21

--

19

Replace the TCC PWM solenoid valve. Refer to Torque Converter Clutch Pulse Width Modulation Solenoid Replacement.

Did you complete the replacement?

--

Go to Step 21

--

20

Replace the TCM. Refer to Control Module References for replacement, setup, and programming.

Did you complete the replacement?

--

Go to Step 21

--

21

Perform the following procedure in order to verify the repair:

  1. Select DTC.
  2. Select Clear Info.
  3. Operate the vehicle under the following conditions:
  4. • Road test the vehicle with the gear select lever in D4.
    • Increase vehicle speed until the TCC is applied.
    • Ensure that the TCC duty cycle is less than 10% and greater than 55% for more than 5 seconds.
  5. Select Specific DTC.
  6. Enter DTC P2761.

Has the test run and passed?

--

Go to Step 22

Go to Step 2

22

With the scan tool, observe the stored information, capture info and DTC info.

Does the scan tool display any DTCs that you have not diagnosed?

--

Go to Diagnostic Trouble Code (DTC) List - Vehicle

System OK