GM Service Manual Online
For 1990-2009 cars only

DTC P0787 Hybrid


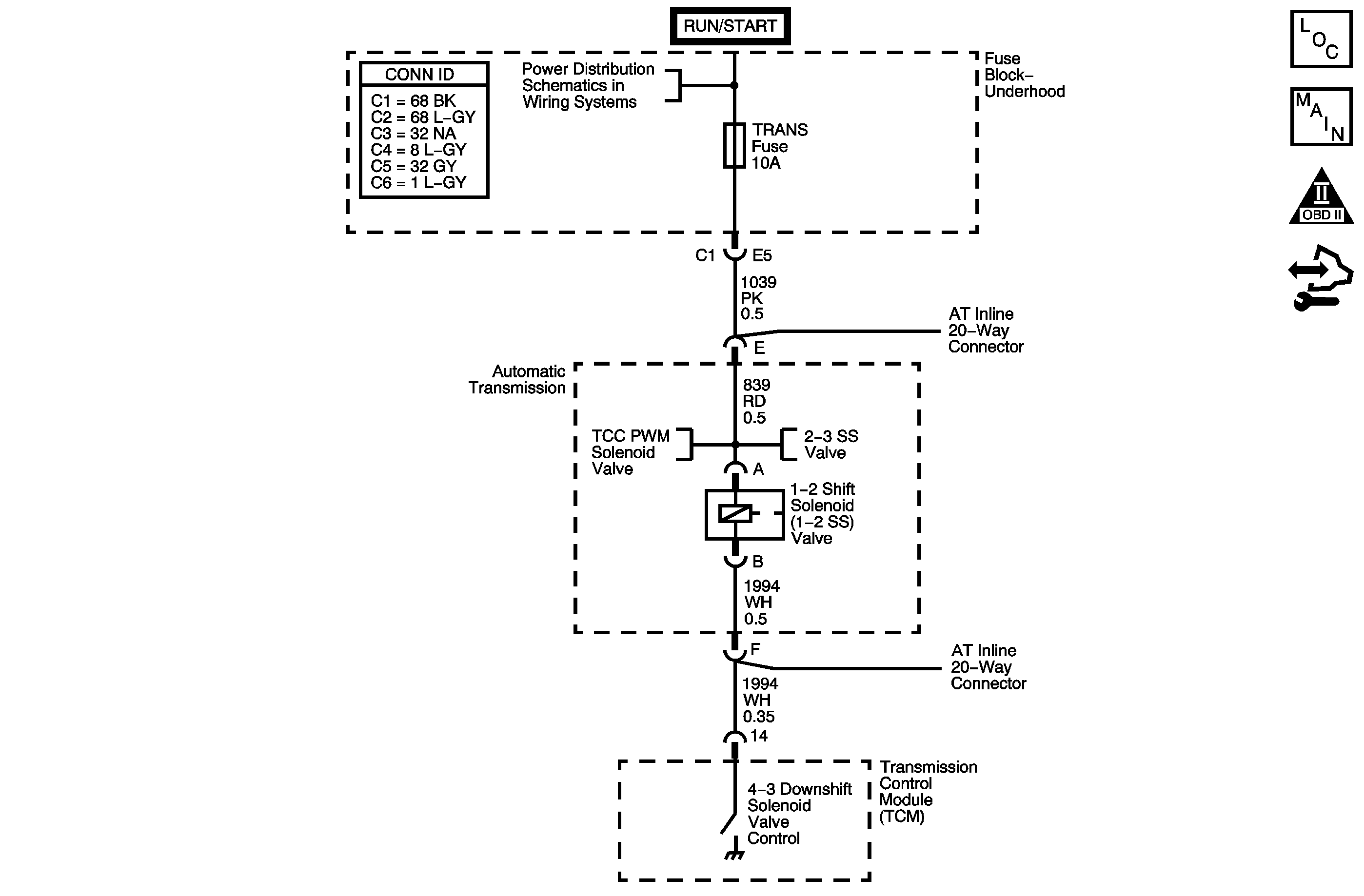
Object Number: 1817231  Size: MF
Master Electrical Component List
Automatic Transmission Controls Schematics
OBD II Symbol Description Notice
Control Module References

Circuit Description

The 4-3 downshift solenoid valve controls transmission fluid pressure acting on the shift timing valve to position the valves for the appropriate gear. The 4-3 downshift solenoid valve is a normally closed exhaust valve located on the channel plate. Ignition voltage is supplied to the solenoid. The transmission control module (TCM) commands the solenoid ON or OFF by providing a ground path. When the 43 downshift solenoid valve is commanded ON, the TCM senses low voltage. When the 4-3 downshift solenoid valve is commanded OFF, the TCM senses high voltage.

If the TCM detects a continuous open or short to ground in the 4-3 downshift solenoid valve circuit, then DTC P0787 sets. DTC P0787 is a type C DTC.

DTC Descriptor

This diagnostic procedure supports the following DTC:

DTC P0787 Downshift Timing Solenoid Control Circuit Low Voltage

Conditions for Running the DTC

The engine is running for 5 seconds.

Conditions for Setting the DTC

The 4-3 downshift solenoid valve feedback circuit indicates a continuous open or short to ground for 4.4 seconds.

Action Taken When the DTC Sets

    • The TCM does not illuminate the malfunction indicator lamp (MIL).
    • The TCM commands maximum line pressure.
    • The TCM freezes transmission adaptive functions.
    • The TCM records the operating conditions when the Conditions for Setting the DTC are met. The TCM stores this information as Failure Records.
    • The TCM stores DTC P0787 in TCM history.

Conditions for Clearing the DTC

    • A scan tool can clear the DTC.
    • The TCM clears the DTC from TCM history if the vehicle completes 40 warm-up cycles without a non-emission related diagnostic fault occurring.
    • The TCM cancels the DTC default actions when the fault no longer exists and the DTC passes.

Test Description

The numbers below refer to the step numbers on the diagnostic table.

  1. This step tests the electrical operation of the solenoid.

  2. This step tests the TCM and the wiring to the transmission.

  3. This step verifies that the circuit has the correct resistance.

DTC P0787

Step

Action

Value(s)

Yes

No

1

Did you perform the Diagnostic System Check - Vehicle?

--

Go to Step 2

Go to Diagnostic System Check - Vehicle

2

  1. Install a scan tool.
  2. Turn ON the ignition, with the engine OFF.
  3. Important: Before clearing the DTC, use the scan tool in order to record the Freeze Frame and Failure Records. Using the Clear Info function erases the Freeze Frame and Failure Records from the TCM.

  4. Record the DTC Freeze Frame and Failure Records.
  5. Clear the DTC.

Is DTC P0973, P0976, or P2764 also set?

--

Go to Step 3

Go to Step 8

3

  1. Remove the TRANS fuse.
  2. Inspect the fuse for an open. Refer to Circuit Protection - Fuses.

Did you find the condition?

--

Go to Step 4

Go to Step 6

4

Important: The condition that affects this circuit may exist in other connecting branches of the circuit. Refer to Power Distribution Schematics for complete circuit distribution.

Test the ignition 1 voltage circuit of the 4-3 downshift solenoid valve for a short to ground between the underhood fuse block and the AT inline 20-way connector. Refer to Testing for Short to Ground and Wiring Repairs.

Did you find and correct the condition?

--

Go to Step 23

Go to Step 5

5

Important: The condition that affects this circuit may exist in other connecting branches of the circuit. Refer to Power Distribution Schematics for complete circuit distribution.

Test the ignition 1 voltage circuit of the 4-3 downshift solenoid valve for a short to ground between the AT inline 20-way connector and the 4-3 downshift solenoid valve.

Refer to Testing for Short to Ground.

Did you find the condition?

--

Go to Step 20

--

6

Test the ignition 1 voltage circuit of the 4-3 downshift solenoid valve for an open between the underhood fuse block and the AT inline 20-way connector. Refer to Testing for Continuity and Wiring Repairs.

Did you find and correct the condition?

--

Go to Step 23

Go to Step 7

7

Test the ignition 1 voltage circuit of the 4-3 downshift solenoid valve for an open between the AT inline 20-way connector and the 4-3 downshift solenoid valve. Refer to Testing for Continuity.

Did you find the condition?

--

Go to Step 20

--

8

  1. Use the scan tool in order to command the 4-3 downshift solenoid valve ON and OFF 3 times.
  2. Listen at the transmission bottom pan.

Does the solenoid click when commanded ON and OFF?

--

Go to Testing for Intermittent Conditions and Poor Connections

Go to Step 9

9

  1. Turn OFF the ignition.
  2. Disconnect the AT inline 20-way connector. Additional DTCs may set.
  3. Install the J 44152 Jumper Harness (20 pins) on the engine side of the AT inline 20-way connector.
  4. Using the J 35616 GM-approved terminal test kit, connect a test lamp between the ignition 1 voltage and the 4-3 downshift solenoid valve control circuits of the J 44152 . Refer to Automatic Transmission Inline 20-Way Connector End View.
  5. Turn ON the ignition, with the engine OFF.
  6. Command the 4-3 downshift solenoid valve ON and OFF three times.

Is the test lamp ON when you command the solenoid ON, and OFF when you command the solenoid OFF?

--

Go to Step 14

Go to Step 10

10

Is the test lamp always ON?

--

Go to Step 11

Go to Step 13

11

  1. Turn OFF the ignition.
  2. Disconnect the TCM connector. Additional DTCs may set.
  3. Turn ON the ignition, with the engine OFF.

Is the test lamp ON?

--

Go to Step 12

Go to Step 22

12

Test the control circuit of the 4-3 downshift solenoid valve for a short to ground between the TCM connector and the AT inline 20-way connector. Refer to Testing for Continuity and Wiring Repairs.

Refer to Testing for Short to Ground and Wiring Repairs.

Did you find and correct the condition?

--

Go to Step 23

--

13

Test the control circuit of the 4-3 downshift solenoid valve for an open between the TCM connector and the AT inline 20-way connector.

Did you find and correct the condition?

--

Go to Step 23

Go to Step 22

14

  1. Turn OFF the ignition.
  2. Disconnect the J 44152 from the engine side of the AT inline 20-way connector.
  3. Install the J 44152 on the transmission side of the AT inline 20-way connector.
  4. Using the DMM and the J 35616 GM-approved terminal test kit, measure the resistance between the ignition 1 voltage and the 4-3 downshift solenoid valve control circuits of the J 44152 .

Refer to Automatic Transmission Inline 20-Way Connector End View.

Is the resistance within the specified range?

19-31 Ω

Go to Step 17

Go to Step 15

15

Is the resistance greater than the specified value?

31 Ω

Go to Step 16

Go to Step 17

16

  1. Test the control circuit of the 4-3 downshift solenoid valve for an open between the AT inline 20-way connector and the 4-3 downshift solenoid valve.
  2. Test the ignition 1 voltage circuit of the 4-3 downshift solenoid valve for an open between the AT inline 20-way connector and the 4-3 downshift solenoid valve.

Refer to Testing for Continuity.

Did you find a condition?

--

Go to Step 20

Go to Step 21

17

Measure the resistance from the 4-3 downshift solenoid valve control circuit of the J 44152 to ground. Refer to Automatic Transmission Inline 20-Way Connector End View.

Is the resistance less than the specified value?

100 Ω

Go to Step 18

Go to Step 19

18

Test the control circuit of the 4-3 downshift solenoid valve for a short to ground between the AT inline 20-way connector and the 4-3 downshift solenoid valve. Refer to Testing for Short to Ground.

Did you find the condition?

--

Go to Step 20

--

19

Measure the resistance between the 4-3 downshift solenoid valve control circuit and all other terminals of the J 44152 .

Refer to Automatic Transmission Inline 20-Way Connector End View.

Is the resistance less than the specified value?

100 Ω

Go to Step 20

Go to Step 21

20

Replace the automatic transmission wiring harness. Refer to Wiring Harness Replacement.

Did you complete the replacement?

--

Go to Step 23

--

21

Replace the 4-3 downshift solenoid valve. Refer to Control Valve Body Spacer Plate and 4-3 Downshift On/Off Solenoid Removal and Control Valve Body Spacer Plate and 4-3 Downshift On/Off Solenoid Installation.

Did you complete the replacement?

--

Go to Step 23

--

22

Replace the TCM. Refer to Control Module References for replacement, setup, and programming.

Did you complete the replacement?

--

Go to Step 23

--

23

Perform the following procedure in order to verify the repair:

  1. Select DTC.
  2. Select Clear Info.
  3. Operate the vehicle under the following conditions:
  4. • Drive the vehicle in D4.
    • Allow the transmission to shift through all gears.
  5. Select Specific DTC.
  6. Enter DTC P0787.

Has the test run and passed?

--

Go to Step 24

Go to Step 2

24

With the scan tool, observe the stored information, capture info. and DTC info.

Does the scan tool display any DTCs that you have not diagnosed?

--

Go to Diagnostic Trouble Code (DTC) List - Vehicle

System OK