GM Service Manual Online
For 1990-2009 cars only
Makes
🢒
Buick
🢒
2000
🢒
Century
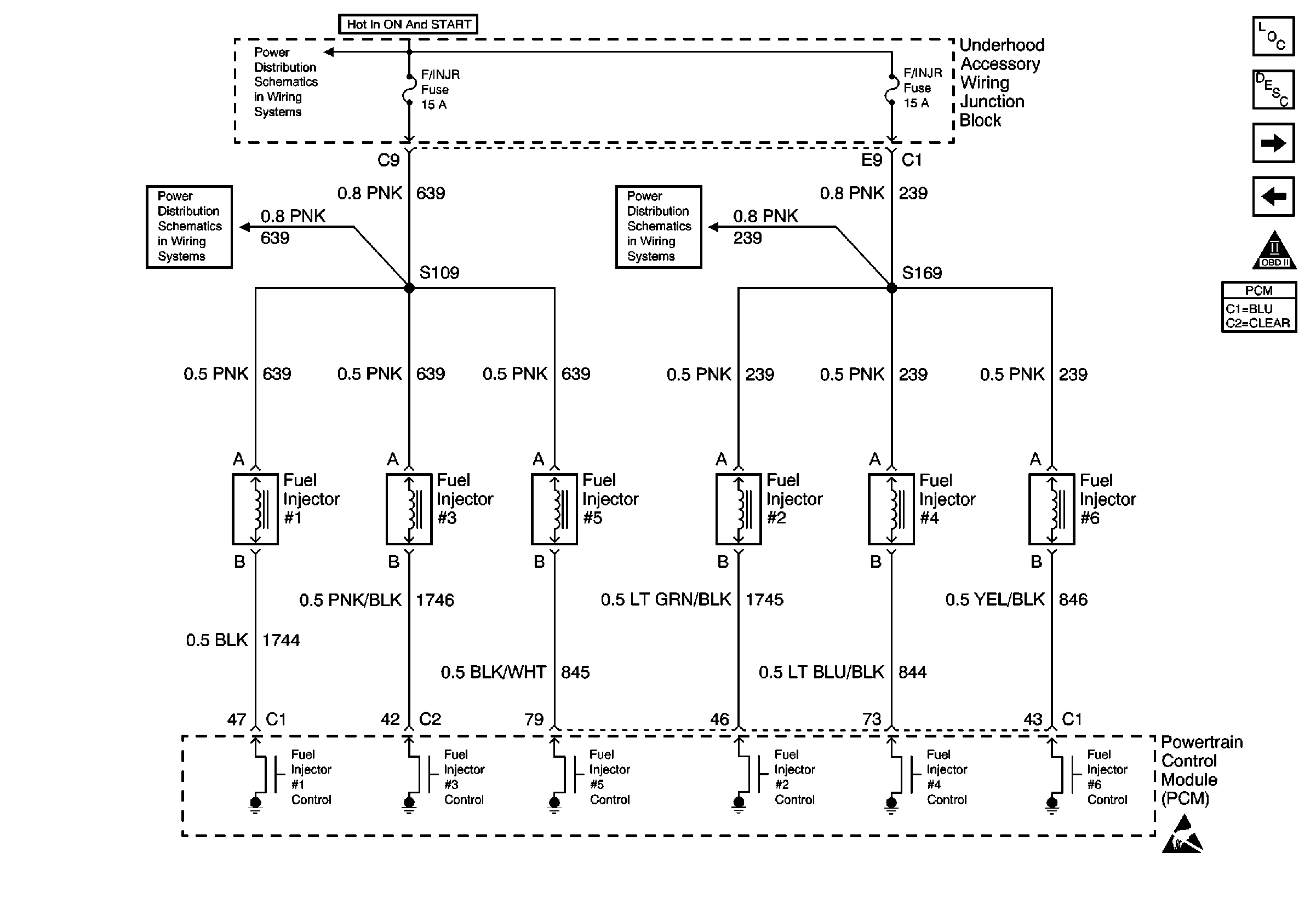
🢒 Fuel Injectors
Fuel Injectors
Fuel Injectors
Fuel Injector Fuses
Fuel Injector Fuses
Fuel Injector Fuses
Handling ESD Sensitive Parts Notice
Engine Controls Component Views
Powertrain Control Module Description
A/C Pressure Switch, TPS, MAP, ECT and IAT
PCM Automatic Transaxle Outputs
OBD II Symbol Description Notice