GM Service Manual Online
For 1990-2009 cars only
Makes
🢒
Buick
🢒
2002
🢒
Century
🢒 ATX, ICM, O2
ATX, ICM, O2
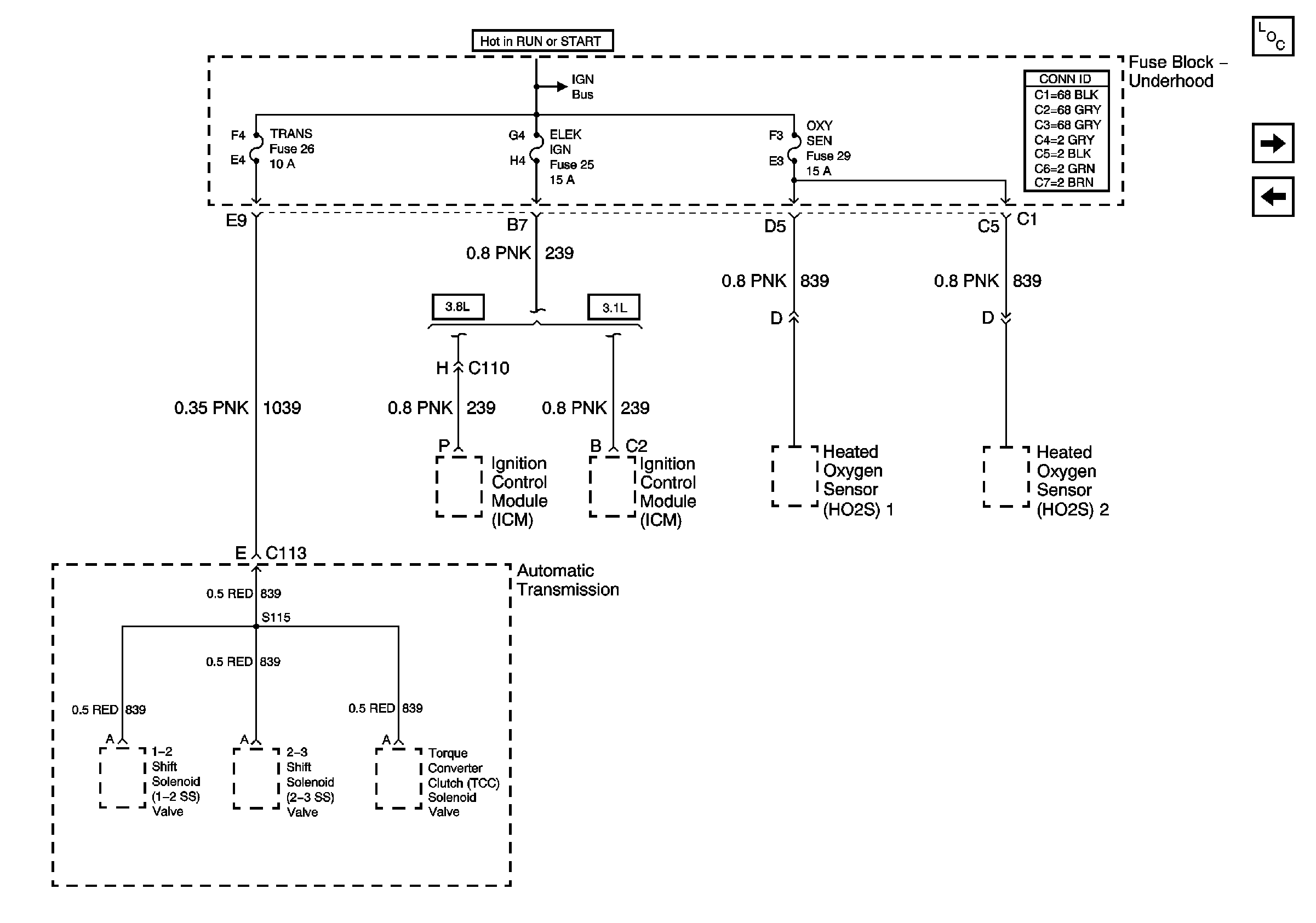
Fuse Block - Underhood TRANS, ELEK IGN, and OXY SEN Fuses
Master Electrical Component List
Stop, EVAP, MAF
Fuel Injectors
Fuse Block Underhood Power Bussing (Page 1 of 2)