GM Service Manual Online
For 1990-2009 cars only
Makes
🢒
Buick
🢒
2005
🢒
Century
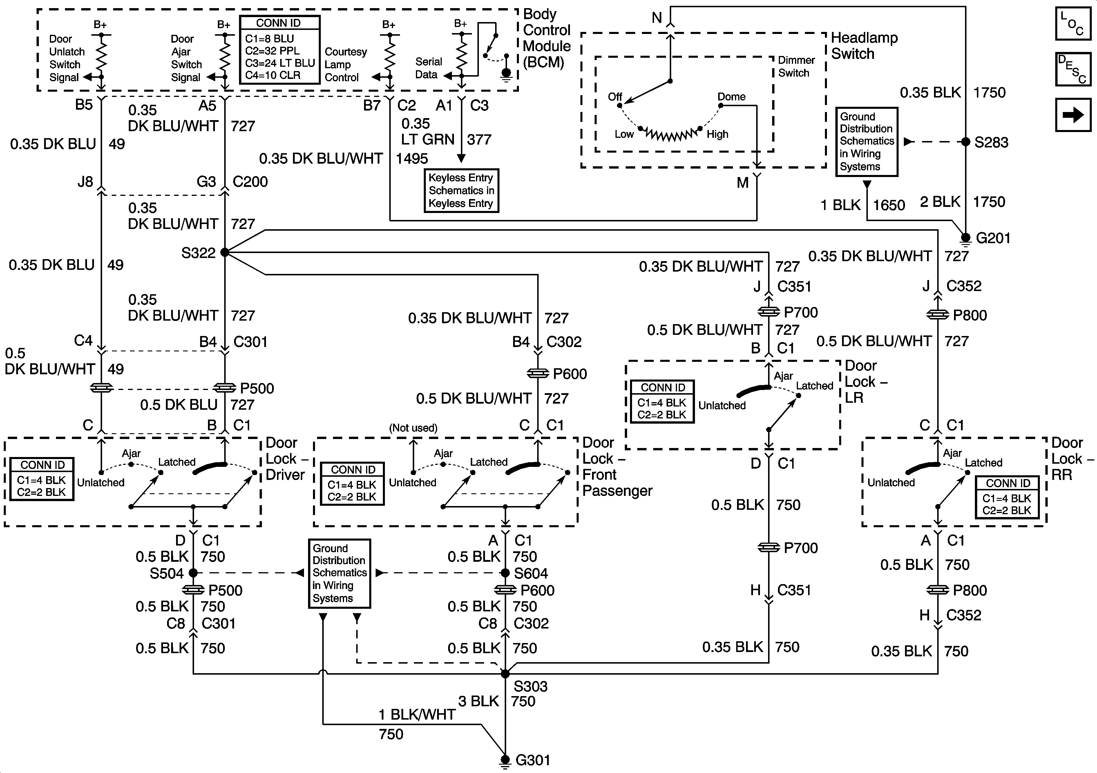
🢒 Lamp Controls
Lamp Controls
Lamp Controls
Master Electrical Component List
Interior Lighting Systems Description and Operation
I/P Courtesy and Compartment Lamps
Keyless Entry Schematics
G201
G301, Page 1 of 2