GM Service Manual Online
For 1990-2009 cars only
Makes
🢒
Buick
🢒
2000
🢒
LeSabre
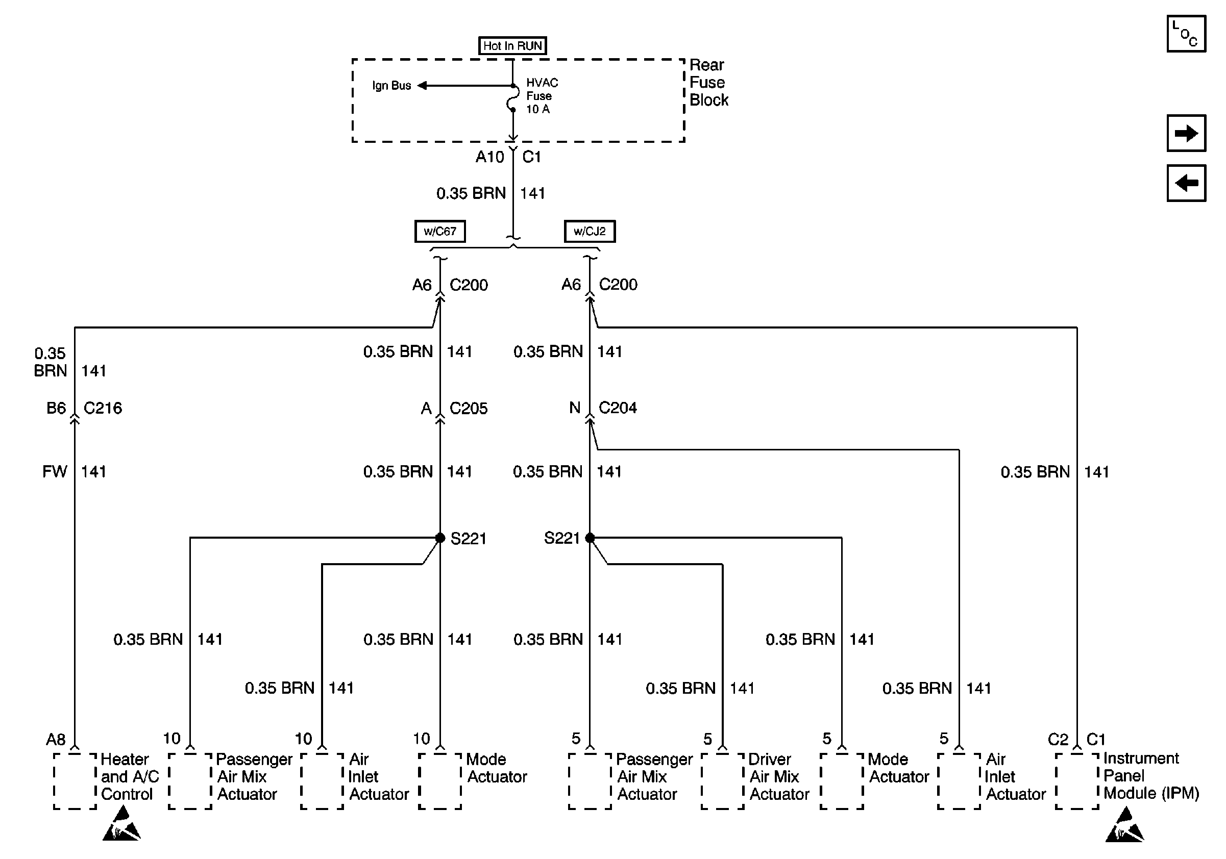
🢒 HVAC Fuse (Rear Fuse Block)
HVAC Fuse (Rear Fuse Block)
HVAC Fuse (Rear Fuse Block)
Power and Grounding Components
HVAC BLO and AUDIO AMP Fuses, RAP and F/PMP Relays (Rear Fuse Block)
IGN3 and ABS Fuses (Rear Fuse Block)
Battery Feed to the Rear Fuse Block
Handling ESD Sensitive Parts Notice
Handling ESD Sensitive Parts Notice