GM Service Manual Online
For 1990-2009 cars only
Makes
🢒
Buick
🢒
2000
🢒
LeSabre
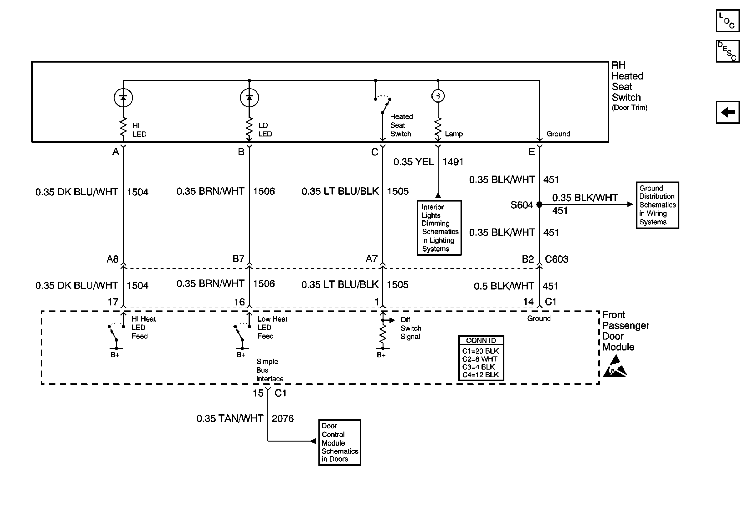
🢒 RH Heated Seat Switch
RH Heated Seat Switch
RH Heated Seat Switch
Power Seat Systems Components
Heated Seats Circuit Description
LH Front Heated Seat Switch
Front Door Dimming
Simple Bus Interface
RH Front Door