GM Service Manual Online
For 1990-2009 cars only
Makes
🢒
Buick
🢒
2000
🢒
LeSabre
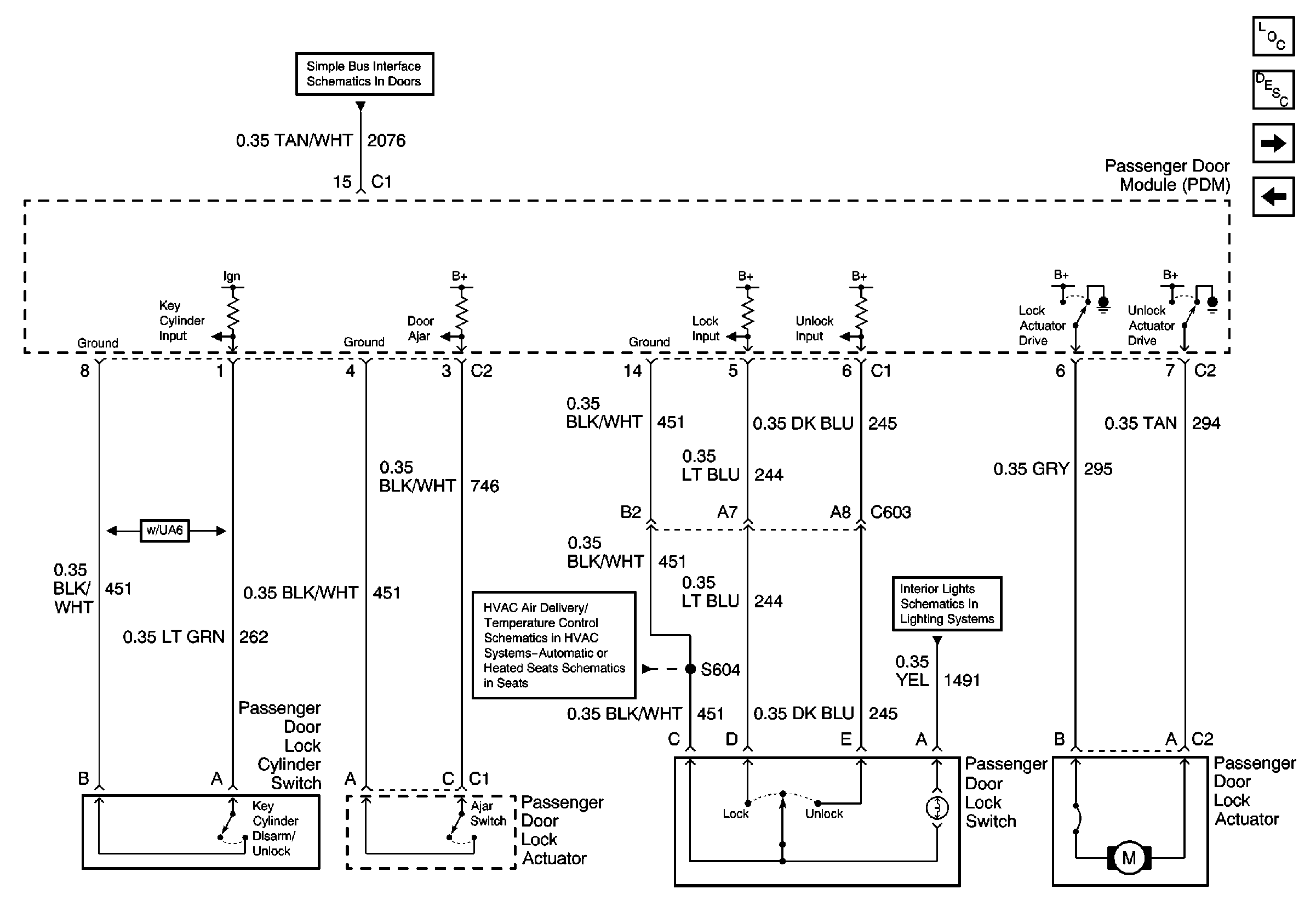
🢒 RH Front Door
RH Front Door
RH Front Door
Power Door Locks Operation
Power Door Systems Components
LH Rear Door
LH Front Door
Simple Bus Interface
G201 (1 of 2)
Front Door Dimming