GM Service Manual Online
For 1990-2009 cars only
Makes
🢒
Buick
🢒
2000
🢒
LeSabre
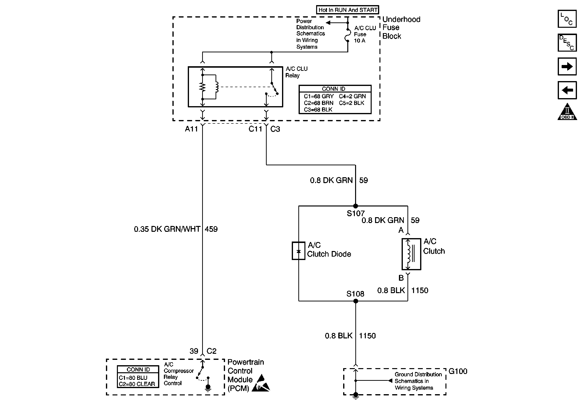
🢒 A/C Clutch and Relay
A/C Clutch and Relay
A/C Clutch and Relay
Engine Controls Components
Powertrain Control Module Controlled Air Conditioning Description
Air Pump Motor and Vacuum Valve Solenoid, NC8 Only
Generator, EBCM, Oil level and Auto Trans Shift Lock Control Switches
START Circuit Breaker, START, HORN and A/C CLUTCH Relay, HORN and A/C CLU Fuses (Underhood Fuse Block)
G100 and G102
Handling ESD Sensitive Parts Notice