GM Service Manual Online
For 1990-2009 cars only
Makes
🢒
Buick
🢒
2000
🢒
LeSabre
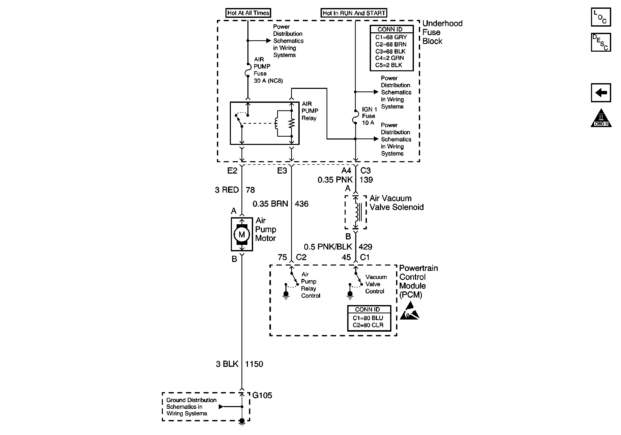
🢒 Air Pump Motor and Vacuum Valve Solenoid, NC8 Only
Air Pump Motor and Vacuum Valve Solenoid, NC8 Only
Air Pump Motor and Vacuum Valve Solenoid, NC8 Only
Engine Controls Components
A/C Clutch and Relay
OBD II Symbol Description Notice
Handling ESD Sensitive Parts Notice
AIR PUMP and ACCY Relays, AIR, C/LTR, AUX PWR, WSW and ACCY Fuses (Underhood Fuse Block)
IGN-1 Relay, TRANS, DIS, OXY SEN and IGN 1 Fuses (Underhood Fuse Block)
G104 and G105