GM Service Manual Online
For 1990-2009 cars only
Makes
🢒
Buick
🢒
2000
🢒
LeSabre
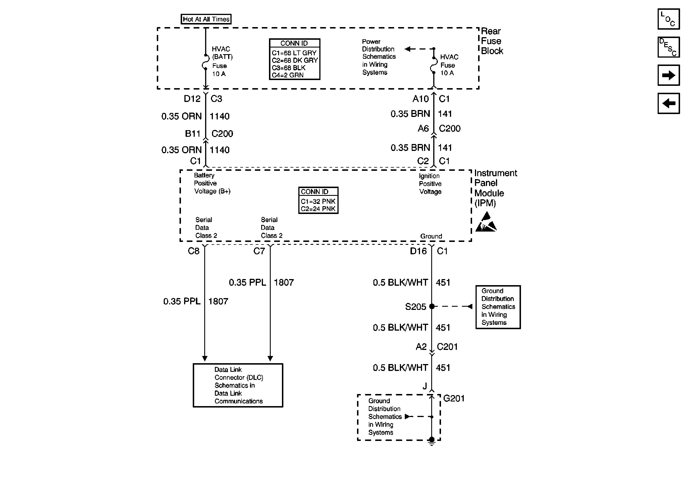
🢒 IPM Power and Grounds
IPM Power and Grounds
IPM Power and Grounds
HVAC Fuse (Rear Fuse Block)
Serial Data Class 2
G201
G201
Handling ESD Sensitive Parts Notice
Body Control Module Components
Body Control System Circuit Description
IPM Input/Output (1 of 2)
DIM Input/Output (2 of 2)