GM Service Manual Online
For 1990-2009 cars only
Makes
🢒
Buick
🢒
2000
🢒
LeSabre
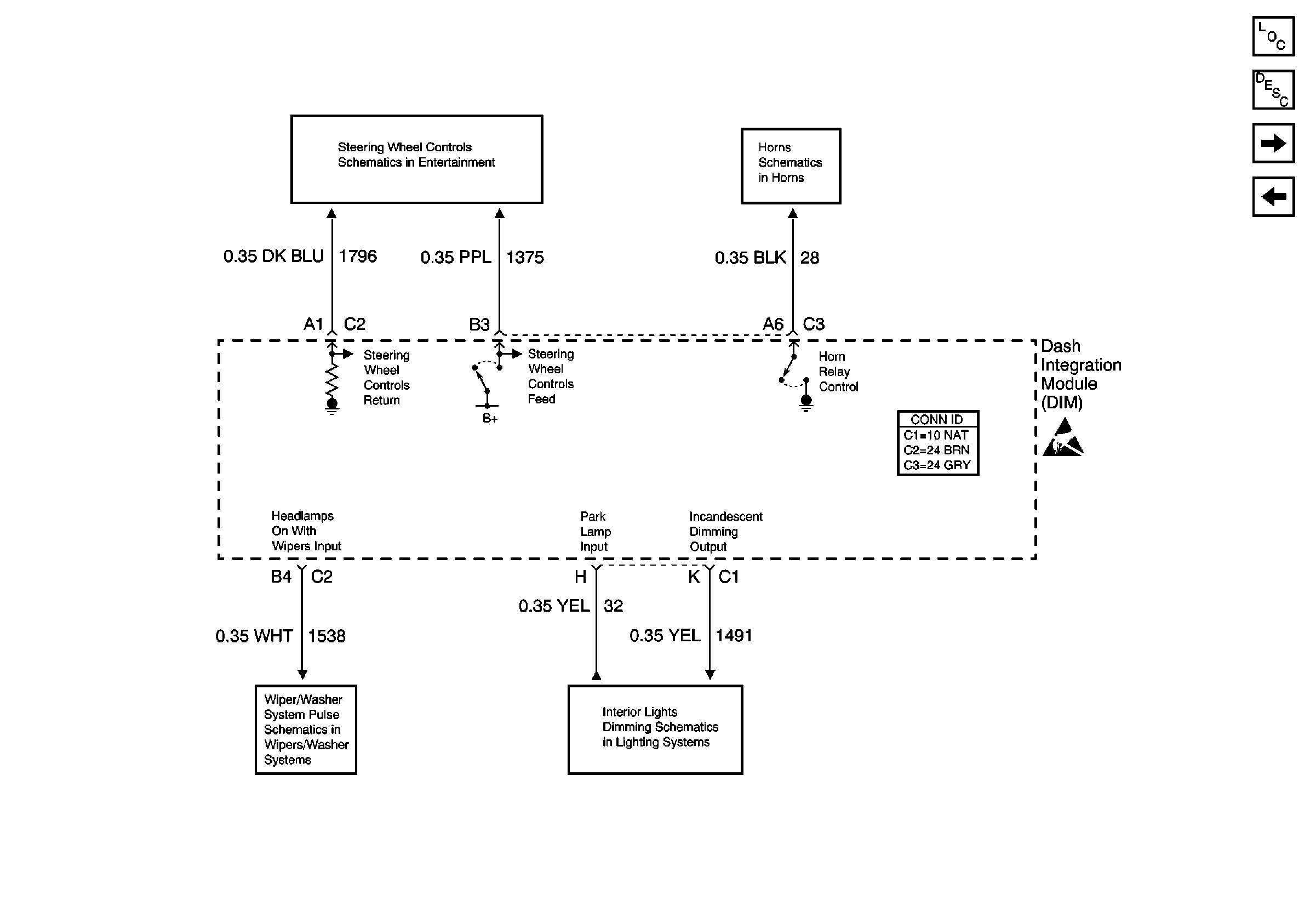
🢒 DIM Input/Output (2 of 2)
DIM Input/Output (2 of 2)
DIM Input/Output (2 of 2)
220 Cell 152 Steering Wheel Controls
Horns
Wiper Washer Switch and Fuse
Dimmer Control
Handling ESD Sensitive Parts Notice
Body Control Module Components
Body Control System Circuit Description
IPM Power and Grounds
DIM Input/Output (1 of 2)