GM Service Manual Online
For 1990-2009 cars only
Makes
🢒
Buick
🢒
2000
🢒
LeSabre
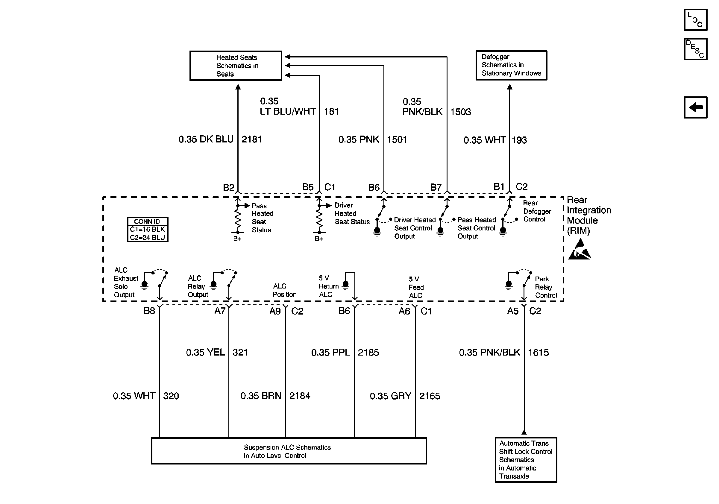
🢒 RIM Input/Output (2 of 2)
RIM Input/Output (2 of 2)
RIM Input/Output (2 of 2)
Front Heated Seats (Partial)
Rear Window Defogger
Handling ESD Sensitive Parts Notice
Automatic Level Control Suspension Schematics
Auto Trans Shift Lock Control Solenoid: Class 2
Body Control Module Components
Body Control System Circuit Description
RIM Input/Output (1 of 2)