GM Service Manual Online
For 1990-2009 cars only
Makes
🢒
Buick
🢒
2000
🢒
LeSabre
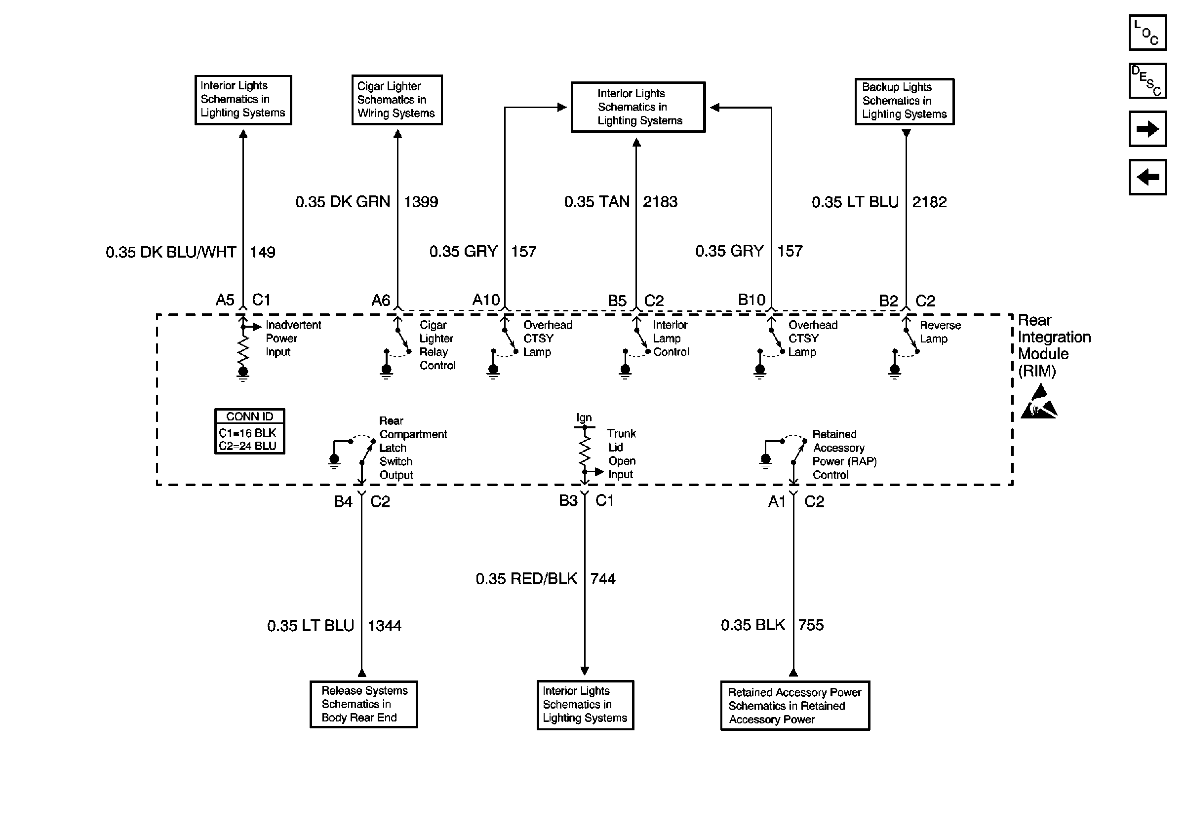
🢒 RIM Input/Output (1 of 2)
RIM Input/Output (1 of 2)
RIM Input/Output (1 of 2)
Interior Lamp Relay
Cigar Lighter/Auxiliary Outlets Schematics
LH Courtesy Lamps
Backup Lamps
Rear Compartment Lid Release
LH Courtesy Lamps
Power, Ground, and Components
Handling ESD Sensitive Parts Notice
Body Control Module Components
Body Control System Circuit Description
RIM Input/Output (2 of 2)
RIM Power and Grounds