GM Service Manual Online
For 1990-2009 cars only
Makes
🢒
Buick
🢒
2000
🢒
LeSabre
🢒 Traction Control (w/NW9) and Variable Effort Steering (w/NV8)
Traction Control (w/NW9) and Variable Effort Steering (w/NV8)
Traction Control (w/NW9) and Variable Effort Steering (w/NV8)
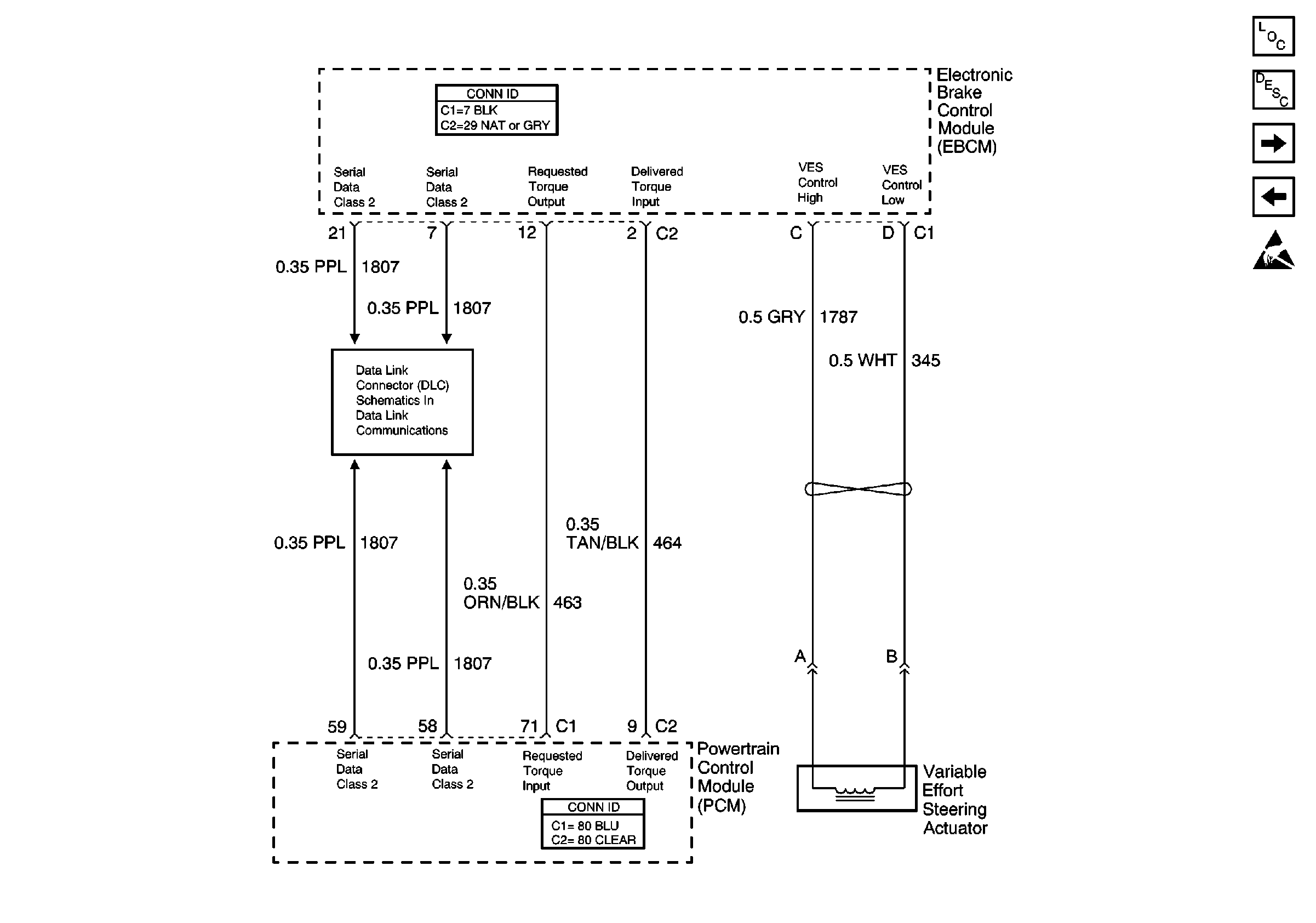
ABS Components
ABS Description
Indicators and Traction Control Switch
Vehicle Stability Enhancement System (w/JL4)
Handling ESD Sensitive Parts Notice
Serial Data Class 2