GM Service Manual Online
For 1990-2009 cars only

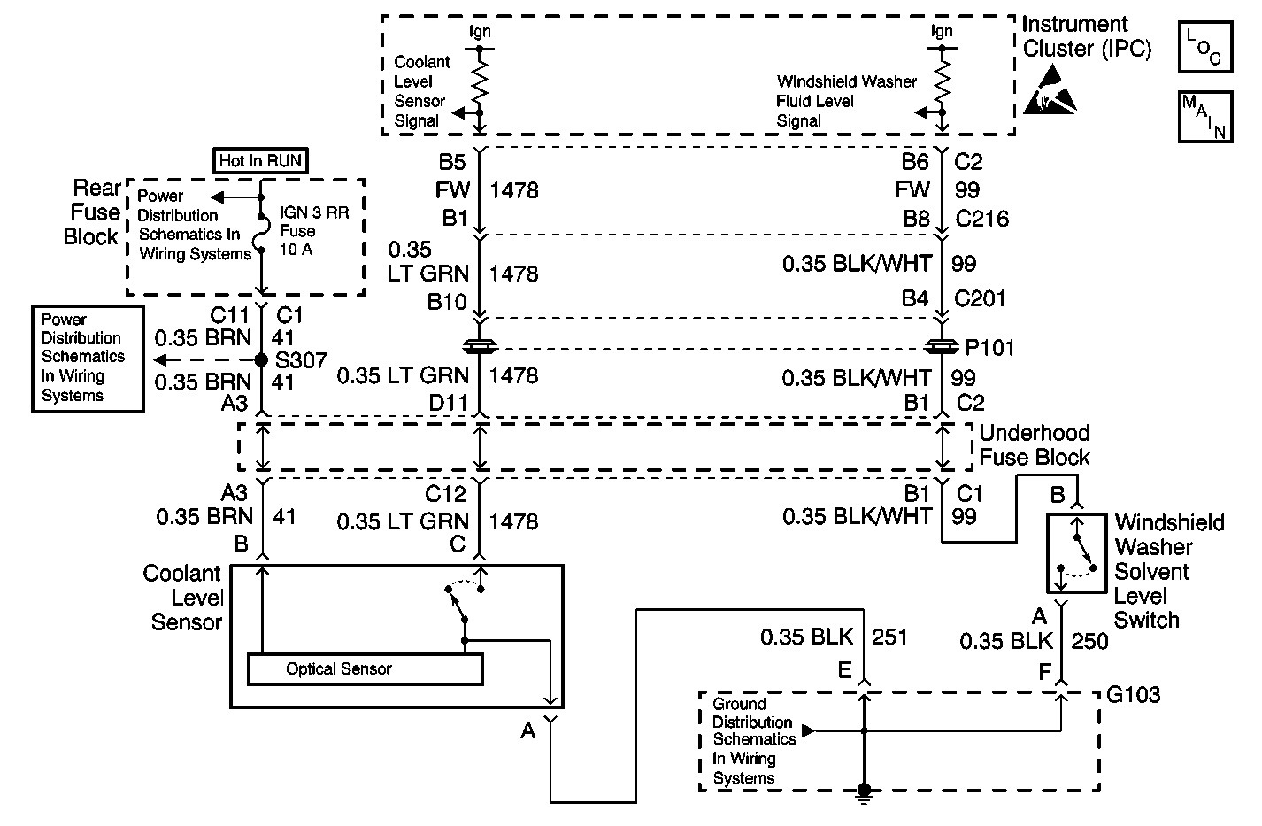
Object Number: 439554  Size: MF
Instrument Cluster and HUD Components
Coolant, Brake, Washer Inputs
G103
IGN3 and ABS Fuses (Rear Fuse Block)
IGN3 and ABS Fuses (Rear Fuse Block)
Handling ESD Sensitive Parts Notice

Circuit Description

The instrument panel cluster (IPC) monitors the engine coolant level via a coolant level sensor. The sensor is a module that will switch to ground or provide an open circuit depending on the coolant level. The sensor provides a ground for low coolant level and an open circuit for normal coolant level. Upon every IGN3 powerup, the coolant level sensor grounds the signal circuit momentarily causing the signal circuit to go low. The coolant level sensor will then open the ground path, causing the signal circuit to go high for a predetermined amount of time regardless of coolant level. The IPC will use this toggling ground signal in order to perform diagnostics on the sensor. The IPC will start monitoring the coolant level, after the IPC has successfully detected a coolant level sensor present, when the IPC begins to receive an open circuit signal from the coolant sensor.

Conditions for Running the DTC

The ignition is turned from CRANK to RUN.

Conditions for Setting the DTC

The IPC does not detect the signal circuit is grounded when the ignition is turned from CRANK to RUN.

Action Taken When the DTC Sets

The DIC will display the CHECK COOLANT & SERVICE SENSOR message.

Conditions for Clearing the DTC

    • The DTC will become history if the IPC does not detect a failure the next time the ignition is turned from CRANK to RUN.
    • The history DTC will clear after 50 fault free ignition cycles.
    • The DTC can be cleared with a scan tool.

Test Description

The numbers below refer to the step numbers on the diagnostic table.

  1. Verifies that the fault is present.

  2. Tests for an open in the signal circuit of the coolant level sensor. If the fuse in the jumper opens when you perform this test, the signal circuit is shorted to voltage.

Step

Action

Value(s)

Yes

No

1

Did you perform the Instrument Cluster Diagnostic System Check?

--

Go to Step 2

Go to Diagnostic System Check - Instrument Cluster

2

Start the engine.

Does the DIC display CHECK COOLANT & SERVICE SENSOR?

--

Go to Step 3

Go to Diagnostic Aids

3

  1. Turn OFF the ignition.
  2. Disconnect the coolant level sensor.
  3. Turn ON the ignition, with the engine OFF.
  4. Probe the ignition positive voltage circuit of the coolant level sensor with a test lamp that is connected to a good ground.

Does the test lamp illuminate?

--

Go to Step 4

Go to Step 6

4

Probe the ignition positive voltage circuit of the coolant level sensor with a test lamp that is connected to the ground circuit of the coolant level sensor.

Does the test lamp illuminate?

--

Go to Step 5

Go to Step 7

5

  1. Turn OFF the ignition.
  2. Connect a 3 amp fused jumper wire between the signal circuit of the coolant level sensor and the ground circuit of the coolant level sensor.
  3. Start the engine.
  4. With a scan tool, observe the Low Coolant Level parameter in the Instrument Panel Cluster data list.

Does the scan tool display On?

--

Go to Step 9

Go to Step 8

6

Test the ignition positive voltage circuit of the coolant level sensor for a high resistance or an open. Refer to Circuit Testing and Wiring Repairs in Wiring Systems.

Did you find and correct the condition?

--

Go to Step 13

Go to Step 10

7

Test the ground circuit of the coolant level sensor for a high resistance or an open. Refer to Circuit Testing and Wiring Repairs in Wiring Systems.

Did you find and correct the condition?

--

Go to Step 13

Go to Step 10

8

Test the signal circuit of the coolant level sensor for a short to voltage, a high resistance, or an open. Refer to Circuit Testing and Wiring Repairs in Wiring Systems.

Did you find and correct the condition?

--

Go to Step 13

Go to Step 10

9

Inspect for poor connections at the harness connector of the coolant level sensor. Refer to Testing for Intermittent Conditions and Poor Connections and Connector Repairs in Wiring Systems.

Did you find and correct the condition?

--

Go to Step 13

Go to Step 11

10

Inspect for poor connections at the harness connector of the instrument panel cluster. Refer to Testing for Intermittent Conditions and Poor Connections and Connector Repairs in Wiring Systems.

Did you find and correct the condition?

--

Go to Step 13

Go to Step 12

11

Replace the coolant level sensor. Refer to Coolant Level Sensor Replacement .

Did you complete the replacement?

--

Go to Step 13

--

12

Replace the instrument panel cluster. Refer to Instrument Cluster Replacement .

Did you complete the replacement?

--

Go to Step 13

--

13

  1. Use the scan tool in order to clear the DTCs.
  2. Turn the ignition from CRANK to RUN.
  3. Operate the vehicle within the Conditions for Running the DTC as specified in the supporting text.

Does the DTC reset?

--

Go to Step 2

System OK