GM Service Manual Online
For 1990-2009 cars only

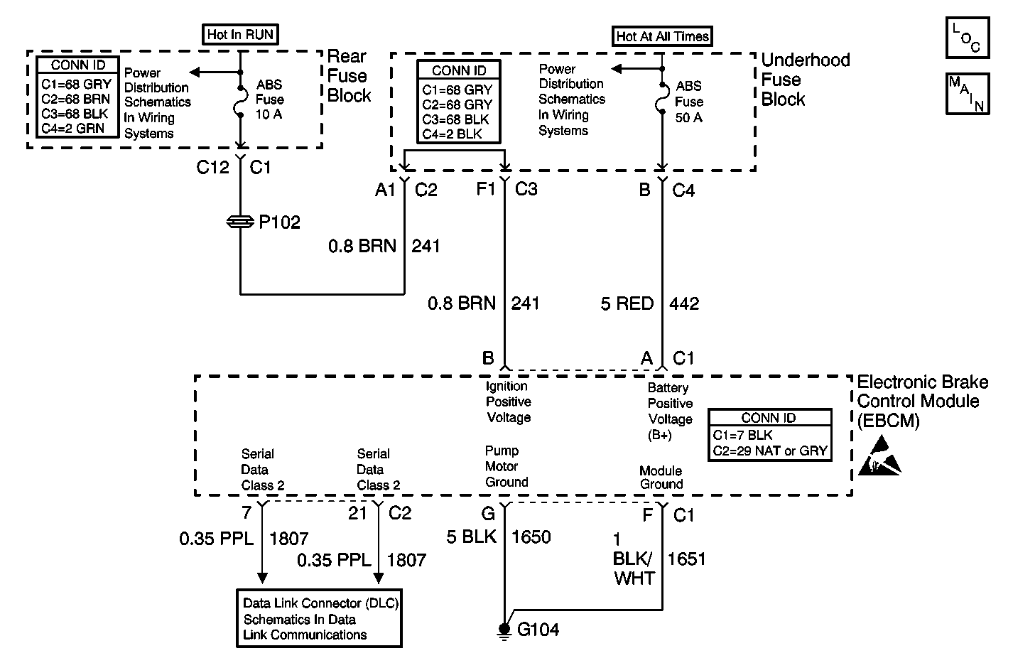
Object Number: 456417  Size: MF
ABS Components
PWR, GND, Stoplamp Switch, Solenoid Valves, and Pump Motor
Handling ESD Sensitive Parts Notice
Battery Feed to the Rear Fuse Block
Battery Feed to the Underhood Fuse Block
Serial Data Class 2

Circuit Description

The electronic brake control module (EBCM) monitors the voltage level available for system operation. If the voltage level is too high, damage may result in the system. When the EBCM detects a high voltage condition, the EBCM turns OFF the system relay which removes battery voltage from the solenoid valves and pump motor.

Conditions for Running the DTC

The vehicle speed is greater than 8 km/h (5 mph).

Conditions for Setting the DTC

The system voltage is greater than 17 volts for 0.7 seconds.

Action Taken When the DTC Sets

If equipped, the following actions occur:

    • The EBCM disables the ABS/TCS/VSES/DRP for the duration of the ignition cycle.
    • The ABS indicator turns ON.
    • The TRACTION OFF indicator turns ON.
    • The DIC displays the SERVICE STABILITY SYSTEM message.
    • DTC C1248 also sets.
    • The red BRAKE warning indicator turns ON.

Conditions for Clearing the DTC

    • The condition for the DTC is no longer present and the DTC is cleared with a scan tool.
    • The electronic brake control module (EBCM) automatically clears the history DTC when a current DTC is not detected in 100 consecutive drive cycles.

Diagnostic Aids

A possible cause of this DTC is overcharging.

Test Description

The numbers below refer to the step numbers on the diagnostic table.

  1. This step uses the scan tool to inspect the voltage to the EBCM.

  2. This step uses the scan tool to inspect the voltage to the dash integration module (DIM). A high voltage value in multiple modules indicates a concern in the charging system.

  3. This step verifies that the condition is still present.

Step

Action

Value(s)

Yes

No

1

Did you perform the ABS Diagnostic System Check?

--

Go to Step 2

Go to Diagnostic System Check - ABS

2

  1. Turn OFF all of the accessories.
  2. Install a scan tool.
  3. Start the engine.
  4. Run the engine at approximately 2000 RPM.
  5. With a scan tool, observe the Switched System Battery Voltage parameter in the DRP/ABS/TCS/TIM data list.

Does the scan tool indicate that the voltage is greater than the specified value?

17 V

Go to Step 3

Go to Diagnostic Aids

3

With a scan tool, observe the Battery Voltage parameter in the Dash Integration Module data list.

Does the scan tool indicate that the voltage is greater than the specified value?

17 V

Go to Diagnostic System Check - Engine Electrical in Engine Electrical

Go to Step 4

4

  1. Use the scan tool in order to clear the DTCs.
  2. Operate the vehicle within the conditions for Running the DTC as specified in the supporting test.

Does the DTC reset?

--

Go to Step 5

Go to Diagnostic Aids

5

Important: Perform the setup procedure for the EBCM. An unprogrammed EBCM will result in the following conditions:

   • Inoperative of poorly functioning DRP/ABS/TCS/VSES/VES/TIM (if equipped)
   • Set DTC C1248 EBCM Turned the Red Brake Warning Indicator On
   • Set DTC C1255m3 EBCM Internal Malfunction

Replace the EBCM. Refer to Electronic Brake Control Module Replacement .

Did you complete the repair?

--

Go to Step 6

--

6

  1. Use the scan tool in order to clear the DTCs.
  2. Operate the vehicle within the conditions for Running the DTC as specified in the supporting test.

Does the DTC reset?

--

Go to Step 2

System OK