GM Service Manual Online
For 1990-2009 cars only
Makes
🢒
Buick
🢒
2000
🢒
Regal
🢒 Heated Oxygen Sensors
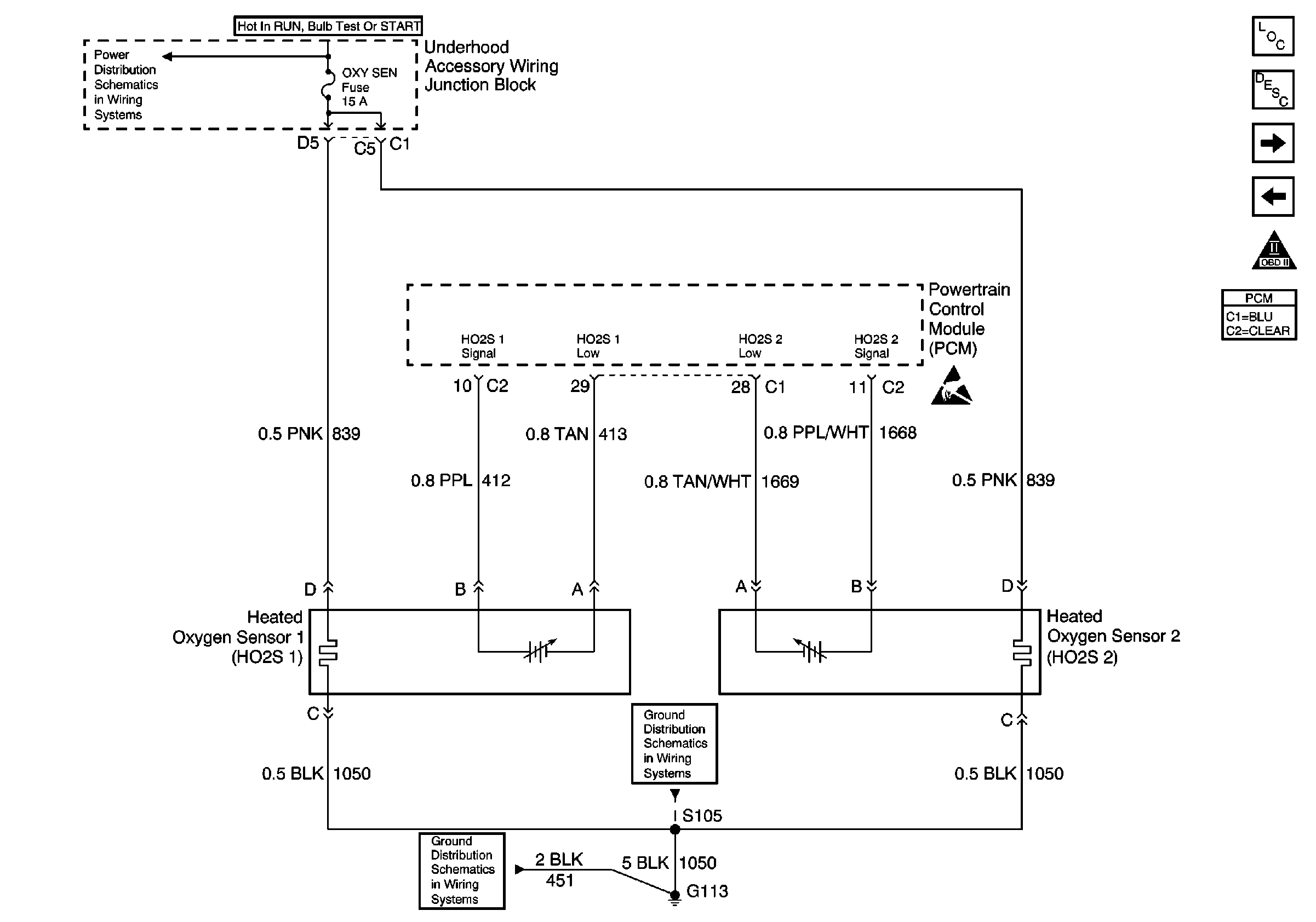
Heated Oxygen Sensors
Heated Oxygen Sensors
UAWJB, Automatic Transaxle, ICM, HO2S1 and HO2S2
G113 and G117
G113 and G117
Handling ESD Sensitive Parts Notice
Instrument Panel, Gages, and Console Component Views
Instrument Cluster Circuit Description
MAF Sensor, EVAP Canister Vent/Purge Solenoid Valve and EGR Valve
A/C Pressure Switch, Throttle Position Sensor, MAP Sensor, ECT Sensor and IAT Sensor
OBD II Symbol Description Notice