GM Service Manual Online
For 1990-2009 cars only
Makes
🢒
Buick
🢒
2000
🢒
Regal (China)
🢒 Rear Door Cigar Lightet Schematic
Rear Door Cigar Lightet Schematic
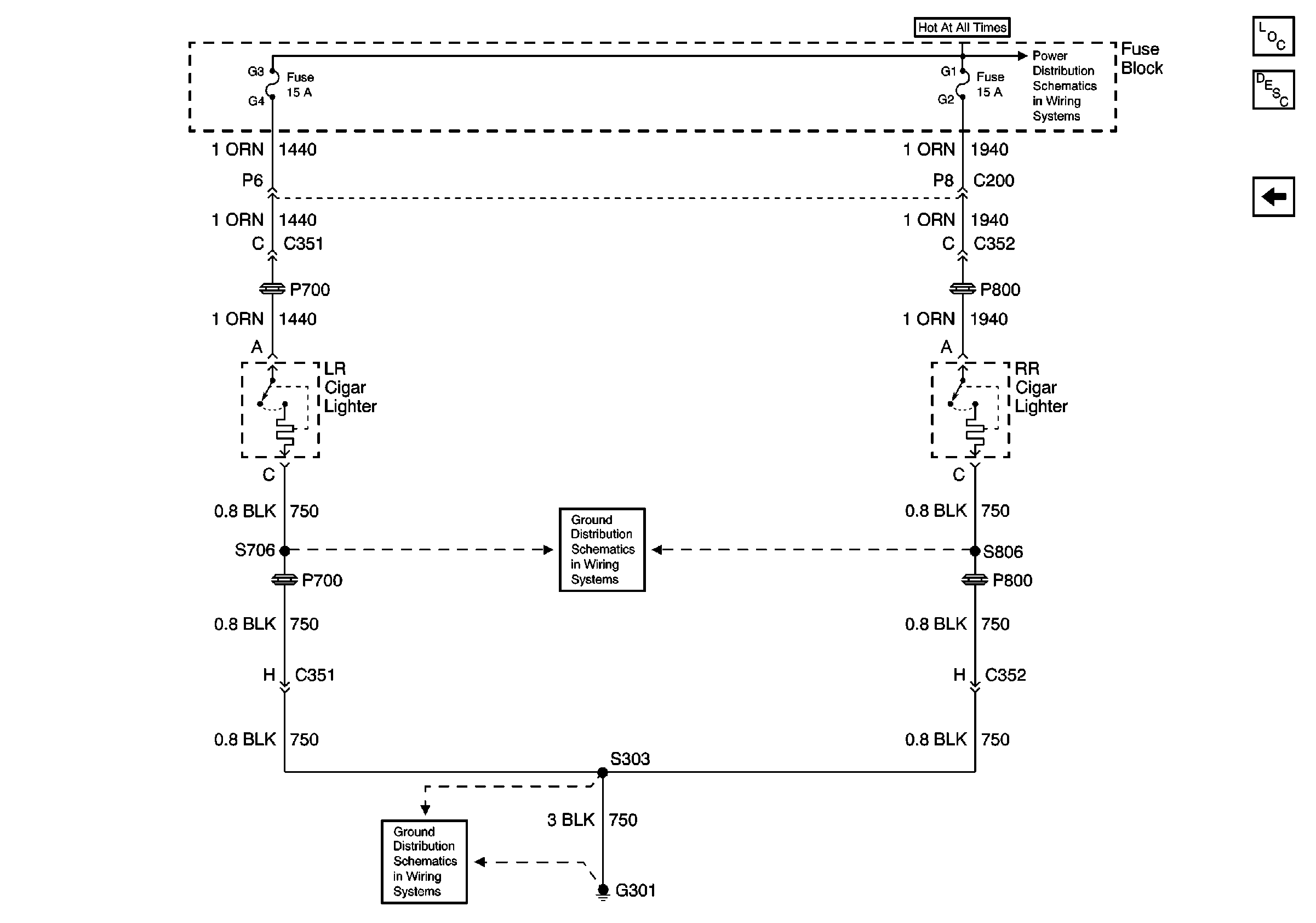
Cigar Lighter Schematic (Fuse Block, Rear Cigar Lighters and G301)
GLX: UAWJB, EBCM/EBTCM and Fuse Block
Power and Grounding Component Views
Cigar Lighter/Auxiliary Outlet Circuit Description
IP (Front) Cigar Lighter Schematic
G301 (3 of 3)
G301 (1 of 3)