GM Service Manual Online
For 1990-2009 cars only
Makes
🢒
Buick
🢒
2000
🢒
Regal (China)
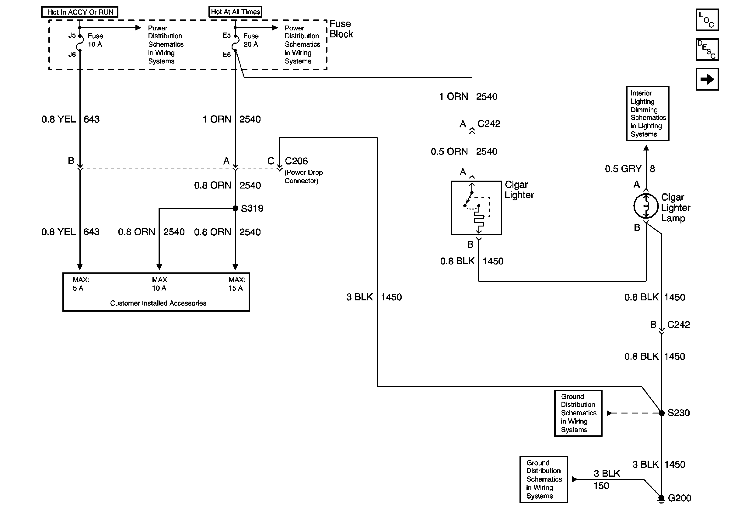
🢒 IP (Front) Cigar Lighter Schematic
IP (Front) Cigar Lighter Schematic
Cigar Lighter Schematic ( Fuse Block, C206, IP Cigar Lighter/Lamp and G200)
Battery, UAWJB and Fuse Block
GLX: RAP Relay, UAWJB, Ignition Switch and Fuse Block
Power and Grounding Component Views
Cigar Lighter/Auxiliary Outlet Circuit Description
Rear Door Cigar Lightet Schematic
Headlamp Switch, Cluster, HVAC, Rear Radio Control Module, Electronic Traction Control and Fog Lamp Assembly
G200 ( 1 of 2)
G200 ( 2 of 2)