GM Service Manual Online
For 1990-2009 cars only
Makes
🢒
Buick
🢒
1998
🢒
Riviera
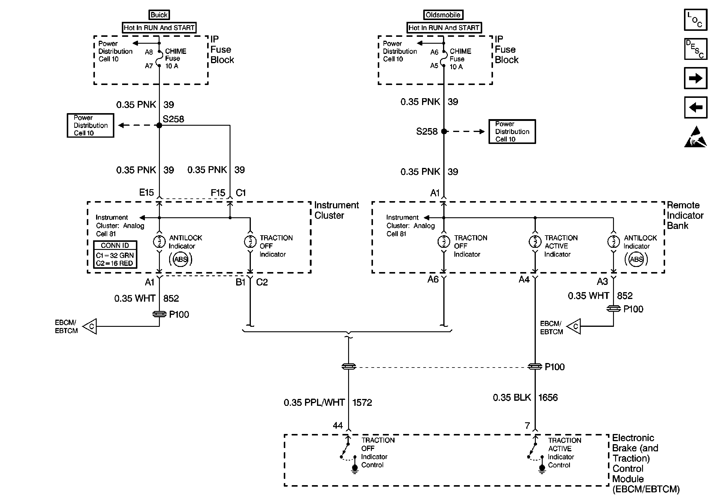
🢒 Cell 44: ABS and Traction Control Indicators
Cell 44: ABS and Traction Control Indicators
Cell 44: ABS and Traction Control Indicators
ABS Components
ABS/TCS System Description
Cell 44: Stoplamp/BTSI Switch, Inlet/Outlet Solenoid Valves, and Wheel Speed Sensors
Cell 44: PWR, GND, ABS Relays
Handling ESD Sensitive Parts Notice
Cell 10: CHIME (IGN 1) Fuse (Buick)
Cell 10: CHIME (IGN 1) Fuse (Oldsmobile)
Cell 10: IGN 3 Fuse and Ignition Switch (Buick)
Cell 10: IGN 3 Fuse, Ignition Switch (Oldsmobile)
Cell 44: PWR, GND, ABS Relays
Cell 44: PWR, GND, ABS Relays
Cell 81: Airbag Indicator
Cell 81: Airbag Indicator