GM Service Manual Online
For 1990-2009 cars only
Makes
🢒
Buick
🢒
1998
🢒
Riviera
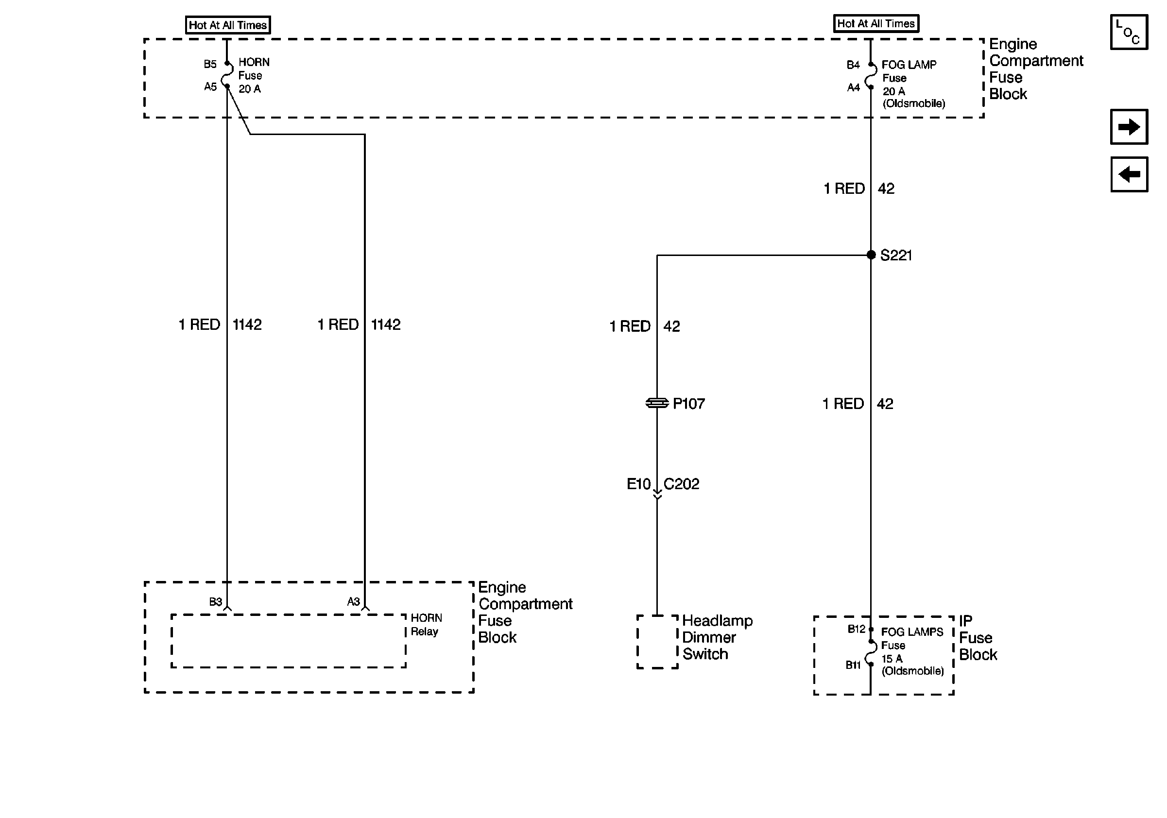
🢒 Cell 10: HORN Fuse and FOG LAMP Fuse
Cell 10: HORN Fuse and FOG LAMP Fuse
Cell 10: HORN Fuse and FOG LAMP Fuse
Power and Grounding Component Views
Cell 10: PCM/VATS Fuse and BOSE® Fuse
Cell 10: ABS PUMP MOTOR Fuse, ABS MAIN Fuse, and COOLING FAN Fuse
Cell 10: Battery