GM Service Manual Online
For 1990-2009 cars only
Makes
🢒
Buick
🢒
1998
🢒
Riviera
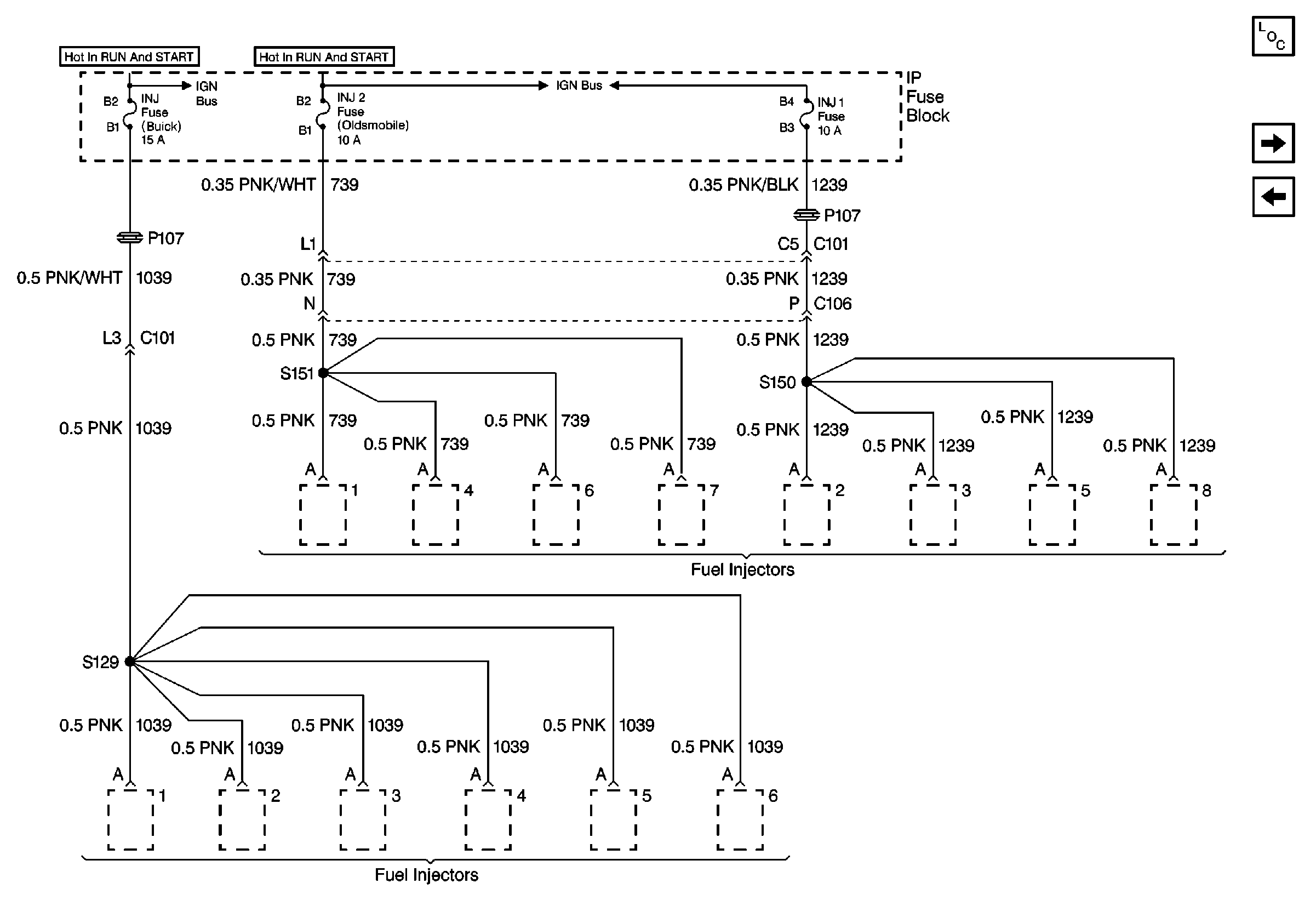
🢒 Cell 10: INJ Fuses
Cell 10: INJ Fuses
Cell 10: INJ Fuses
Power and Grounding Component Views
Cell 10: HVAC BLOWER Fuse, AIR BAG Fuse, and WSW Fuse
Cell 10: TURNLPS Fuse, FLAT PACK MTR Fuse, PERIM LP Fuse, and ABS Fuse
OBD II Symbol Description Notice
Cell 10: Battery