GM Service Manual Online
For 1990-2009 cars only
Makes
🢒
Buick
🢒
1998
🢒
Riviera
🢒 Cell 14: G202 (Oldsmobile 3 of 3)
Cell 14: G202 (Oldsmobile 3 of 3)
Cell 14: G202 (Oldsmobile 3 of 3)
Power and Grounding Components
Cell 14: G302 (1 of 2)
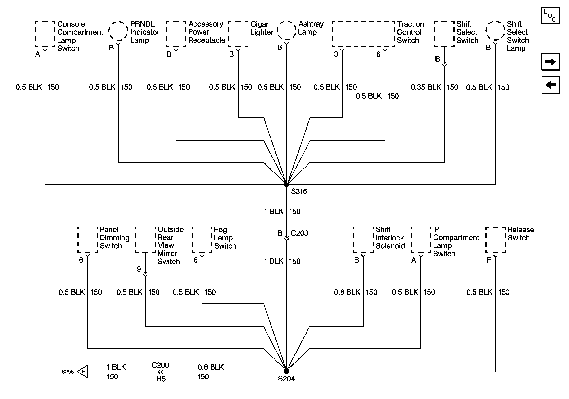
Cell 14: G202 (Buick 3 of 3)
Cell 14: G202 (Oldsmobile 1 of 3)