GM Service Manual Online
For 1990-2009 cars only
Makes
🢒
Cadillac
🢒
1997
🢒
Catera
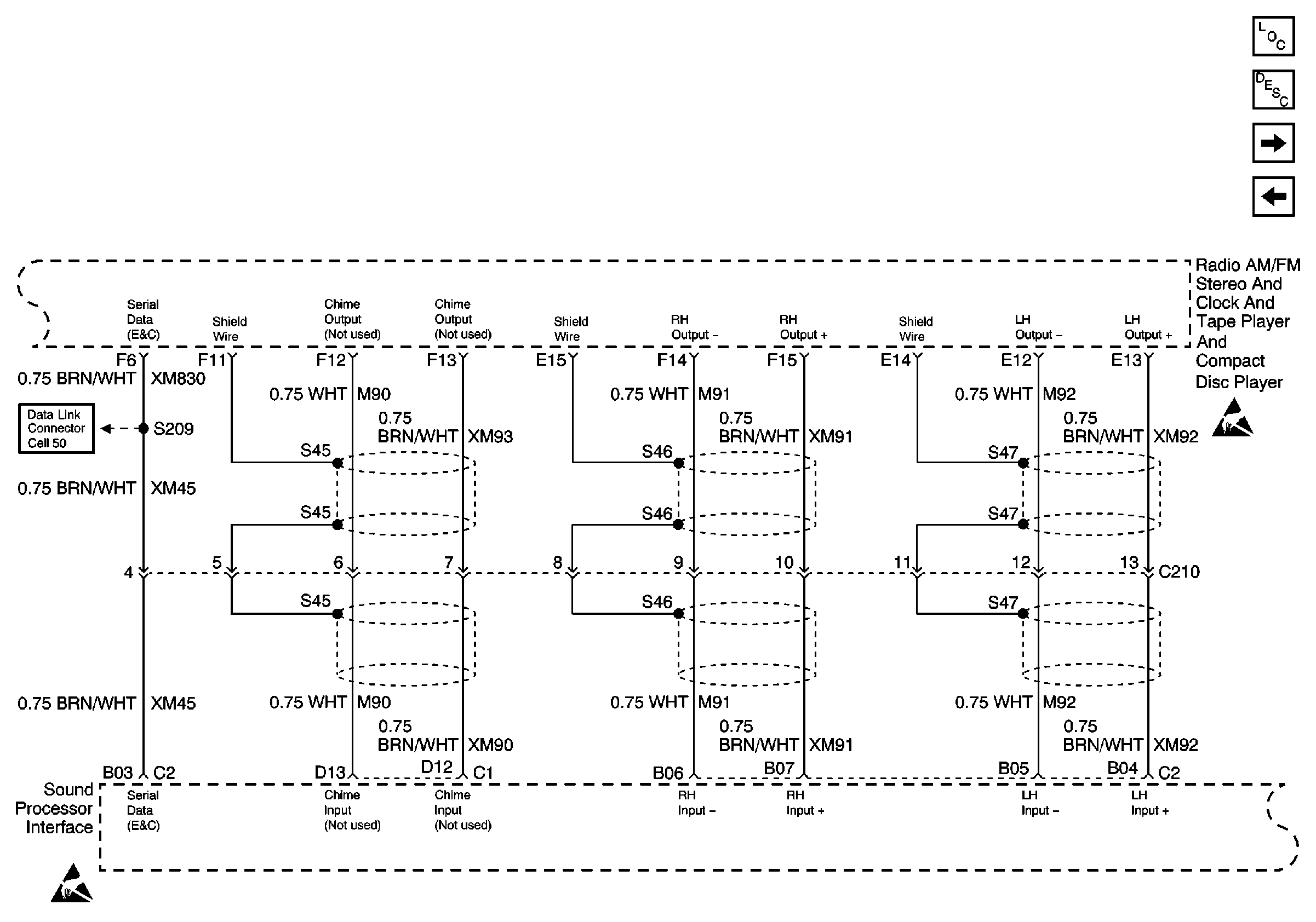
🢒 Cell 150 Radio and Sound Processor Interface (Bose® System)
Cell 150 Radio and Sound Processor Interface (Bose® System)
Cell 150 Radio and Sound Processor Interface (Bose® System)
Entertainment Components
Radio/Audio System Description
Cell 150 Compact Disk Changer and Sound Processor Interface (Bose® System)
Cell 150 Power and Ground for Radio and Cellular Telephone (Bose® System)
Cell 50 DLC Power and Ground
Handling Electrostatic Discharge Sensitive Parts Notice
Handling Electrostatic Discharge Sensitive Parts Notice