GM Service Manual Online
For 1990-2009 cars only
Makes
🢒
Cadillac
🢒
2001
🢒
Catera
🢒 Front Parking Lamps
Front Parking Lamps
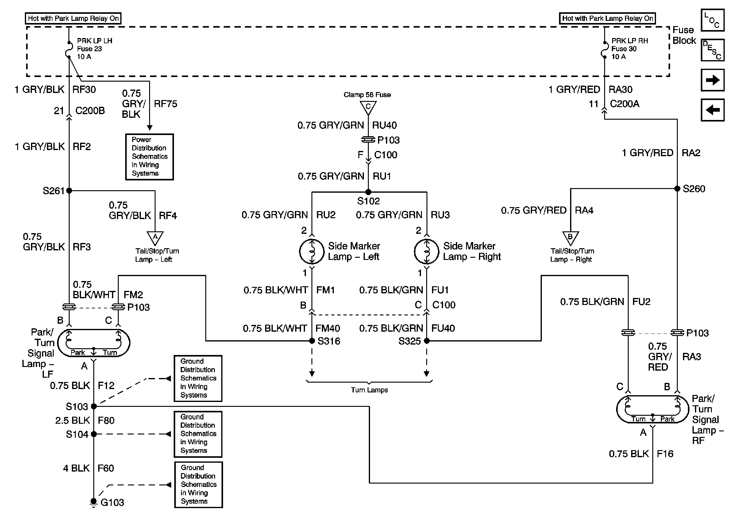
Park/Turn Signal Lamps and Side Marker Lamps
Master Electrical Component List
Exterior Lighting Systems Description and Operation
Rear Parking Lamps
Park Lamp Relay and Headlamp Switch
Park Lamp Relay and Headlamp Switch
Park Lamp Relay and Headlamp Switch
Fuse Block Fuses 22, 23, 30, and 31
Rear Parking Lamps
Rear Parking Lamps
Rear Parking Lamps
Turn/Hazard Lamps
G103 (4 of 8)
G103 (3 of 8)
G103 (1 of 8)