GM Service Manual Online
For 1990-2009 cars only
Makes
🢒
Cadillac
🢒
2001
🢒
Catera
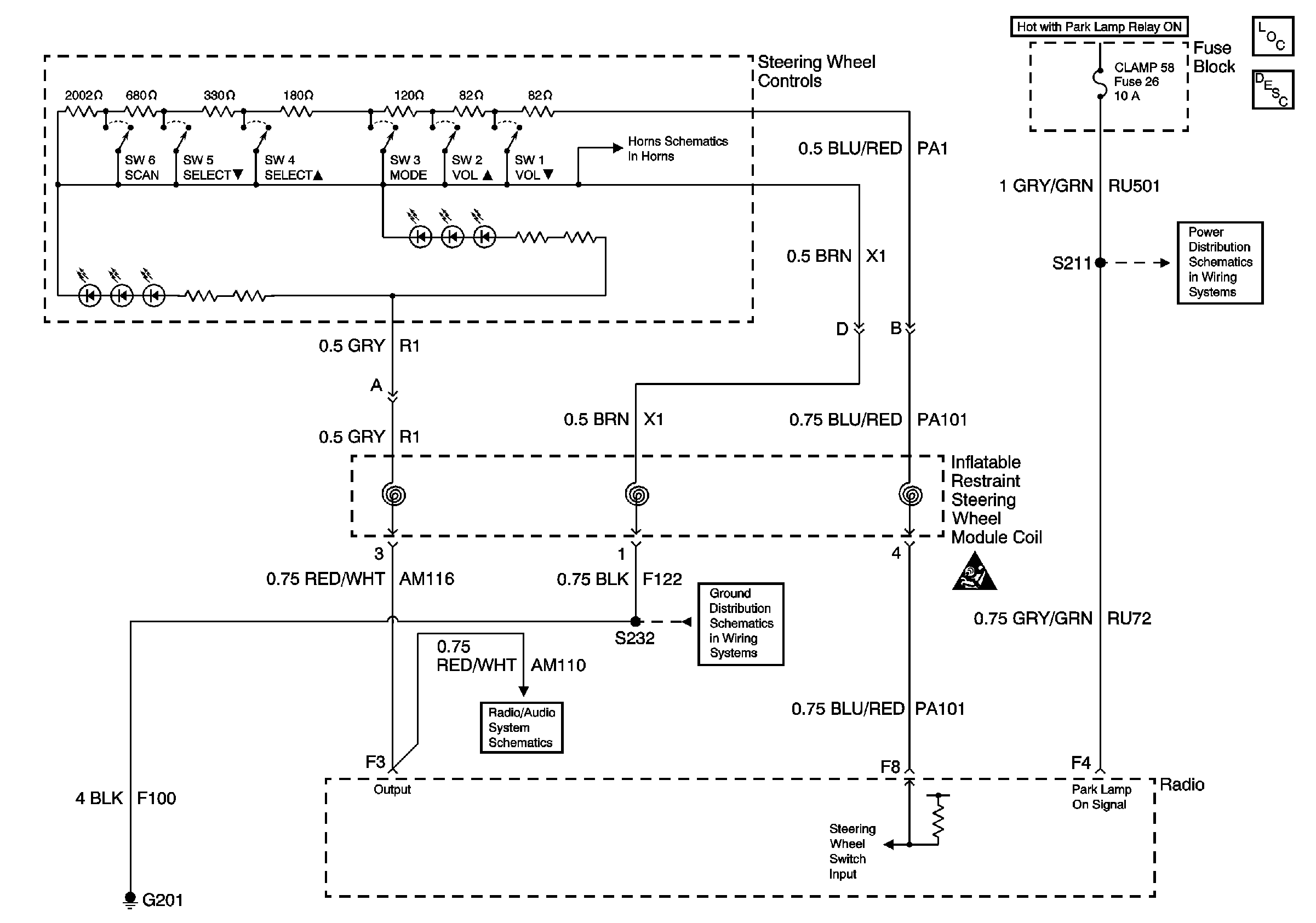
🢒 Steering Wheel Controls
Steering Wheel Controls
Master Electrical Component List
Radio/Audio System Description and Operation
Underhood Fuse Block Fuse V5 and Fuse Block Fuses 6, 7, 20, and 25
Horns
Fuse Block Fuse 26
Radio to Radio Antenna Amplifier
G201
SIR Schematic Icons