GM Service Manual Online
For 1990-2009 cars only
Makes
🢒
Cadillac
🢒
1997
🢒
Concours
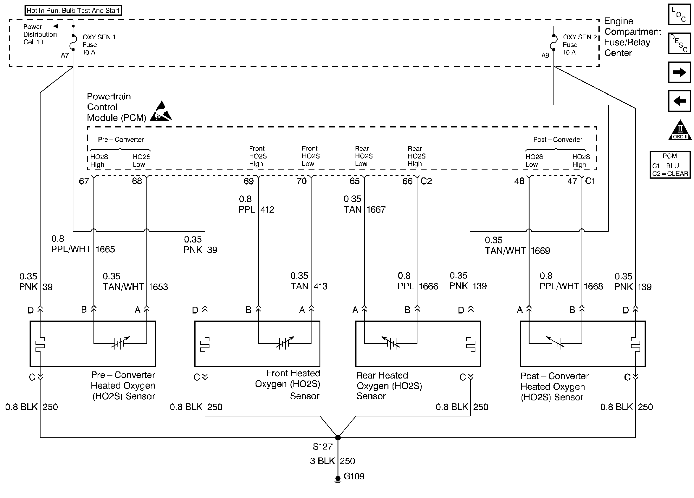
🢒 Heated Oxygen Sensors
Heated Oxygen Sensors
Heated Oxygen Sensors
Engine Controls Components
IAC Valve and PSP/ Oil Level/ TR Switches
MAF Sensor/ EVAP Components/ Linear EGR Valve
OBD II Symbol Description Notice
ESD Notice