GM Service Manual Online
For 1990-2009 cars only

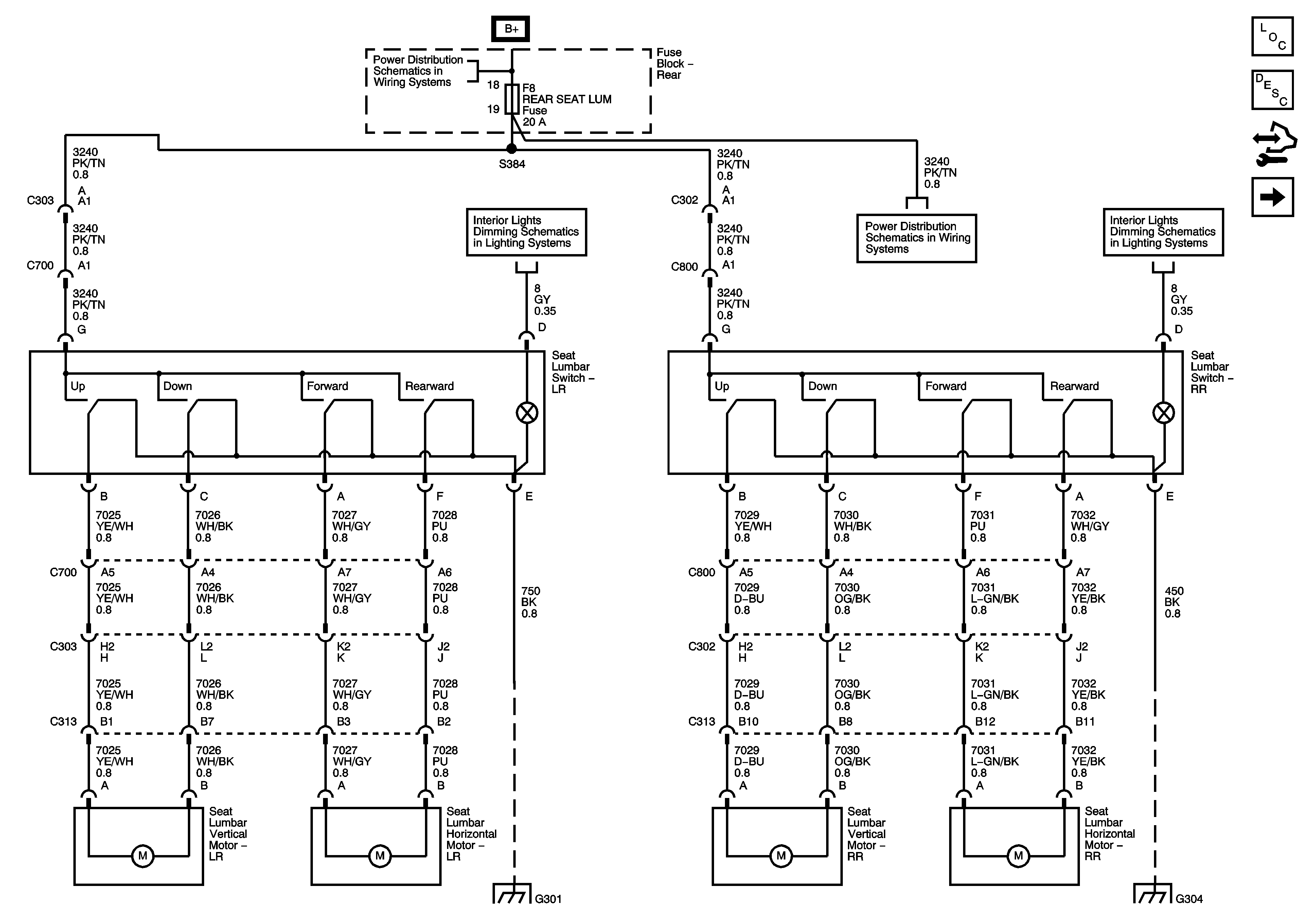
Rear Seat Schematics w/ARC

Figure 1:
Object Number: 1615603  Size: FS
Master Electrical Component List
Power Seats System Description and Operation
Control Module References
Left Rear Heated Seat Switch w/KA6
Rear Fuse Block B+ Bus
Window, Heated Seat, Seat Lumbar Switches
Rear Fuse Block - RAP Relay, CTSY/RF TRN, S/ROOF, SHFTR SOL, RAP, REAR SEAT LUM Fuses
Window, Heated Seat, Seat Lumbar Switches
G301
G304
Figure 2:

Left Rear Heated Seat Switch - w/KA6


Object Number: 1615605  Size: FS
Master Electrical Component List
Rear Heated Seats Description and Operation
Control Module References
Right Rear Heated Seat Switch w/KA6
w/ARC
Window, Heated Seat, Seat Lumbar Switches
HVAC Control Module, Steering Wheel, Heated Seat KA6, Telltale Assembly Info Center
G301
Figure 3:

Right Rear Heated Seat Switch - w/KA6


Object Number: 1615606  Size: FS
Master Electrical Component List
Rear Heated Seats Description and Operation
Control Module References
Rear Heated Seat Elements w/KA6
Left Rear Heated Seat Switch w/KA6
Window, Heated Seat, Seat Lumbar Switches
HVAC Control Module, Steering Wheel, Heated Seat KA6, Telltale Assembly Info Center
G301
Figure 4:

Heated Seat Elements - w/KA6


Object Number: 1615607  Size: FS
Master Electrical Component List
Rear Heated Seats Description and Operation
Control Module References
Right Rear Heated Seat Switch w/KA6
Rear Fuse Block B+ Bus
DLC Power, Ground, and Low Speed GMLAN
G301