GM Service Manual Online
For 1990-2009 cars only
Makes
🢒
Cadillac
🢒
1998
🢒
DeVille
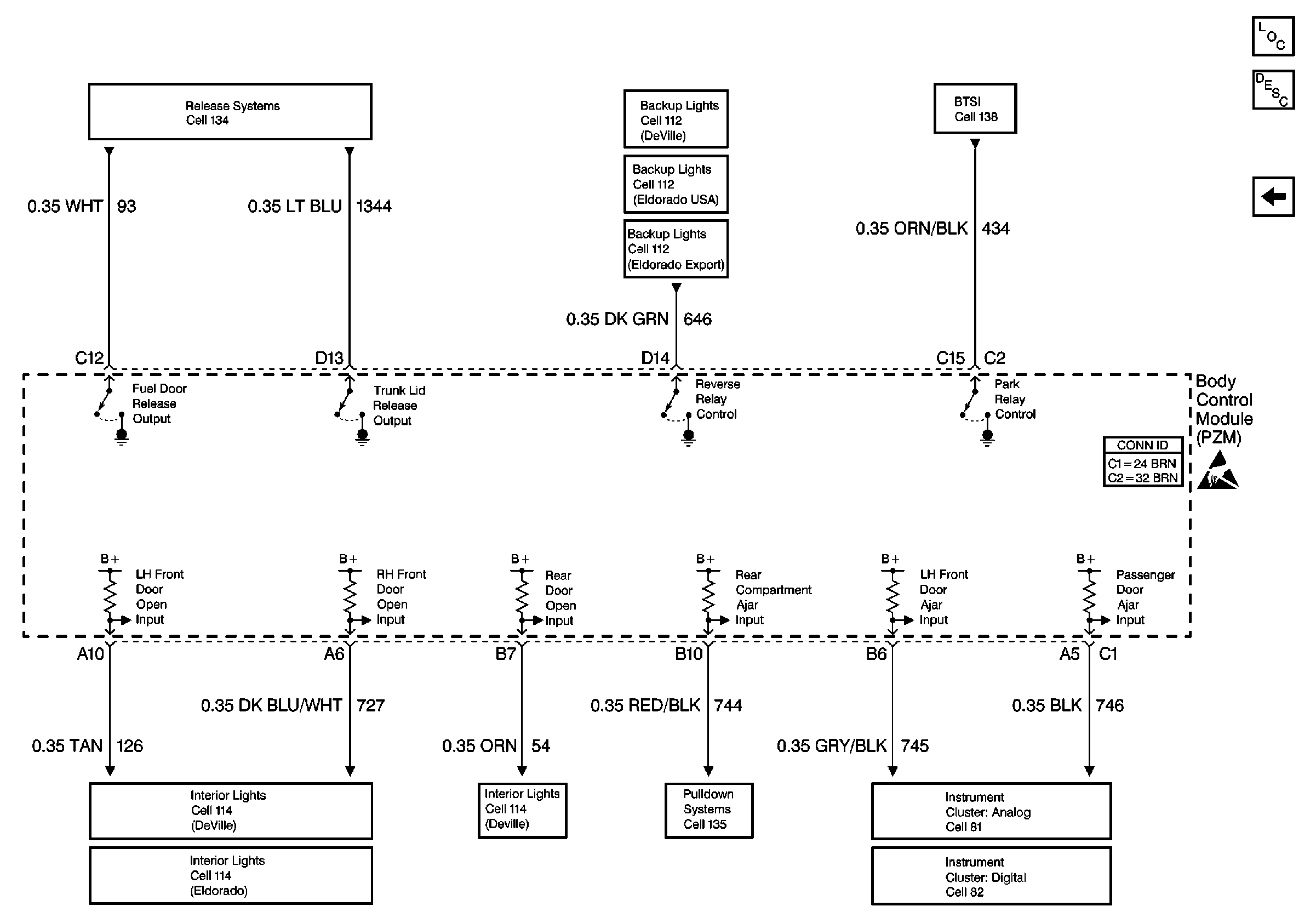
🢒 Cell 51: Body Control Module (PZM), Inputs and Outputs (2 of 2)
Cell 51: Body Control Module (PZM), Inputs and Outputs (2 of 2)
Cell 51: Body Control Module (PZM), Inputs and Outputs (2 of 2)
Release Systems Schematics
Backup Lamp Schematics
Backup Lamp Schematics
Backup Lamp Schematics
Body Control Module Components
Body Control System Description
Cell 51: Body Control Module (PZM), Inputs and Outputs(1 of 2)
Tilt Wheel/Column Schematic Icons
Body Control System Connector End Views
Handling ESD Sensitive Parts Notice
Interior Lights Schematics
Interior Lights Schematics
Interior Lights Schematics
Pulldown Systems Schematics
Instrument Cluster: Analog Schematics