GM Service Manual Online
For 1990-2009 cars only
Makes
🢒
Cadillac
🢒
1998
🢒
DeVille
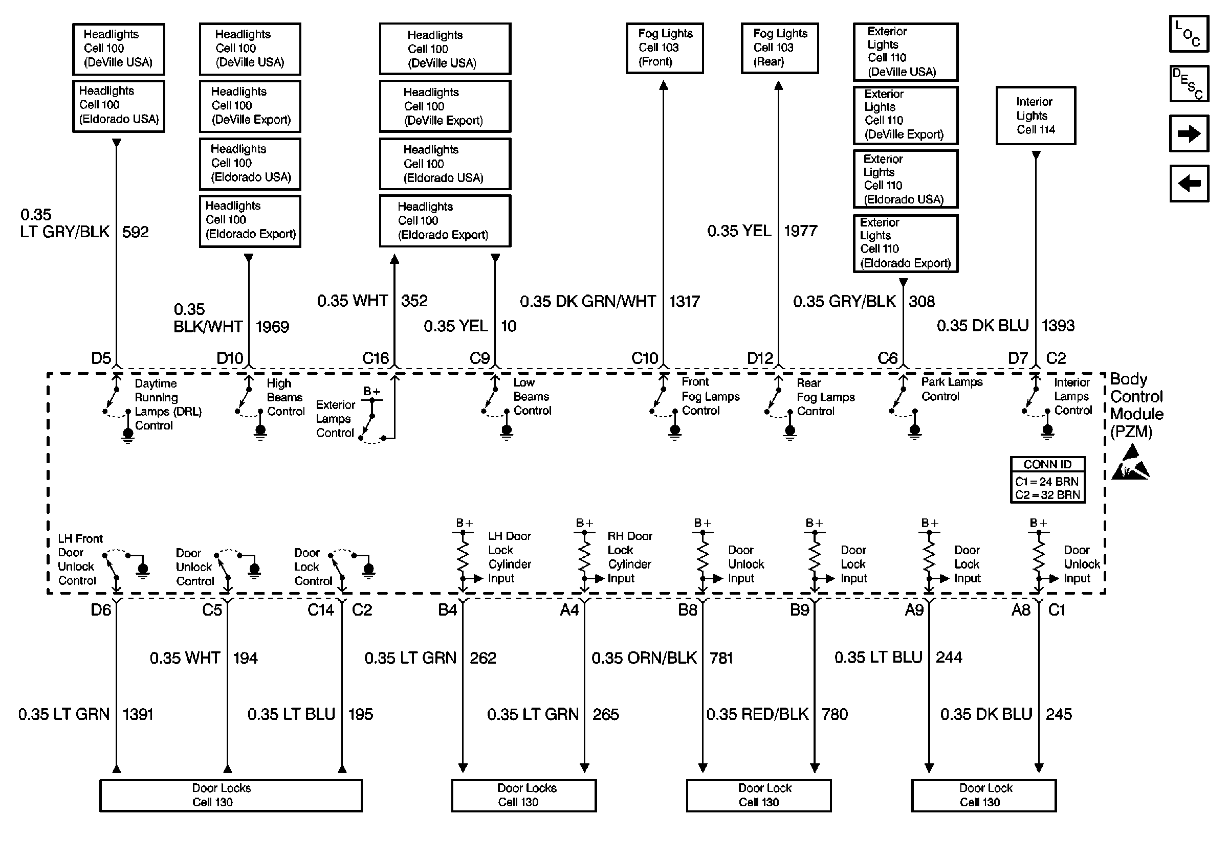
🢒 Cell 51: Body Control Module (PZM), Inputs and Outputs(1 of 2)
Cell 51: Body Control Module (PZM), Inputs and Outputs(1 of 2)
Cell 51: Body Control Module (PZM), Inputs and Outputs (1 of 2)
Body Control Module Components
Body Control System Description
Cell 51: Body Control Module (PZM), Inputs and Outputs (2 of 2)
Cell 51: Controlled Power Circuits
Handling ESD Sensitive Parts Notice
Door Lock/Indicator Schematics
Door Lock/Indicator Schematics
Door Lock/Indicator Schematics
Door Lock/Indicator Schematics
Body Control System Connector End Views
Interior Lights Schematics
Exterior Lights Schematics
Exterior Lights Schematics
Exterior Lights Schematics
Exterior Lights Schematics
Fog Lights Schematics
Fog Lights Schematics
Headlights Schematics
Headlights Schematics
Headlights Schematics
Headlights Schematics
Headlights Schematics
Headlights Schematics
Headlights Schematics
Headlights Schematics
Headlights Schematics
Headlights Schematics