GM Service Manual Online
For 1990-2009 cars only
Makes
🢒
Cadillac
🢒
1999
🢒
DeVille
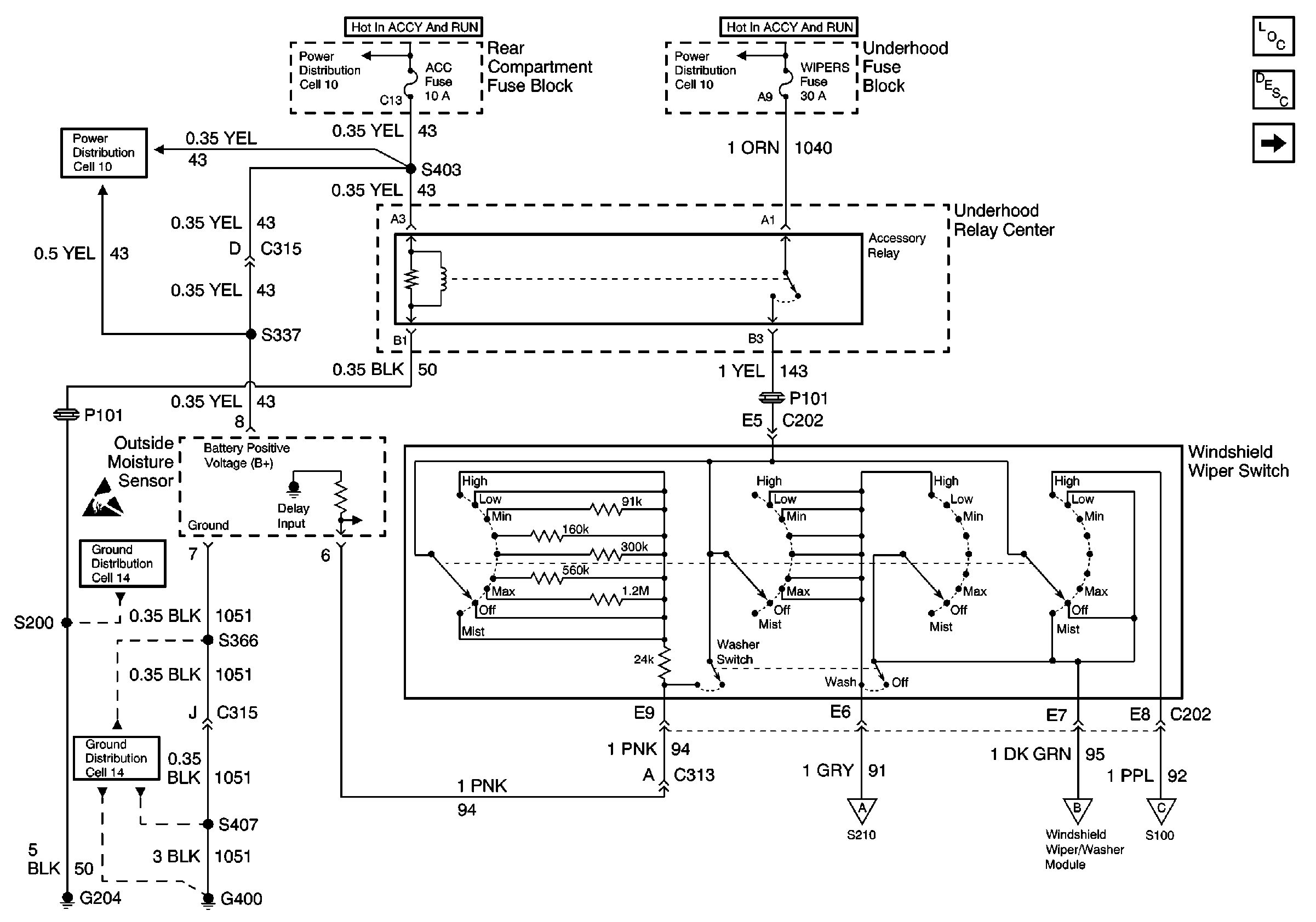
🢒 Cell 91: Power, Ground, and Switch Outputs
Cell 91: Power, Ground, and Switch Outputs
Cell 91: Power, Ground, and Switch Outputs
Wiper/Washer System Components
Wiper/Washer System Description Rainsense
Cell 91: Module Inputs
Cell 10: WIPERS, ACC, and CLUSTER Fuses
Cell 10: LH Underhood Fuse Block IGN 1 Fuse
Cell 10: WIPERS, ACC, and CLUSTER Fuses
Handling ESD Sensitive Parts Notice
Cell 14: G204
Cell 14: G400 (1 of 2)
Cell 91: Module Inputs
Cell 91: Module Inputs
Cell 91: Module Inputs