GM Service Manual Online
For 1990-2009 cars only
Makes
🢒
Cadillac
🢒
1999
🢒
DeVille
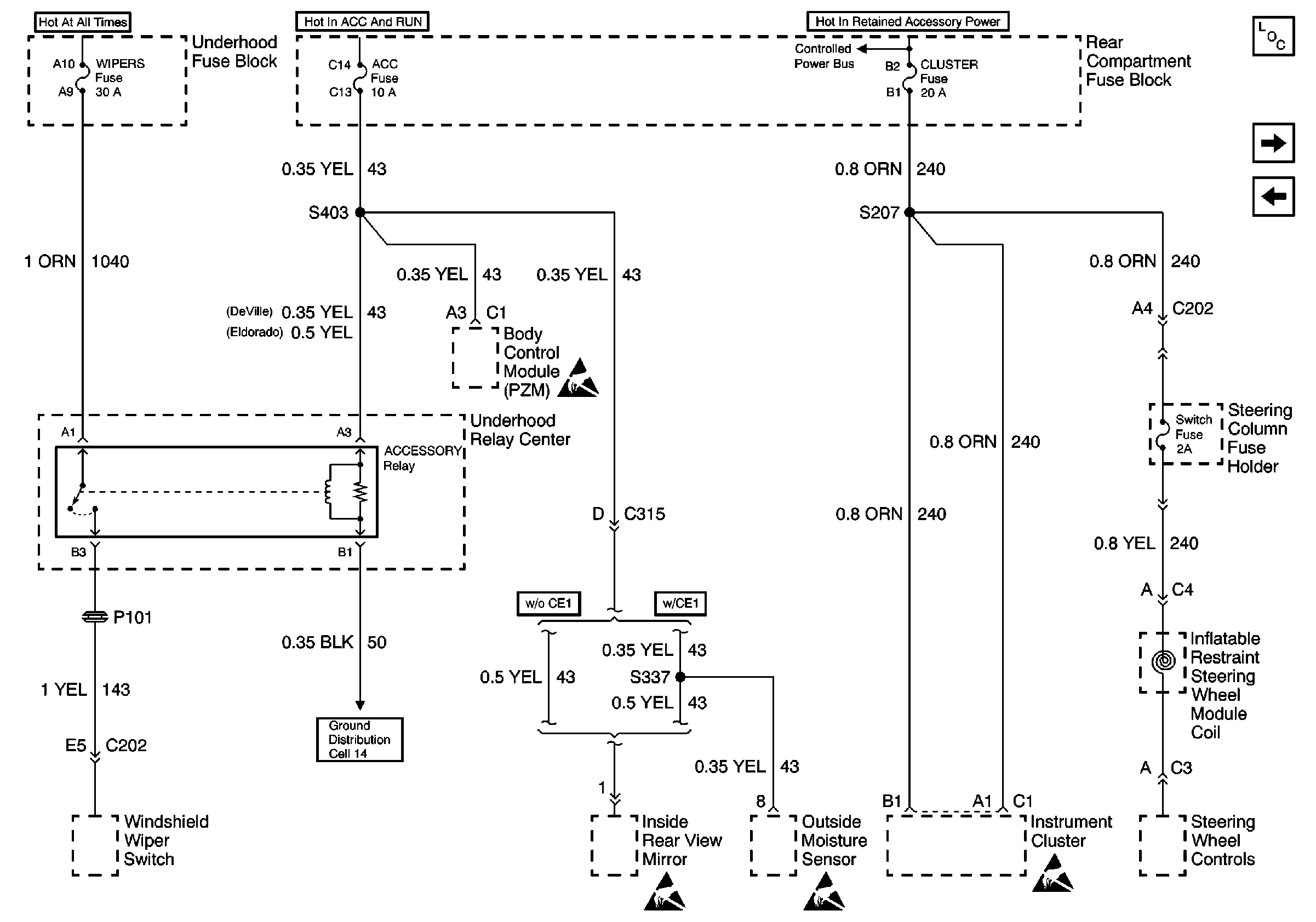
🢒 Cell 10: WIPERS, ACC, and CLUSTER Fuses
Cell 10: WIPERS, ACC, and CLUSTER Fuses
Cell 10: WIPERS, ACC, and CLUSTER Fuses
Power and Grounding Components
Cell 10: ELC Circuit Breaker and ELC Fuse
Cell 10: CONVENIENCE Fuse
Handling ESD Sensitive Parts Notice
Handling ESD Sensitive Parts Notice
Cell 14: G204
Cell 10: BODY 3 Fuse