GM Service Manual Online
For 1990-2009 cars only
Makes
🢒
Cadillac
🢒
1999
🢒
DeVille
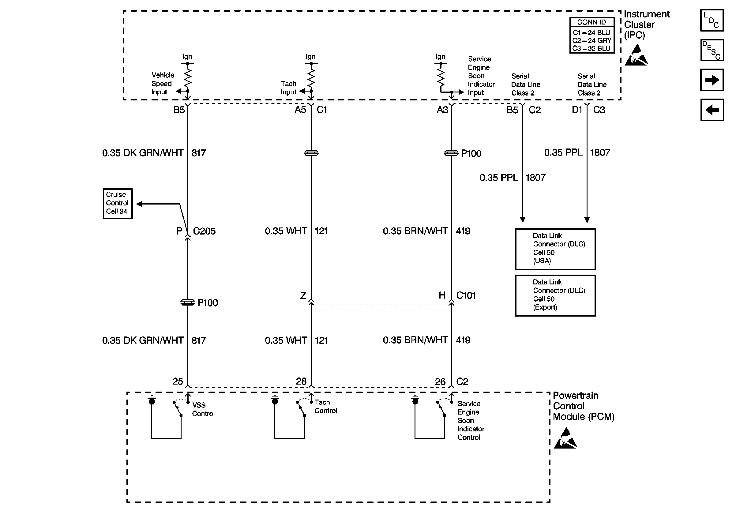
🢒 Cell 82: Instrument Cluster, PCM
Cell 82: Instrument Cluster, PCM
Cell 82: Instrument Cluster, PCM
Instrument Panel, Gages, and Console Component Views
Instrument Cluster Circuit Description
Cell 82: Instrument Cluster, Warning Switches
Cell 82: Instrument Cluster, Rear Compartment Fuse Block
Handling ESD Sensitive Parts Notice
Handling ESD Sensitive Parts Notice
Data Link Connector Schematics
Cruise Control Schematics
Instrument Panel, Gages, and Console Connector End Views
Data Link Connector Schematics