GM Service Manual Online
For 1990-2009 cars only

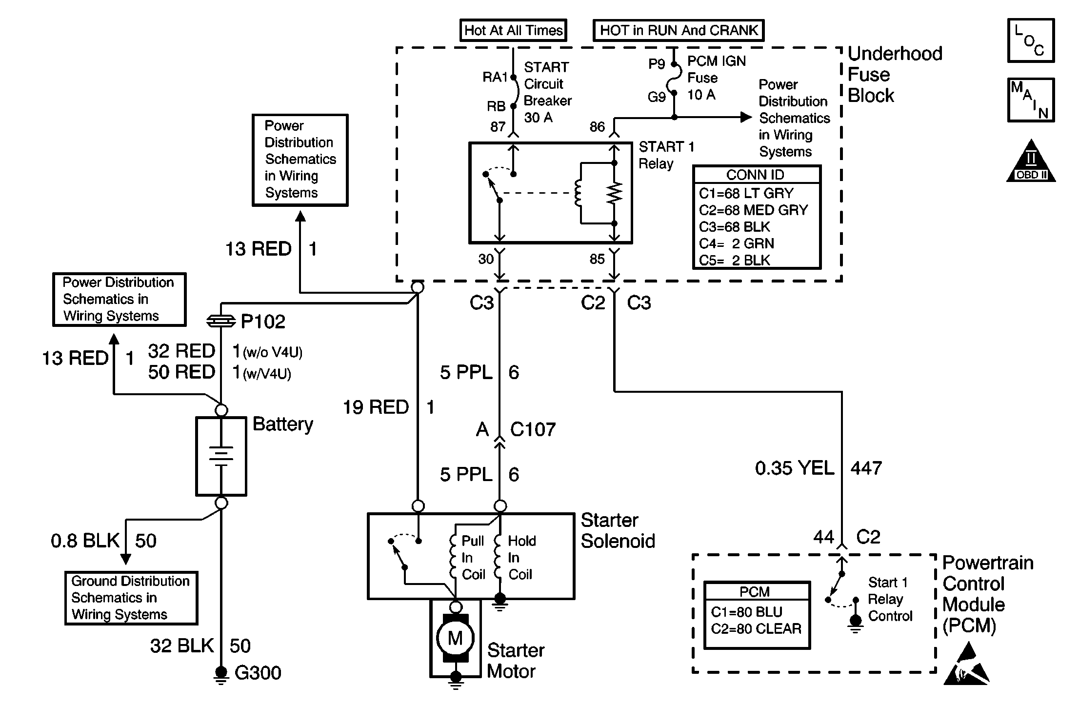
Object Number: 604215  Size: MF
Engine Controls Component Views
Starter Solenoid Controls
OBD II Symbol Description Notice
Handling ESD Sensitive Parts Notice

Circuit Description

The PCM uses output driver modules (ODMs) to control many functions of the engine and the transaxle. The ODMs supply the ground path for the PCM controlled device when the PCM commands the device ON. Each ODM is able to control several outputs. Unlike the quad driver modules (QDMs) used in earlier model years, the ODMs are able to diagnose each output circuit. The PCM monitors the ODMs for circuit conditions that are incorrect for the commanded state of the ODM. If the PCM detects an improper circuit condition in the ODM that controls the starter relay, DTC P0615 will set.

Conditions for Running the DTC

The system voltage is between 8-16 volts.

Conditions for Setting the DTC

    • The PCM detects an improper voltage level on the output circuit that controls the starter relay.
    • The condition exists for at least 2 seconds.

Action Taken When the DTC Sets

    • The PCM will not illuminate the malfunction indicator lamp (MIL).
    • The PCM will store the conditions present when the DTC set as Failure Records data only.

Conditions for Clearing the MIL/DTC

    • The history DTC will clear after 40 consecutive warm-up cycles have occurred without a malfunction.
    • The DTC can be cleared by using the scan tool Clear DTC Information function.

Diagnostic Aids

To determine whether an improper voltage level exists on the output circuit, the PCM compares the voltage level to the commanded state. For example, a failure condition exists if the PCM detects a low voltage level when the device is commanded OFF, or a high voltage level when the device is commanded ON.

Ignition system DTCs set with the ignition in the START position if the starter relay or the starter is inoperative. When the PCM enables starter operation, the PCM also initiates the diagnostic test routines for DTCs P0335, P0340, and P0385. If a condition exists which prevents the engine from cranking, the PCM will not receive signal input from the CKP and CMP sensors, and the DTCs will set.

If the condition is intermittent, refer to Intermittent Conditions in Symptoms.

Step

Action

Values

Yes

No

1

Did you perform the On-Board Diagnostic (OBD) System Check?

--

Go to Step 2

Go to Powertrain On Board Diagnostic (OBD) System Check

2

Important: If the engine cranks with the ignition OFF, Turn ON the ignition to stop the engine from cranking. After the vehicle stops cranking, remove the starter relay.

Does the engine crank with the ignition in the OFF position?

--

Go to Step 3

Go to Step 4

3

  1. Remove the starter relay.
  2. Disconnect the PCM connector.
  3. Turn ON the ignition, with the engine OFF.
  4. Test the starter relay control circuit for a short to voltage.
  5. If the condition is found, repair as necessary. Refer to Wiring Repairs in Wiring Systems.

Did you find and correct the condition?

--

Go to Step 14

Go to Step 13

4

Turn ON the ignition, with the engine OFF.

Does the engine crank and run with the ignition ON?

--

Go to Step 5

Go to Step 6

5

  1. Turn OFF the ignition.
  2. Remove the starter relay.
  3. Disconnect the PCM connector.
  4. Turn ON the ignition, with the engine OFF.
  5. Test the starter relay control circuit for a short to ground.
  6. If the condition is found, repair as necessary. Refer to Wiring Repairs in Wiring Systems.

Did you find and correct the condition?

--

Go to Step 14

Go to Step 13

6

Inspect the ignition supply fuse.

Is the fuse open?

--

Go to Step 7

Go to Step 8

7

  1. Turn OFF the ignition.
  2. Remove the starter relay.
  3. Disconnect the PCM connector.
  4. Test the following circuits for a short to ground.
  5. • Ignition supply to the starter relay.
    • Ignition supply to a shared component.
  6. If the condition is found, repair as necessary. Refer to Wiring Repairs in Wiring Systems.

Did you find and correct the condition?

--

Go to Step 14

Go to Step 13

8

  1. Turn OFF the ignition.
  2. Remove the starter relay.
  3. Turn ON the ignition, with the engine OFF.
  4. Test the ignition supply circuit for an open.
  5. If the condition is found, repair as necessary. Refer to Wiring Repairs in Wiring Systems.

Did you find and correct the condition?

--

Go to Step 14

Go to Step 9

9

  1. Leave the starter relay disconnected.
  2. Connect test lamp J 34142-B between the starter relay control circuit terminals in the relay connector.
  3. Observe the test lamp while turning the ignition to START.

Is the test lamp ON?

--

Go to Step 11

Go to Step 10

10

  1. Turn OFF the ignition .
  2. Disconnect the PCM connector.
  3. Test the starter relay control circuit for an open or poor connections at the PCM.
  4. If the condition is found, repair as necessary. Refer to Wiring Repairs in Wiring Systems.

Did you find and correct the condition?

--

Go to Step 14

Go to Step 13

11

  1. Test for poor connections at the starter relay connector.
  2. If the condition is found, repair as necessary. Refer to Wiring Repairs in Wiring Systems.

Did you find and correct the condition?

--

Go to Step 14

Go to Step 12

12

Replace the starter relay. Refer to Engine Controls Component Views .

Is the action complete?

--

Go to Step 14

--

13

Important: The replacement PCM must be programmed.

Replace the PCM. Refer to Powertrain Control Module Replacement/Programming .

Is the action complete?

--

Go to Step 14

--

14

  1. Review and record scan tool Fail Records data.
  2. Clear DTCs.
  3. Operate vehicle within Fail Records conditions as noted.
  4. Using a scan tool, monitor the Specific DTC Information for DTC P0615.

Does the scan tool indicate DTC P0615 passed?

--

System OK

Go to Step 2