GM Service Manual Online
For 1990-2009 cars only

DTC B1840 Driver Lumbar Up Switch CKT Malf w/o AM3


Object Number: 609764  Size: MF
Power Seat Systems Components
(A45 with AL2) PWR, GND, Switch, Motors, Sensors, and MSM
MEM T&T, RRLUM/ANT, and HTDST LF Fuses
Handling ESD Sensitive Parts Notice

Circuit Description

When the power seat switches are pressed they send a 12 volt signal to the memory seat module (MSM). The MSM commands the driver seat to move in response to the switch signals.

Conditions for Running the DTC

The MSM must be powered and can not have DTC B1327 -- Battery Voltage Low as an active DTC for this DTC to set.

Conditions for Setting the DTC

    • If a seat switch continues to be active for 30 seconds after a motor controlled by that switch reaches the end of its travel, the switch will be considered shorted and the MSM will set the DTC.
    • If a position sensor DTC is current and the associated switch is active for 30 continuous seconds, the switch will be considered shorted and the MSM will set a switch DTC.
    • A switch DTC will not set if DTC B1327 is current.

Action Taken When the DTC Sets

    • A motor output driven in response to a switch considered failed, is deactivated for both directions.
    • All memory recall commands are ignored.
    • The MSM will respond to any other switch signal that has not set a DTC.

Conditions for Clearing the DTC

The DTC automatically clears when the switch circuit setting the DTC is no longer active.

Test Description

The numbers below refer to the step numbers on the diagnostic table.

  1. Checks the existing state of the driver's seat lumbar switch by using the current state of the input parameter. If all of the seat switch parameters display active, possibly one of the seat switch input circuits is shorted to voltage.

  2. When the seat switch is disconnected, this step determines if the seat switch contacts are stuck closed, or if one of the switch input circuits is possibly shorted to voltage.

  3. Determines if the switch input circuit is shorted to battery positive voltage (B+).

  4. This step verifies the repair.

Step

Action

Value(s)

Yes

No

1

Did you perform the Diagnostic System Check - Power Seat Systems?

--

Go to Step  2

Go to Diagnostic System Check - Power Seat Systems

2

  1. Install a scan tool.
  2. Turn ON the ignition, with the engine OFF.
  3. With a scan tool, observe the Seat Lumbar Up parameter in the Memory Seat Module data list.

Does the scan tool display Inactive?

--

Go to Step  3

Go to Step  4

3

  1. With a scan tool, observe the Seat Lumbar Up parameter.
  2. Activate the lumbar UP switch.

Does the Seat Lumbar Up parameter change state?

--

Go to Testing for Intermittent Conditions and Poor Connections in Wiring Systems

Go to Step  4

4

  1. Turn OFF the ignition.
  2. Disconnect the lumbar switch harness connector.
  3. Turn ON the ignition, with the engine OFF.
  4. With a scan tool, observe all of the lumbar switch parameters in the Memory Seat Module data list.

Does the scan tool display Inactive for all of the parameters?

--

Go to Step  7

Go to Step  5

5

Test the switch input circuit that displays active for a short to voltage. Refer to Circuit Testing and Wiring Repairs in Wiring Systems.

Did you find and correct the condition?

--

Go to Step  10

Go to Step  6

6

Inspect for poor connections at the harness connector of the memory seat module. Refer to Testing for Intermittent Conditions and Poor Connections and Connector Repairs in Wiring Systems.

Did you find and correct the condition?

--

Go to Step  10

Go to Step  8

7

Inspect for poor connections at the harness connector of the lumbar switch. Refer to Testing for Intermittent Conditions and Poor Connections and Connector Repairs in Wiring Systems.

Did you find and correct the condition?

--

Go to Step  10

Go to Step  9

8

Replace the memory seat module. Refer to Memory Seat Control Module Replacement .

Did you complete the replacement?

--

Go to Step  10

--

9

Replace the lumbar switch. Refer to Power Seat Switch Replacement .

Did you complete the replacement?

--

Go to Step  10

--

10

  1. Use a scan tool in order to clear the DTCs.
  2. Operate the vehicle within the Conditions for Running the DTC as specified in the supporting text.

Does the DTC reset?

--

Go to Step  2

System OK

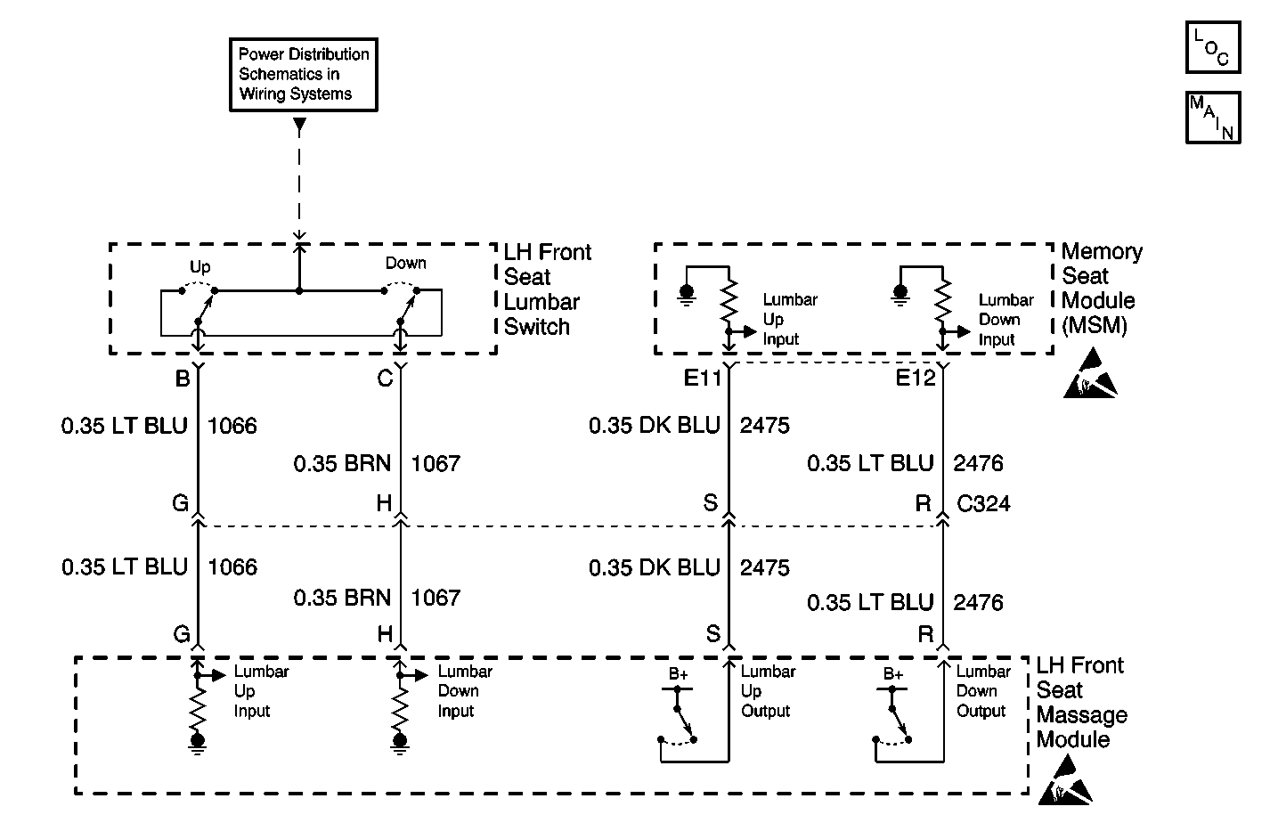
DTC B1840 Driver Lumbar Up Switch CKT Malf with AM3


Object Number: 609765  Size: MF
Power Seat Systems Components
(A45 with AM3) PWR, GND, Switch, Massage Module and MSM
MEM T&T, RRLUM/ANT, and HTDST LF Fuses
Handling ESD Sensitive Parts Notice
Handling ESD Sensitive Parts Notice

Circuit Description

The memory seat module (MSM) lumbar vertical switches are normally open. They apply 12 V to the massage module when they are pressed. This input is relayed by the massage module to the MSM, if the massage function is not presently requested. The MSM, in turn, will relay this input back to the massage module and the massage module then commands the seat to move in response of the switch input.

Conditions for Running the DTC

The MSM must be powered and can not have DTC B1327 -- Battery Voltage Low as an active DTC for this DTC to set.

Conditions for Setting the DTC

    • If a seat switch continues to be active for 30 seconds after a motor controlled by that switch reaches the end of its travel, the switch will be considered shorted and the MSM will set the DTC.
    • If a position sensor DTC is current and the associated switch is active for 30 continuous seconds, the switch will be considered shorted and the MSM will set a switch DTC.
    • A switch DTC will not set if DTC B1327 is current.

Action Taken When the DTC Sets

    • A motor output driven in response to a switch considered failed, is deactivated for both directions.
    • All memory recall commands are ignored.
    • The MSM will respond to any other switch signal that has not set a DTC.

Conditions for Clearing the DTC

The DTC automatically clears when the switch circuit setting the DTC is no longer active.

Test Description

The numbers below refer to the step numbers on the diagnostic table.

  1. Checks the existing state of the driver's seat lumbar switch by using the current state of the input parameter. If all of the seat switch parameters display active, possibly one of the seat switch input circuits is shorted to voltage.

  2. When the seat switch is disconnected, this step determines if the seat switch contacts are stuck closed, or if one of the switch input circuits is possibly shorted to voltage.

  3. Determines if there is a short to battery positive voltage (B+) in the switch input circuit.

  4. Determines if there is a short to battery positive voltage (B+) in the lumbar up output circuit of the massage module.

  5. This step verifies the repair.

Step

Action

Value(s)

Yes

No

1

Did you perform the Diagnostic System Check - Power Seat Systems?

--

Go to Step  2

Go to Diagnostic System Check - Power Seat Systems

2

  1. Install a scan tool.
  2. Turn ON the ignition, with the engine OFF.
  3. With a scan tool, observe the Seat Lumbar Up parameter in the Memory Seat Module (MSM) data list.

Does the scan tool display Inactive?

--

Go to Step  3

Go to Step  4

3

  1. With a scan tool, observe the Seat Lumbar Up parameter.
  2. Activate the lumbar UP switch.

Does the Seat Lumbar Up parameter change state?

--

Go to Testing for Intermittent Conditions and Poor Connections in Wiring Systems

Go to Step  4

4

  1. Turn OFF the ignition.
  2. Disconnect the lumbar switch harness connector.
  3. Turn ON the ignition, with the engine OFF.
  4. With a scan tool, observe all of the lumbar switch parameters in the Memory Seat Module data list.

Does the scan tool display Inactive for all of the parameters?

--

Go to Step 10

Go to Step  5

5

Test the switch input circuit that displays active for a short to voltage. Refer to Circuit Testing and Wiring Repairs in Wiring Systems.

Did you find and correct the condition?

--

Go to Step  14

Go to Step  6

6

  1. Disconnect the MSM connector C2.
  2. Test the lumbar up output circuit from the massage module for voltage. Refer to Circuit Testing and Wiring Repairs in Wiring Systems.

Does the lumbar up output circuit exhibit voltage?

--

Go to Step  7

Go to Step  9

7

Test the lumbar up output circuit between the MSM and the massage module for a short to voltage. Refer to Circuit Testing and Wiring Repairs in Wiring Systems.

Did you find and correct the condition?

--

Go to Step  14

Go to Step  8

8

Inspect for poor connections at the harness connector of the massage module. Refer to Testing for Intermittent Conditions and Poor Connections and Connector Repairs in Wiring Systems.

Did you find and correct the condition?

--

Go to Step  14

Go to Step  12

9

Inspect for poor connections at the harness connector of the MSM. Refer to Testing for Intermittent Conditions and Poor Connections and Connector Repairs in Wiring Systems.

Did you find and correct the condition?

--

Go to Step 8

Go to Step 11

10

Inspect for poor connections at the harness connector of the lumbar switch. Refer to Testing for Intermittent Conditions and Poor Connections and Connector Repairs in Wiring Systems.

Did you find and correct the condition?

--

Go to Step  14

Go to Step 13

11

Replace the memory seat module. Refer to Memory Seat Control Module Replacement .

Did you complete the replacement?

--

Go to Step  14

--

12

Replace the massage module. Refer to Massaging Lumbar Control Module Replacement .

Did you complete the replacement?

--

Go to Step  14

--

13

Replace the lumbar switch. Refer to Power Seat Switch Replacement .

Did you complete the replacement?

--

Go to Step  14

--

14

  1. Use a scan tool in order to clear the DTCs.
  2. Operate the vehicle within the Conditions for Running the DTC as specified in the supporting text.

Does the DTC reset?

--

Go to Step  2

System OK