GM Service Manual Online
For 1990-2009 cars only
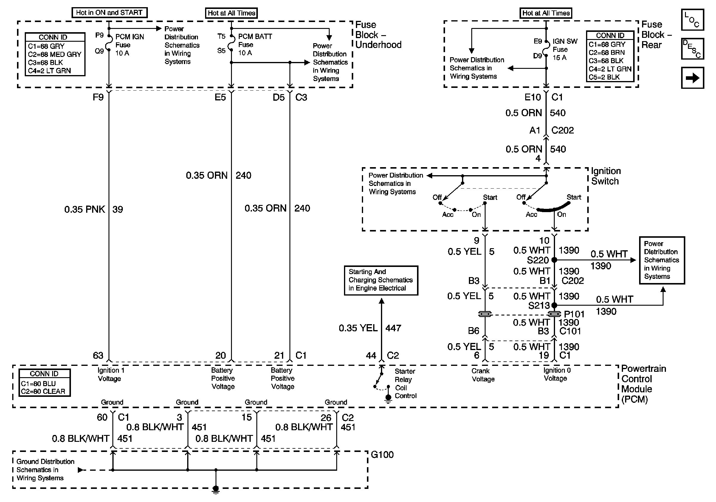
Figure 1:

PCM Power and Grounds


Object Number: 662016  Size: FS
Master Electrical Component List
Electronic Component Description
ABS/TCC Switch and Transaxle Solenoids
Ignition Switch
RR BLO, RR DR MDL, HVAC, Stop LP, IGN SW, and TSIG/HAZ Fuses
Ignition Switch
Ignition Switch
Starter Solenoid Controls
ALDL, PCM BATT, IP Fuses
DRL, FOG, AC CLU, ACCY, Wiper, Headlamps
G100
Figure 2:

ABS/TCC Switch and Transaxle Solenoids


Object Number: 665515  Size: FS
Master Electrical Component List
Electronic Component Description
Automatic Transaxle - Sensors
PCM Power and Grounds
Oxy Sen, CR Cont, MDL Coil, Trans Fuses
Cruise Control Switches and Module Power and Ground
SIR, Vent Sol, and IGN 1 Fuses
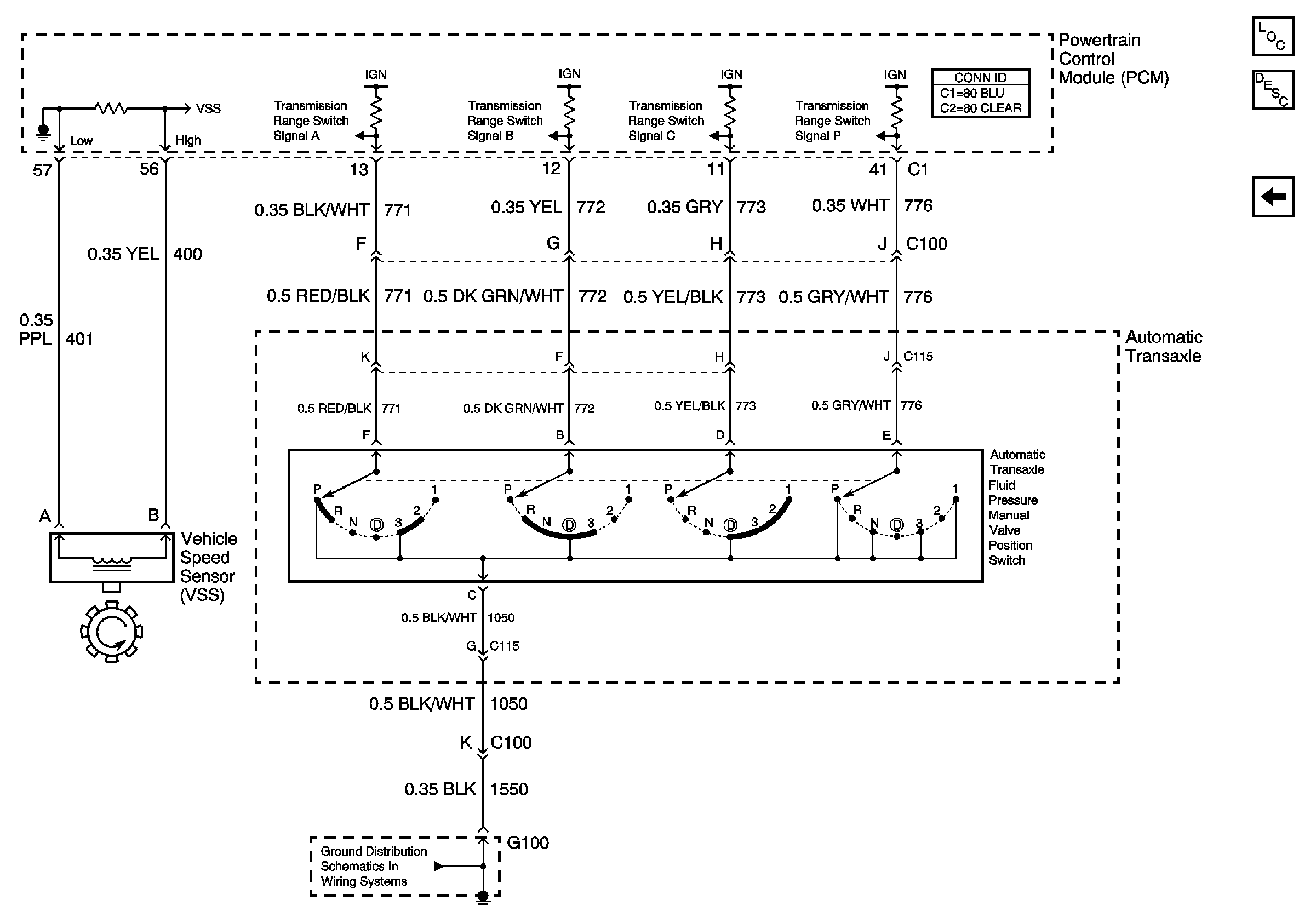
Figure 3:

Automatic Transaxle -- Sensors


Object Number: 662021  Size: FS
Master Electrical Component List
Automatic Transmission Electrical Connector Description
IMS Switch and VSS
ABS/TCC Switch and Transaxle Solenoids
Figure 4:

IMS Switch and VSS


Object Number: 661997  Size: FS
Master Electrical Component List
Powertrain Control Module Description
Automatic Transaxle - Sensors
G100