GM Service Manual Online
For 1990-2009 cars only
Makes
🢒
Cadillac
🢒
2001
🢒
DeVille
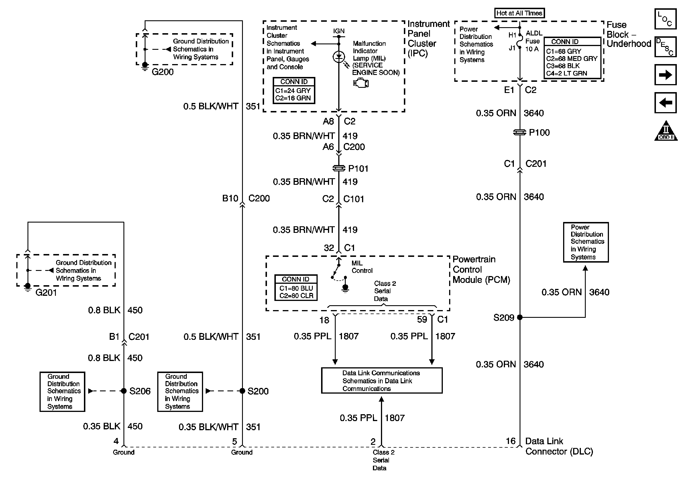
🢒 MIL Control and DLC
MIL Control and DLC
MIL Control and DLC
Master Electrical Component List
Electronic Ignition (EI) System Description
Ignition Control (IC) Module Front Bank
PCM Power and Ground
OBD II Symbol Description Notice
G201 IP Harness and Console Harness
G201 IP Harness and Console Harness
G200
G200
Brakes and Engine Indicators
Class 2 Serial Data (1 of 3)
ALDL, PCM BATT, IP Fuses
ALDL, PCM BATT, IP Fuses