GM Service Manual Online
For 1990-2009 cars only
Makes
🢒
Cadillac
🢒
2001
🢒
DeVille
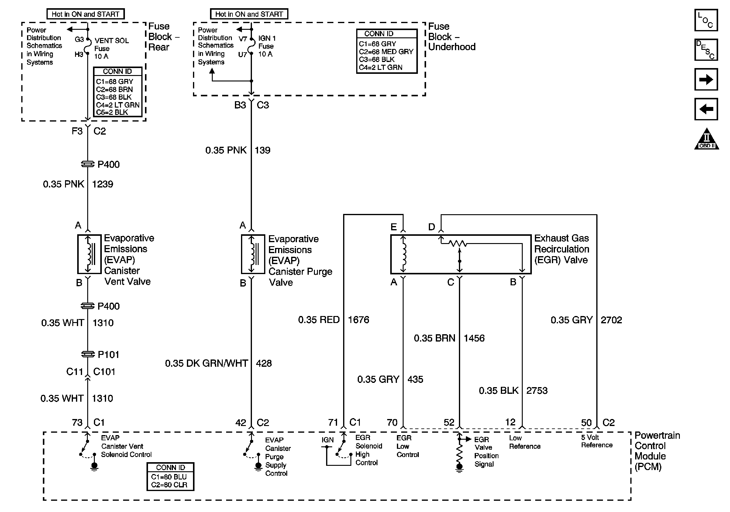
🢒 EVAP Valves and EGR Valve
EVAP Valves and EGR Valve
EVAP Valves and EGR Valve
Master Electrical Component List
Evaporative Emission Control System Description
MAF/IAT Sensors and IVA Valve
Heated Oxygen Sensors
OBD II Symbol Description Notice
SIR, Vent Sol, and IGN 1 Fuses
Start Circuit Breaker, PCM, IGN and IGN 1 Fuses