GM Service Manual Online
For 1990-2009 cars only
Makes
🢒
Cadillac
🢒
2001
🢒
DeVille
🢒 Gauges
Gauges
Gauges
Master Electrical Component List
Instrument Cluster Description and Operation
Brakes and Engine Indicators
Power, Ground, Class 2 and 54V, VF Display Supply
Class 2 Serial Data (1 of 3)
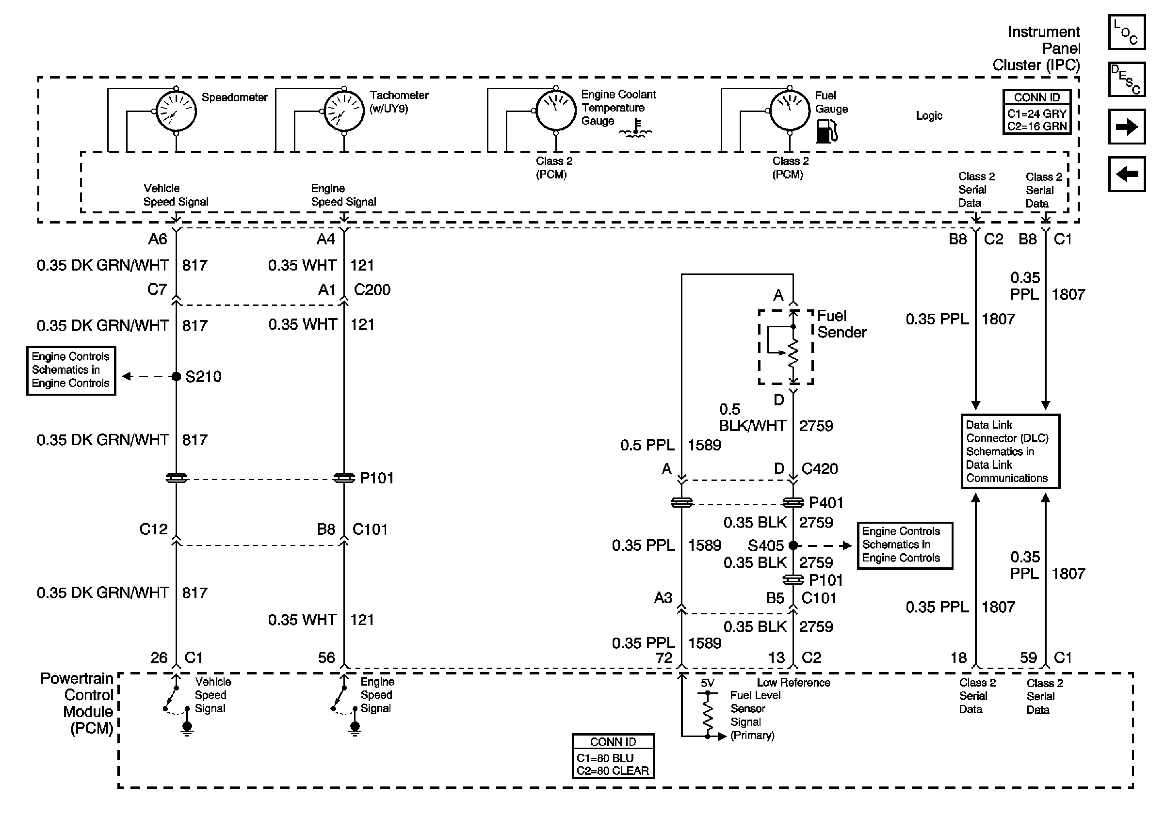
Engine and Fuel Tank Sensors
Cruise Control and Vehicle Speed Signal