GM Service Manual Online
For 1990-2009 cars only
Makes
🢒
Cadillac
🢒
2001
🢒
DeVille
🢒 Heated Mirrors
Heated Mirrors
Heated Mirrors
Master Electrical Component List
Outside Mirror Description and Operation
Express Folding Mirrors (Japan)
Right Power Mirror w/Memory (A45)
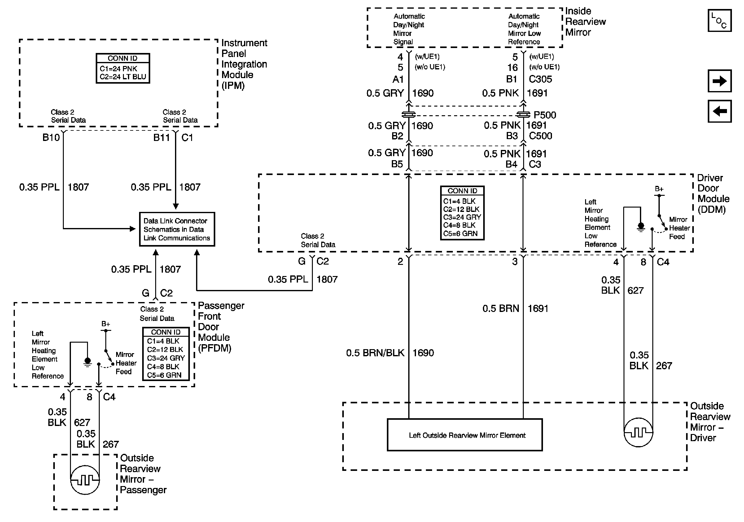
Class 2 Serial Data (2 of 3)