GM Service Manual Online
For 1990-2009 cars only
Makes
🢒
Cadillac
🢒
2001
🢒
DeVille
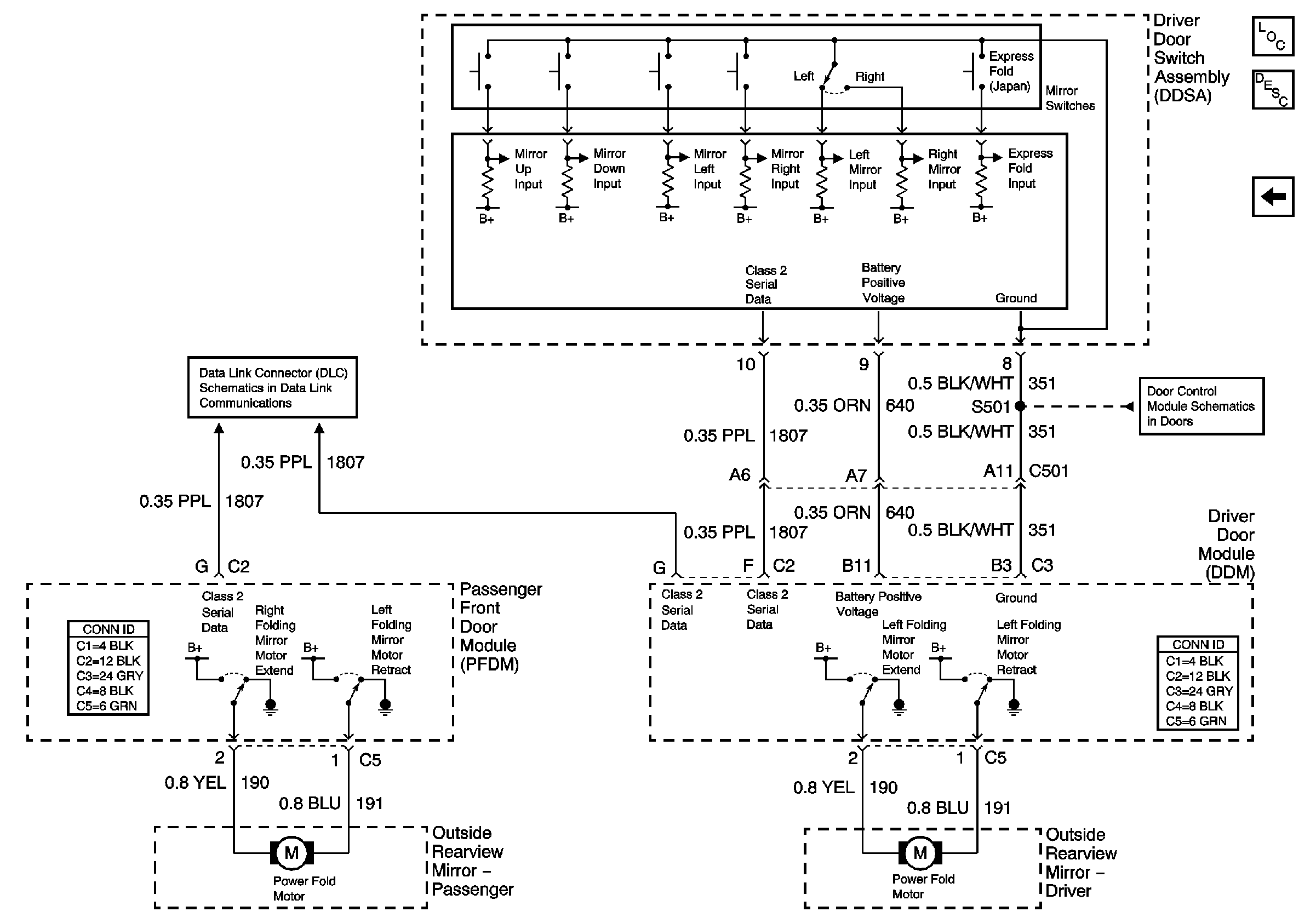
🢒 Express Folding Mirrors (Japan)
Express Folding Mirrors (Japan)
Express Folding Mirrors (Japan)
Master Electrical Component List
Outside Mirror Description and Operation
Heated Mirrors
Driver Door Switch Assembly (DDSA) Power, Ground Inputs and Outputs
Class 2 Serial Data (2 of 3)