GM Service Manual Online
For 1990-2009 cars only
Makes
🢒
Cadillac
🢒
2002
🢒
DeVille
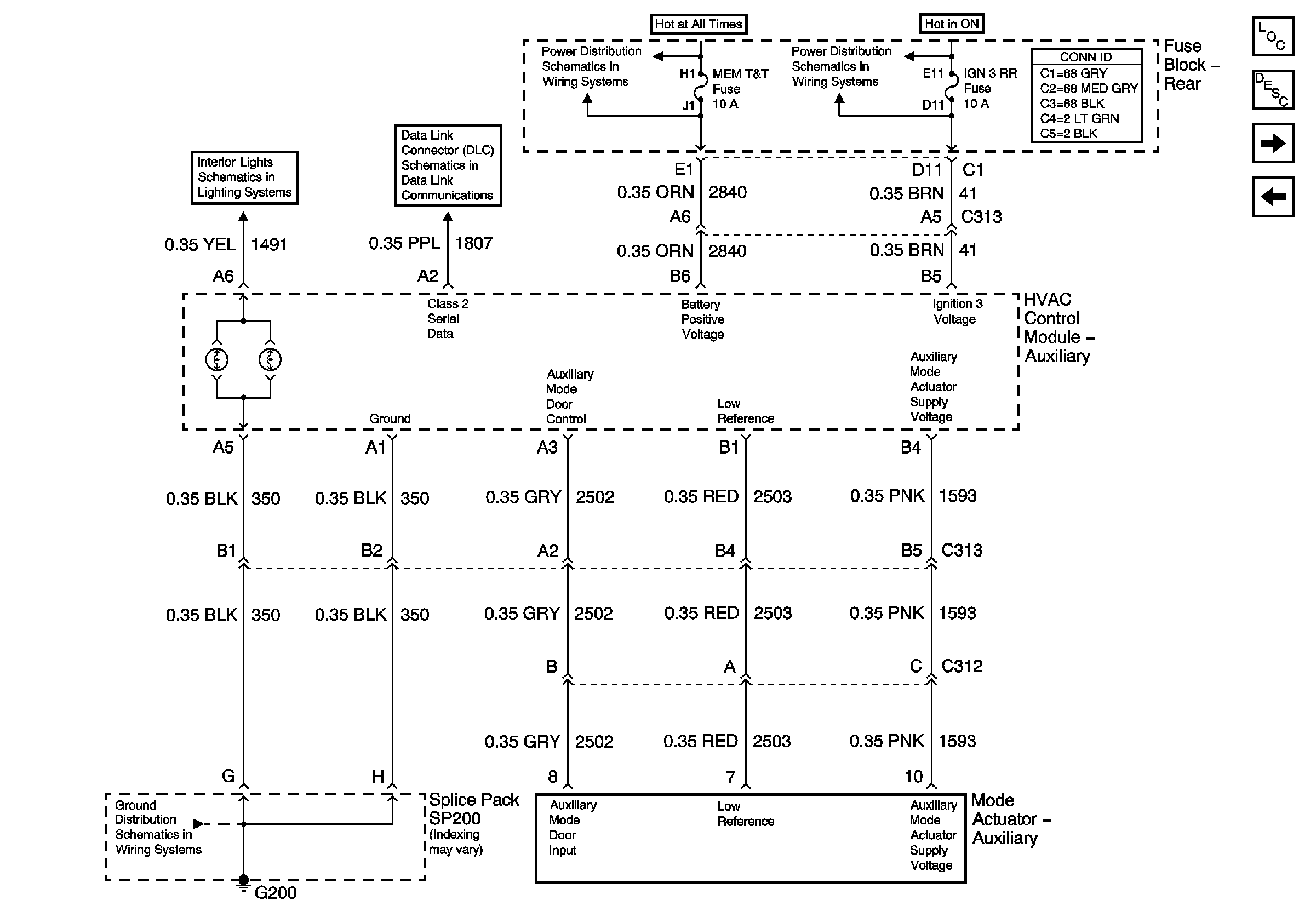
🢒 Rear Actuator-DeVille/DHS
Rear Actuator-DeVille/DHS
Rear Actuator-DeVille/DHS
Master Electrical Component List
Air Temperature Description and Operation
Rear Actuator-DTS
HVAC Air Delivery/Temperature Control Sensors
G200
Console Dimming
Class 2 Serial Data (1 of 3)
MEM TT, RRLUM/ANT, and HTDST LF Fuses
IGN 3 Fuses